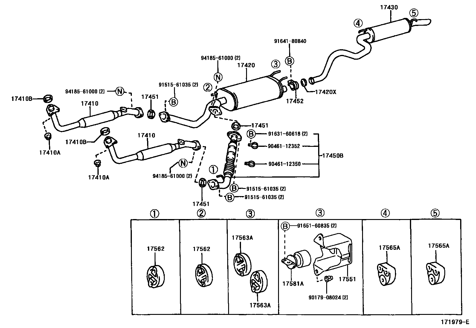
EXHAUST PIPE

17410PIPE ASSY, EXHAUST, FRONT
*115=TOYOTA/98-01/N,SAUDI ARABIA SPEC
*114=TOYOTA/HA2/Y,TYPE C:REFER TO ILLUSTRATION
TYPE B:REFER TO ILLUSTRATION
17410ANUT, EXHAUST PIPE SET STUD BOLT
17410BGASKET, EXHAUST PIPE
17420PIPE ASSY, EXHAUST, CENTER
TYPE B:REFER TO ILLUSTRATION
TYPE A OR TYPE C:REFER TO ILLUSTRATION
TYPE B:REFER TO ILLUSTRATION
17420XGASKET, EXHAUST PIPE, CENTER
17430PIPE ASSY, EXHAUST, TAIL
17450BPIPE ASSY, EXHAUST, FRONT NO.2
TYPE A OR TYPE C:REFER TO ILLUSTRATION
TYPE B:REFER TO ILLUSTRATION
17451GASKET, EXHAUST PIPE
17452CLAMP, EXHAUST PIPE
17551INSULATOR, EXHAUST PIPE HEAT, NO.1
17562SUPPORT, EXHAUST PIPE, NO.2
TYPE B OR TYPE C:REFER TO ILLUSTRATION,NO.1
SAUDI ARABIA SPEC,NO.1
SAUDI ARABIA SPEC,NO.2
17563ASUPPORT, EXHAUST PIPE, NO.3
17565ASUPPORT, EXHAUST PIPE, NO.4
17581ADAMPER, EXHAUST PIPE
9017908024
main90179-08024
9046112350
main90461-12350
9046112352
main90461-12352
9151561035
main91515-61035
9163160618
main91631-60618
9164180840
main91641-80840
9165160835
main91651-60835
9418561000
main94185-61000
22 parts on this diagram · 4 diagrams in section