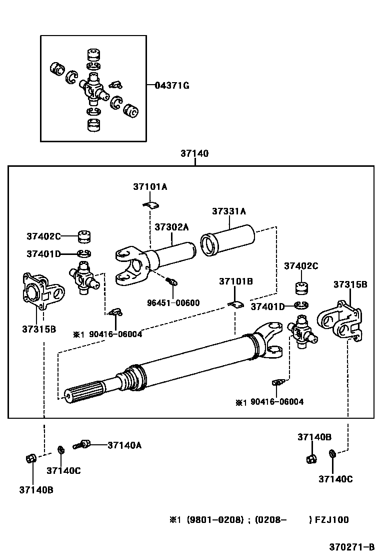
04371GSPIDER KIT, FRONT PROPELLER SHAFT UNIVERSAL JOINT
main04371-35060×2iFZJ105,HZJ105;FZJ100,HDJ100,UZJ100..5F199912-200008 main04371-35061×2iFZJ105,HZJ105;FZJ100,HDJ100,UZJ100..5F200008-200208 main04371-60040×2iFZJ105,HZJ105;FZJ100,HDJ100,UZJ100..5F199801-199912 main04371-60041×2iFZJ105,HZJ105;FZJ100,HDJ100,UZJ100..5F200008-200208 RED PAINTED
main04371-60050×2iFZJ100,HDJ100,UZJ100..4FC199801-200008 main04371-60060×2iFZJ10#..STD;HZJ105..RHD..STD200208-200505 37101APIECE, BALANCE, NO.1 (FOR PROPELLER SHAFT)
main90937-01184iFZJ10#,HDJ100,HZJ105,UZJ100..ARL,GCC,GEN200505 4G,T=1.6
main90937-01191iFZJ105..GX;FZJ100,HDJ100,HZJ105;FZJ105,UZJ100..LHD..(STD,VX)199801-200208 8G,T=1.6
main90937-01192iFZJ105..GX;FZJ100,HDJ100,HZJ105;FZJ105,UZJ100..LHD..(STD,VX)199801-200208 12G,T=4.5
main90937-01193iFZJ105..GX;FZJ100,HDJ100,HZJ105;FZJ105,UZJ100..LHD..(STD,VX)199801-200208 16G,T=4.5
main90937-01194iFZJ100..CHI;UZJ100..5FC..CHI200309-200506 20G,T=4.5
main90937-01198iFZJ100..CHI;UZJ100..5FC..CHI200309-200506 24G,T=4.5,L=25.1
main90937-01199iFZJ10#,HDJ100,HZJ105,UZJ100..ARL,GCC,GEN200208-200505 28G,T=6,L=22.7
main90937-01200iFZJ105..GX;FZJ100,HDJ100,HZJ105;FZJ105,UZJ100..LHD..(STD,VX)199801-200208 32G,T=6,L=24.3
main90937-01268iFZJ100..CHI;UZJ100..5FC..CHI200309-200506 36G,L=23.1,T=8.0
main90937-01269iFZJ100..CHI;UZJ100..5FC..CHI200309-200506 40G,L=25.6
main90937-01270iFZJ10#,HDJ100,HZJ105,UZJ100..ARL,GCC,GEN200208-200505 44G,L=22.6
main90937-01271iFZJ10#,HDJ100,HZJ105,UZJ100..ARL,GCC,GEN200208-200505 48G,L=24.6
main90937-01272iFZJ10#,HDJ100,HZJ105,UZJ100..ARL,GCC,GEN200505 52G,L=26.7
main90937-01273iFZJ100..CHI;UZJ100..5FC..CHI200309-200506 56G,L=28.7
37101BPIECE, BALANCE, NO.2 (FOR PROPELLER SHAFT)
main90937-01132iFZJ105,UZJ100..(STD,VX)..ARL199801-200008 10G,L=20.7
main90937-01140iFZJ105,UZJ100..(STD,VX)..ARL199801-200008 30G,L=62.2
main90937-01147iFZJ105,UZJ100..(STD,VX)..ARL199801-200008 2G,T=2.0
main90937-01149iFZJ105..GX;FZJ100,HDJ100,HZJ105;FZJ105,UZJ100..LHD..(STD,VX)199801-200208 6G,L=12.4
main90937-01151iFZJ105..GX;FZJ100,HDJ100,HZJ105;FZJ105,UZJ100..LHD..(STD,VX)199801-200208 12G,L=24.9
main90937-01152iFZJ105..GX;FZJ100,HDJ100,HZJ105;FZJ105,UZJ100..LHD..(STD,VX)199801-200208 14G,L=29.0
main90937-01153iFZJ105,UZJ100..(STD,VX)..ARL199801-200008 16G,L=33.2
main90937-01155iFZJ10#,HDJ100,HZJ105,UZJ100..ARL,GCC,GEN200505 22G,L=45.6
main90937-01156iFZJ10#,HDJ100,HZJ105,UZJ100..ARL,GCC,GEN200208-200505 24G,L=49.7
main90937-01157iFZJ105,UZJ100..(STD,VX)..ARL199801-200008 26G,L=53.9
main90937-01158iFZJ105,UZJ100..(STD,VX)..ARL199801-200008 28G,L=58.1
main90937-01293iUZJ100..LHD..4FC;FZJ100,HDJ100..4FC199801-200208 8G
37140SHAFT ASSY, PROPELLER, FRONT
main37140-60490iFZJ100,HDJ100..5F..(ARL,GCC,GEN)200208-200505 37140ABOLT (F0R FRONT PROPELLER SHAFT)
main90105-10424×4iFZJ10#,HDJ100,HZJ105,UZJ100..ARL,GCC,GEN200208-200505 37140BNUT (F0R FRONT PROPELLER SHAFT)
main90178-10006×8iFZJ105,UZJ100..(STD,VX)..ARL199801-200008 37140CWASHER (F0R FRONT PROPELLER SHAFT)
main90560-10101×8iFZJ10#,HDJ100,HZJ105,UZJ100..ARL,GCC,GEN200505 37302AYOKE SUB-ASSY, FR PROPELLER SHAFT UNIVERSAL J0INT SLEEVE
main37302-60080iFZJ100..5F..CHI;UZJ100..5FC..CHI200309-200506 37315BY0KE, FRONT PROPELLER SHAFT UNIVERSAL J0INT FLANGE
main37315-35040×2iFZJ105,HZJ105;FZJ100,HDJ100,UZJ100..5F199801-200006 main37315-35070×2iFZJ10#,HDJ100,HZJ105,UZJ100..(5F,5FC)..(ARL,GCC,GEN)200505 37331ACOVER SUB-ASSY, FRONT PROPELLER SHAFT SLIDING SHAFT DUST
main37305-60030iFZJ105,UZJ100..(STD,VX)..ARL199801-200008 37401DRING, SNAP (FOR FRONT PROPELLER SHAFT JOINT SPIDER BEARING)
main90520-25041×8iFZJ105,UZJ100..(STD,VX)..ARL199801-200008 T=2.33,NO MARK
main90520-25042×8iFZJ10#,HDJ100,HZJ105,UZJ100..ARL,GCC,GEN200208-200505 T=2.35,BROWN
main90520-25043×8iFZJ10#,HDJ100,HZJ105,UZJ100..ARL,GCC,GEN200208-200505 T=2.37,BLUE
main90520-25044×4iFZJ100..CHI;UZJ100..5FC..CHI200309-200506 T=2.39,MARK 6
main90520-25045×4iFZJ100..CHI;UZJ100..5FC..CHI200309-200506 T=2.41,MARK 7
main90520-25046×8iFZJ10#,HDJ100,HZJ105,UZJ100..ARL,GCC,GEN200505 T=2.43,MARK 8
main90520-25047×8iFZJ10#,HDJ100,HZJ105,UZJ100..ARL,GCC,GEN200208-200505 T=2.45,MARK 9
main90520-25048×8iFZJ105..GX;FZJ100,HDJ100,HZJ105;FZJ105,UZJ100..LHD..(STD,VX)199801-200208 T=2.47,MARK 10
main90520-25049×8iFZJ105..GX;FZJ100,HDJ100,HZJ105;FZJ105,UZJ100..LHD..(STD,VX)199912-200208 T=2.49,MARK A
main90520-25051×8iFZJ105..GX;FZJ100,HDJ100,HZJ105;FZJ105,UZJ100..LHD..(STD,VX)199912-200208 T=2.53,MARK C
main90520-25052×8iFZJ105..GX;FZJ100,HDJ100,HZJ105;FZJ105,UZJ100..LHD..(STD,VX)199912-200208 T=2.55,MARK D
main90520-25053×8iFZJ10#,HDJ100,HZJ105,UZJ100..ARL,GCC,GEN200208-200505 T=2.57,MARK E
main90520-25056×8iHZJ105;FZJ105..GX;FZJ105..STD..GEN;FZJ100,HDJ100,UZJ100..5F200006-200208 T=2.23,MARK F
main90520-25057×8iHZJ105;FZJ105..GX;FZJ105..STD..GEN;FZJ100,HDJ100,UZJ100..5F200006-200208 T=2.25,MARK G
main90520-25058×8iFZJ10#,HDJ100,HZJ105,UZJ100..ARL,GCC,GEN200505 T=2.27,MARK H
37402CBEARING, FRONT PROPELLER SHAFT UNIVERSAL JOINT SPIDER
main37402-35050×8iFZJ105,HZJ105;FZJ100,HDJ100,UZJ100..5F199801-200208 main37402-35060×8iFZJ105,HZJ105;FZJ100,HDJ100,UZJ100..5F199801-200208 RED PAINTED