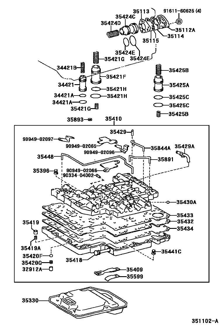
VALVE BODY & OIL STRAINER (ATM)

32912ACAGE, CHECK VALVE(FOR VALVE BODY)
34421PISTON, OVERDRIVE BRAKE ACCUMULATOR
34421ARING, O (FOR OVERDRIVE BRAKE ACCUMULATOR PISTON)
UPPER
LOWER
34421BSPRING (FOR OVERDRIVE BRAKE ACCUMULATOR PISTON)
35112ACOVER, FRONT CLUTCH ACCUMULATOR
35113GASKET, FRONT CLUTCH ACCUMLATOR, NO.2
35114GASKET, FRONT CLUTCH ACCUMLATOR, NO.1
35115PLATE, FRONT CLUTCH ACCUMULATOR
35330STRAINER ASSY, VALVE BODY OIL
35396STRAINER, THROTTLE OIL
35409SPRING SUB-ASSY, MANUAL DETENT
35410BODY ASSY, TRANSMISSION VALVE
35418VALVE, MANUAL
35419VALVE, CHECK, NO.1
35419ASPRING, COMPRESSION (FOR CHECK VALVE)
35420FBALL, CHECK, NO.1
35420GSPRING, BARREL SHAPED
35421FPISTON, ACCUMULATOR, NO.2
35421GSPRING, COMPRESSION (FOR ACCUMULATOR PISTON NO.2)
LOWER
UPPER
LOWER
UPPER
UPPER
UPPER
LOWER
35421HRING (FOR ACCUMULATOR PISTON NO.2)
UPPER
LOWER
35424CPISTON, C-1 ACCUMULATOR
35424DSPRING, COMPRESSION (FOR C-1 ACCUMULATOR PISTON)
INNER
OUTER
35424ERING, O (FOR C-1 ACCUMULATOR PISTON)
LOWER
UPPER
UPPER
UPPER
35425APISTON, C-2 ACCUMULATOR
35425BSPRING, COMPRESSION (FOR C-2 ACCUMULATOR PISTON)
LOWER
LOWER
LOWER
LOWER
UPPER
UPPER
UPPER
UPPER
UPPER
35425CRING, O (FOR C-2 ACCUMULATOR PISTON)
UPPER
UPPER
LOWER
LOWER
35429TUBE, LINE PRESSURE
35429ATUBE, LINE PRESSURE
35430ABALL (FOR REAR UPPER VALVE BODY)
OD=6.35
35432PLATE, VALVE BODY, NO.1
35433GASKET, VALVE BODY, NO.1
35434GASKET, VALVE BODY, NO.2
35441VALVE, LOW COAST SHIFT CONTROL
35441CSTRAINER, SOLENOID OIL
35448TUBE, 2-3 SHIFT VALVE APPLY
35599COVER, MANUAL DETENT SPRING
35844ATUBE, ACCUMULATOR BACK PRESSURE, NO.1
35891TUBE, OVERDRIVE DIRECT CLUTCH
35893GASKET, CENTER SUPPORT APPLY
main35893-36010×4iFZJ10#,HDJ100,HZJ105..4FC..(DSL2,EFI,TD2); HDJ100,UZJ100..4FC..(EFI,TDEFI)199801-200208
9033404002
main90334-04002
9094902065
main90949-02065
9094902066
main90949-02066
9094902096
main90949-02096
9094902097
main90949-02097
9161160625
main91611-60625
45 parts on this diagram · 10 diagrams in section