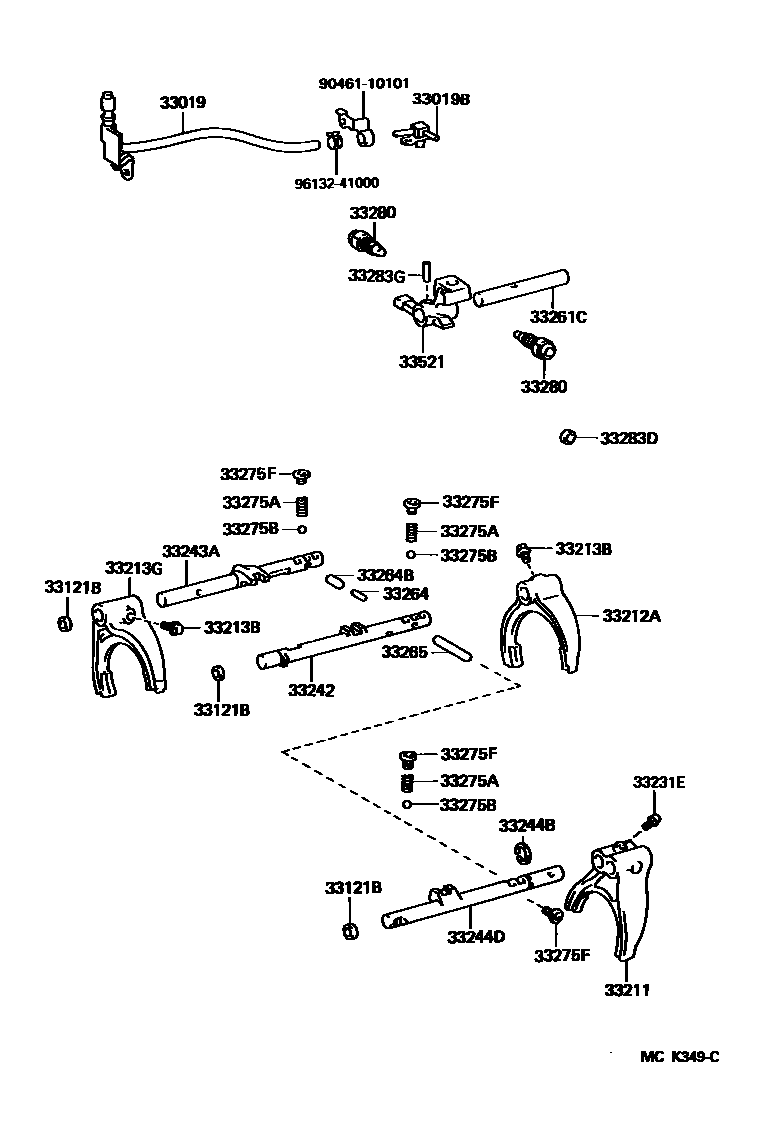
GEAR SHIFT FORK & LEVER SHAFT (MTM)

33019BREATHER SUB-ASSY, TRANSMISSION
33019BWAY(FOR TRANSMISSION BREATHER HOSE)
33121BPLUG, EXPANSION OR TIGHT(FOR TRANSMISSION CASE COVER)
33211FORK, REVERSE SHIFT
TYPE A:REFER TO ILLUSTRATION
TYPE B:REFER TO ILLUSTRATION
33212AFORK, GEAR SHIFT, NO.1
33213BBOLT(FOR SHIFT FORK SET)
33213GFORK, GEAR SHIFT, NO.2
33231HEAD, REVERSE SHIFT
TYPE A:REFER TO ILLUSTRATION
TYPE B:REFER TO ILLUSTRATION
33231EBOLT(FOR REVERSE SHIFT HEAD)
33242SHAFT, GEAR SHIFT FORK, NO.1
TYPE B:REFER TO ILLUSTRATION
main33242-60080iHDJ80..LHD..5F;FZJ80..RHD..STD;HZJ80..LHD..STD;HZJ80..5F..(GX,VX);FZJ80..5F..SOB..(GX,VX);FZJ80,HZJ80..STD..(ARL,GCC);FZJ80,HDJ80..5F..LUB..(CBR,EFI,TD4)199608-199909
TYPE A:REFER TO ILLUSTRATION
33243ASHAFT, GEAR SHIFT FORK, NO.2
TYPE A:REFER TO ILLUSTRATION
TYPE B:REFER TO ILLUSTRATION
33244BRING, SHAFT SNAP (FOR SHIFT FORK SHAFT)
33244DSHAFT, GEAR SHIFT FORK, NO.3
main33244-60050iHDJ80..LHD..5F;FZJ80..RHD..STD;HZJ80..LHD..STD;HZJ80..5F..(GX,VX);FZJ80..5F..SOB..(GX,VX);FZJ80,HZJ80..STD..(ARL,GCC);FZJ80..5F..LUB..(GX,VX)..EFI;FZJ80,HDJ80..5F..199608-199909
33261CSHAFT, SHIFT & SELECT LEVER
33264PIN, OR BALL, SHIFT INTERLOCK, NO.1
L=15.45
33264BROLLER, NO.1 (FOR SHIFT INTERLOCK )
L=13.6,OD=9.5
33265PIN, SHIFT INTERLOCK, NO.2
L=56.95,OD=9.53
33275ASPRING, COMPRESSION (FOR SHIFT DETENT BALL LOW SIDE)
L=26.3
L=29.3,TYPE B:REFER TO ILLUSTRATION
33275BBALL, SHAFT DETENT
33275FPLUG (FOR SHIFT DETENT BALL)
33280PIN ASSY, REVERSE RESTRICT
RH
RH
LH
LH
33283PIN, REVERSE RESTRICT, NO.1
33283DPLUG (FOR REVERSE RESTRICT PIN)
33283GPIN, SLOTTED SPRING (FOR REVERSE RESTRICT PIN)
33521HOUSING, SHIFT LEVER
TYPE A:REFER TO ILLUSTRATION
TYPE B:REFER TO ILLUSTRATION
9046110101
main90461-10101
9613241000
main96132-41000
27 parts on this diagram · 3 diagrams in section