E
EPC Data

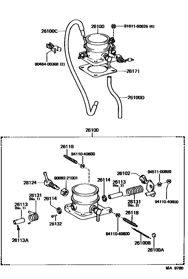
VENTURI

Parts diagram
26100VENTURI ASSY
main26100-58022i198708-198808
main26100-58090i198808-199001
main26100-68012i198708-199001
main26100-68040i198708-199001
26100ASEAL, LEAD
main22354-77050i198708-198808
26100BWIRE, SEAL
main22355-36010i198708-198808
26100CHOSE, VACCUM, NO.1(VENTURI TO GOVERNOR)
main90445-14068i198708-199001
main90447-12016i198708-198808
26100DHOSE, VACCUM, NO.2(VENTURI TO GOVERNOR)
main90445-14067i198708-199001
main90447-12001i198708-198808
26102LEVER SUB-ASSY, THROTTLE SHAFT ADJUSTING
main26102-58022i198708-198808
main26111-68011i198708-199005
NO.1
main26111-68012i198708-199005
NO.2
26113COLLAR, THROTTLE VALVE SHAFT
main26113-58021i198708-198808
NO.2
main26113-68012i198708-198808
NO.1
main26113-68013i198708-199005
NO.2
26113APIN, THROTTLE VALVE SHAFT
main26132-56010i198808-199001
26114WASHER, THROTTLE VALVE SHAFT ADJUSTING
main26114-76010×2i198708-198808
T=0.1
main26115-76010×2i198708-198808
T=0.2
main26116-76010×2i198708-198808
T=0.5
26118SCREW, STOP PLATE ADJUSTING
main22325-77020×2i198708-198808
26124CONNECTOR, VENTURI PIPE
main26124-58020i198708-198808
main26124-68010i198708-199001
26131SPRING, RETURN
main26131-58023i198708-198808
NO.1
main26131-58024i198708-198808
NO.2
main26131-68010i198708-199005
NO.1
main26131-68011i198708-199005
NO.2
26132PIN
main26132-56010i198708-199005
NO.1
main26132-56011i198708-198808
26171GASKET, VENTURI
main26171-56020i198708-198808
main26171-56040i198708-198805
MANIFOLD SIDE
main26171-56050i198808-198811
MANIFOLD SIDE;VENTURI SIDE
main26171-56060i198811-199001
MANIFOLD SIDE;VENTURI SIDE
main26171-68010i198708-199001
9009221001
9046400368
9161160625
9411040600
9411040800
9451100800

20 parts on this diagram · 4 diagrams in section

VENTURI — Toyota Parts Diagram with OEM Numbers & Prices | EPC Data