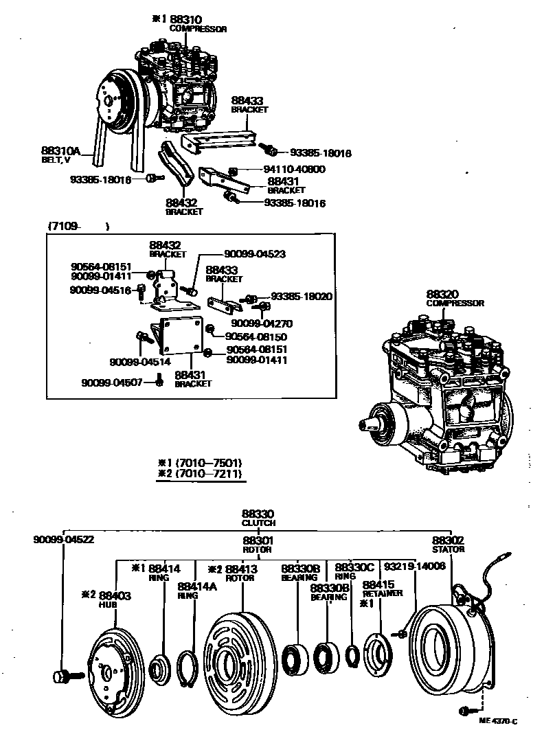
HEATING & AIR CONDITIONING - COMPRESSOR

88301ROTOR SUB-ASSY, MAGNET CLUTCH
88302STATOR SUB-ASSY, MAGNET CLUTCH
FOR 12V
FOR 24V
88310ABELT, V (COOLER COMPRESSOR TO CRANKSHAFT PULLEY), NO.1
88320COMPRESSOR ASSY, COOLER
FOR 12V
88330CLUTCH ASSY, MAGNET
FOR 12V
FOR 24V
88330BBEARING, MAGNET CLUTCH
FOR 12V
FOR 24V
88330CRING, SNAP (FOR MAGNET CLUTCH)
FOR 12V
FOR 24V
88403HUB SUB-ASSY, MAGNET CLUTCH
FOR 24V
FOR 12V
88413PULLEY SUB-ASSY, MAGNET CLUTCH
88414ARING, SHIELD SNAP
88415RETAINER, MAGNET CLUTCH BEARING, NO.1
88431BRACKET, COMPRESSOR MOUNTING, NO.1
FOR 12V
FOR N.S.W.
88432BRACKET, COMPRESSOR MOUNTING, NO.2
FOR 12V
88433BRACKET, COMPRESSOR MOUNTING, NO.3
9009901411
main90099-01411
9009904270
main90099-04270
9009904507
main90099-04507
9009904514
main90099-04514
9009904516
main90099-04516
9009904522
main90099-04522
9009904523
main90099-04523
9056408150
main90564-08150
9056408151
main90564-08151
9321914006
main93219-14006
9338518016
main93385-18016
9338518020
main93385-18020
9411040800
main94110-40800
29 parts on this diagram · 8 diagrams in section