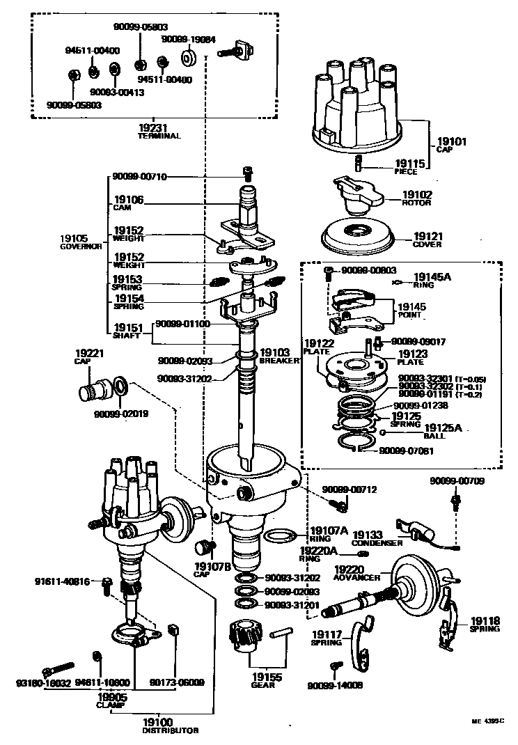
DISTRIBUTOR

19100DISTRIBUTOR ASSY
NEW SOUTH WALES
NEW SOUTH WALES
NEW SOUTH WALES
FOR LOW-OCTANE
HONG KONG SPEC.
19101CAP SUB-ASSY, DISTRIBUTOR
NEW SOUTH WALES
19102ROTOR SUB-ASSY, DISTRIBUTOR
NEW SOUTH WALES
19103BREAKER SUB-ASSY, DISTRIBUTOR
NEW SOUTH WALES
NEW SOUTH WALES
19105GOVERNOR SUB-ASSY
NEW SOUTH WALES
NEW SOUTH WALES
FOR LOW-OCTANE
FOR SPARK DELAY
19106CAM SUB-ASSY, DISTRIBUTOR
FOR LOW-OCTANE
SPARK DELAY
NEW SOUTH WALES
19107ARING, O, DISTRIBUTOR HOUSING
19107BCAP, OIL(FOR DISTRIBUTOR HOUSING)
19115PIECE, DISTRIBUTOR CAP, CENTER
19117SPRING, DISTRIBUTOR CAP, A
NEW SOUTH WALES
19118SPRING, DISTRIBUTOR CAP, B
19121COVER, DUST PROOF
NEW SOUTH WALES
NEW SOUTH WALES
19122PLATE, STATIONARY, DISTRIBUTOR
NEW SOUTH WALES
NEW SOUTH WALES
19123PLATE, DISTRIBUTOR BREAKER
19125SPRING(FOR DISTRIBUTOR STATIONARY PLATE)
19125ABALL, DISTRIBUTOR STATIONARY PLATE
19133CONDENSER, DISTRIBUTOR
NEW SOUTH WALES
19145POINT, DISTRIBUTOR
NEW SOUTH WALES
19145ARING, SNAP(FOR DISTRIBUTOR KIT)
19151SHAFT, GOVERNOR
NEW SOUTH WALES
19152WEIGHT, GOVERNOR
NEW SOUTH WALES
19153SPRING, GOVERNOR, A
NEW SOUTH WALES
NEW SOUTH WALES
FOR LOW-OCTANE
HONG KONG SPEC.
19154SPRING, GOVERNOR, B
FOR LOW-OCTANE
NEW SOUTH WALES
NEW SOUTH WALES
FOR SPARK DELAY
19155GEAR, SPIRAL, DISTRIBUTOR
19220ADVANCER ASSY, VACUUM, DISTRIBUTOR
NEW SOUTH WALES
NEW SOUTH WALES
FOR SPARK DELAY
FOR SPARK DELAY
19220ARING, SNAP(FOR DISTRIBUTOR VACUUM ADVANCER)
19221CAP, ADJUSTER, DISTRIBUTOR
19231TERMINAL, DISTRIBUTOR
NEW SOUTH WALES
NEW SOUTH WALES
19905CLAMP SUB-ASSY, DISTRIBUTOR
9009300413
main90093-00413
9009331201
main90093-31201
9009331202
main90093-31202
9009332301
main90093-32301
9009332302
main90093-32302
9009900709
main90099-00709
9009900710
main90099-00710
9009900712
main90099-00712
9009900803
main90099-00803
9009901100
main90099-01100
9009901191
main90099-01191
9009901238
main90099-01238
9009902019
main90099-02019
9009902093
main90099-02093
9009905803
main90099-05803
9009907081
main90099-07081
9009909017
main90099-09017
9009914008
main90099-14008
9009919084
main90099-19084
9017306009
main90173-06009
9161140816
main91611-40816
9318016032
main93180-16032
9451100400
main94511-00400
9461110600
main94611-10600
53 parts on this diagram · 3 diagrams in section