MOUNTING

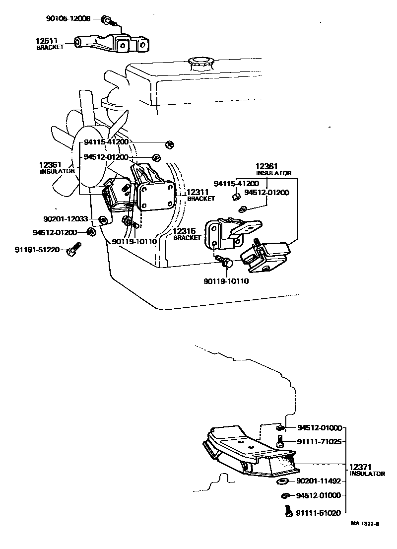
12311BRACKET, ENGINE MOUNTING, FRONT NO.1 RH
W/COOLER
W/COOLER
W/COOLER
W/COOLER
W/COOLER
W/COOLER
12315BRACKET, ENGINE MOUNTING, FRONT NO.1 LH
12361INSULATOR, ENGINE MOUNTING, FRONT
12371INSULATOR, ENGINE MOUNTING, REAR NO.1
RH
RH
LH
LH
12511BRACKET, ALTERNATOR, NO.1
NEW SOUTH WALES
NEW SOUTH WALES
9010512008
main90105-12008
9011910110
main90119-10110
9020111492
main90201-11492
9020112033
main90201-12033
9111151020
main91111-51020
9111171025
main91111-71025
9116151220
main91161-51220
9411541200
main94115-41200
9451201000
main94512-01000
9451201200
main94512-01200
15 parts on this diagram · 4 diagrams in section