E
EPC Data

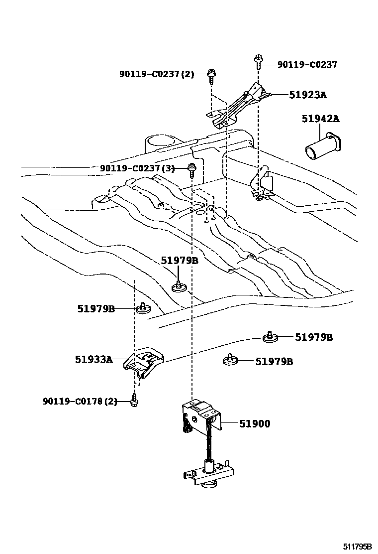
SPARE WHEEL CARRIER

Parts diagram
51900CARRIER ASSY, SPARE WHEEL
main51900-60320i200712-200811
main51900-60321i201301-201505
main51900-60322i201506-201601
51923AGUIDE, SPARE WHELL CARRIER HANDLE
main51923-60040i200712-200811
main51923-60041i201001-201202
51933ASTOPPER, SPARE WHEEL, NO.1
main51933-60200i200712-200811
51942AHANDLE, SPARE WHEEL CARRIER BOLT
main51942-60050i200712-200811
51979BCUSHION, SPARE WHEEL CARRIER PROTECTOR
main51979-60020×4i200712-200811
90119C0178
90119C0237

7 parts on this diagram · 1 diagram in section

SPARE WHEEL CARRIER — Toyota Parts Diagram with OEM Numbers & Prices | EPC Data