E
EPC Data

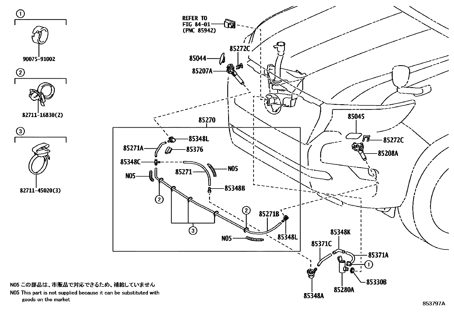
HEADLAMP CLEANER

Parts diagram
8401
85044NOZZLE SUB-ASSY, TYPE1 H/LAMP WASHER, RH
main85044-60190-A0i202208-202312
SUPER WHITE 2,040
main85044-60190-A1i202208-202312
HEADLAMP- LED(MAT BLACK EDITION),WHITE PEARL CS.,070
main85044-60190-B0i202208-202312
HEADLAMP- LED(MAT BLACK EDITION),SILVER ME.,1F7
main85044-60190-B1i202208-202312
HEADLAMP- LED(MAT BLACK EDITION),GRAY ME.,1G3
main85044-60190-C0i202208-202312
VX PACKAGE&HEADLAMP- LED(MAT BLACK EDITION),BLACK,202
main85044-60190-C1i202208-202312
VX PACKAGE&HEADLAMP- LED(MAT BLACK EDITION) & WITH(*AHB),ATTITUDE BLACK MC.,218
main85044-60190-C2i202208-202312
VX PACKAGE&HEADLAMP- LED(MAT BLACK EDITION) & WITH(*AHB),BLACKISH AGEHA GF.,221
main85044-60190-D0i202208-202312
RED M.M.,3R3
main85044-60190-E0i202208-202312
VX PACKAGE&HEADLAMP- LED(MAT BLACK EDITION),AVANT-GARDE BRONZE ME.,4V8
main85044-60190-E1i202208-202312
HEADLAMP- LED(MAT BLACK EDITION),VINTAGE BROWN PEARL CS.,4X4
main85044-60160-A0i201708-202008
TX-L PACKAGE&COLD AREA SPEC,SUPER WHITE 2,040
main85044-60160-A1i201708-202008
VX PACKAGE&HEADLAMP-LED,WHITE PEARL CS.,070
main85044-60160-B0i201708-202008
HEADLAMP CLEANER-WITH,SILVER ME.,1F7
main85044-60160-B1i201708-202008
HEADLAMP CLEANER-WITH,GRAY ME.,1G3
main85044-60160-C0i201708-202008
TX-L PACKAGE&COLD AREA SPEC,BLACK,202
main85044-60160-C1i201708-202008
GCC SPEC&HEADLAMP-LED & WITH(*AHB),ATTITUDE BLACK MC.,218
main85044-60160-C2i201708-202008
TX-L PACKAGE&COLD AREA SPEC,BLACKISH AGEHA GF.,221
main85044-60160-D0i201708-202008
GCC SPEC&HEADLAMP-LED & WITH(*AHB),RED M.M.,3R3
main85044-60160-E0i201708-202008
TX-L PACKAGE&COLD AREA SPEC,AVANT-GARDE BRONZE ME.,4V8
main85044-60160-E1i201708-202008
HEADLAMP CLEANER-WITH,VINTAGE BROWN PEARL CS.,4X4
85045NOZZLE SUB-ASSY, TYPE1 H/LAMP WASHER, LH
main85045-60190-A0i202208-202312
SUPER WHITE 2,040
main85045-60190-A1i202208-202312
HEADLAMP- LED(MAT BLACK EDITION),WHITE PEARL CS.,070
main85045-60190-B0i202208-202312
HEADLAMP- LED(MAT BLACK EDITION),SILVER ME.,1F7
main85045-60190-B1i202208-202312
HEADLAMP- LED(MAT BLACK EDITION),GRAY ME.,1G3
main85045-60190-C0i202208-202312
VX PACKAGE&HEADLAMP- LED(MAT BLACK EDITION),BLACK,202
main85045-60190-C1i202208-202312
ATTITUDE BLACK MC.,218
main85045-60190-C2i202208-202312
BLACKISH AGEHA GF.,221
main85045-60190-D0i202208-202312
RED M.M.,3R3
main85045-60190-E0i202208-202312
VX PACKAGE&HEADLAMP- LED(MAT BLACK EDITION) & WITH(*AHB),AVANT-GARDE BRONZE ME.,4V8
main85045-60190-E1i202208-202312
HEADLAMP- LED(MAT BLACK EDITION),VINTAGE BROWN PEARL CS.,4X4
main85045-60070-A0i201708-202008
TX-L PACKAGE&COLD AREA SPEC,SUPER WHITE 2,040
main85045-60070-A1i201708-202008
VX PACKAGE&HEADLAMP-LED,WHITE PEARL CS.,070
main85045-60070-B0i201708-202008
HEADLAMP CLEANER-WITH,SILVER ME.,1F7
main85045-60070-B1i201708-202008
HEADLAMP CLEANER-WITH,GRAY ME.,1G3
main85045-60070-C0i201708-202008
TX-L PACKAGE&COLD AREA SPEC,BLACK,202
main85045-60070-C1i201708-202008
GCC SPEC&HEADLAMP-LED & WITH(*AHB),ATTITUDE BLACK MC.,218
main85045-60070-C2i201708-202008
TX-L PACKAGE&COLD AREA SPEC,BLACKISH AGEHA GF.,221
main85045-60070-D0i201708-202008
VX PACKAGE&HEADLAMP-LED,RED M.M.,3R3
main85045-60070-E0i201708-202008
TX-L PACKAGE&COLD AREA SPEC,AVANT-GARDE BRONZE ME.,4V8
main85045-60070-E1i201708-202008
HEADLAMP CLEANER-WITH,VINTAGE BROWN PEARL CS.,4X4
85207AACTUATOR SUB-ASSY, HEADLAMP WASHER, RH
main85207-60160i202208-202312
VX PACKAGE&HEADLAMP- LED(MAT BLACK EDITION) & WITH(*AHB)
main85207-60080i201708-202008
GCC SPEC&HEADLAMP-LED & WITH(*AHB)
85208AACTUATOR SUB-ASSY, HEADLAMP WASHER, LH
main85208-60160i202208-202312
VX PACKAGE&HEADLAMP- LED(MAT BLACK EDITION) & WITH(*AHB)
main85208-60080i201708-202008
GCC SPEC&HEADLAMP-LED & WITH(*AHB)
85270CLEANER ASSY, HEADLAMP
main85271-60110i202208-202312
VX PACKAGE&HEADLAMP- LED(MAT BLACK EDITION) & WITH(*AHB)
main85271-60030i201708-201803
GCC SPEC&HEADLAMP-LED & WITH(*AHB)
main85271-60031i201804-202008
GCC SPEC&HEADLAMP-LED & WITH(*AHB)
85271HOSE, HEADLAMP CLEANER, NO.1
main90075-15108i202208-202312
L=300,VX PACKAGE&HEADLAMP- LED(MAT BLACK EDITION)
85271AHOSE, HEADLAMP CLEANER, NO.2
main90075-15058i202208-202312
L=140,VX PACKAGE&HEADLAMP- LED(MAT BLACK EDITION) & WITH(*AHB)
main90075-15053×2i201804-202008
L=35,HEADLAMP-LED
85271BHOSE, HEADLAMP CLEANER, NO.3
main85275-11010i202208-202312
L=1500
main90075-15065i201804-202008
L=1450,SAUDI ARABIA SPEC&HEADLAMP-LED & WITH(*AHB)
85272CCLAMP, HEADLAMP CLEANER, NO.3
main85272-75050×2i202208-202312
VX PACKAGE&HEADLAMP- LED(MAT BLACK EDITION) & WITH(*AHB)
85280AMOTOR AND PUMP ASSY, HEADLAMP CLEANER
main85280-47010i202208-202312
VX PACKAGE&HEADLAMP- LED(MAT BLACK EDITION) & WITH(*AHB)
85330BBUSH, HEADLAMP CLEANER WASHER JAR
main90099-32089i202208-202312
VX PACKAGE&HEADLAMP- LED(MAT BLACK EDITION) & WITH(*AHB)
85348AJOINT, HEADLAMP CLEANER HOSE, NO.1
main90075-17009i202208-202312
VX PACKAGE&HEADLAMP- LED(MAT BLACK EDITION) & WITH(*AHB)
85348BJOINT, HEADLAMP CLEANER HOSE, NO.2
main90075-17012i202208-202312
VX PACKAGE&HEADLAMP- LED(MAT BLACK EDITION) & WITH(*AHB)
85348CJOINT, HEADLAMP CLEANER HOSE, NO.3
main90075-17010i202208-202312
VX PACKAGE&HEADLAMP- LED(MAT BLACK EDITION) & WITH(*AHB)
85348KJOINT, HEADLAMP CLEANER ELBOW, NO.1
main90075-17013i202208-202312
VX PACKAGE&HEADLAMP- LED(MAT BLACK EDITION) & WITH(*AHB)
85348LJOINT, HEADLAMP CLEANER ELBOW, NO.2
main90075-17009×2i202208-202312
VX PACKAGE&HEADLAMP- LED(MAT BLACK EDITION) & WITH(*AHB)
85371AHOSE, HEADLAMP CLEANER(FROM MOTOR TO JOINT)
main90075-15059i202208-202312
L=80,VX PACKAGE&HEADLAMP- LED(MAT BLACK EDITION) & WITH(*AHB)
85371CHOSE, HEADLAMP CLEANER, NO.1
main90075-15066i202208-202312
L=100,HEADLAMP- LED(MAT BLACK EDITION) & WITH(*AHB)&HEADLAMP CLEANER-WITH
85376PROTECTOR, HEADLAMP CLEANER HOSE, NO.1
main85277-50040i202208-202312
VX PACKAGE&HEADLAMP- LED(MAT BLACK EDITION) & WITH(*AHB)
8271116830WIRE, FUSE TO FUSE(FOR COMBUSTION HEATER)
8271145020WIRE, FUSE TO FUSE(FOR COMBUSTION HEATER)
9007591002

23 parts on this diagram · 3 diagrams in section

HEADLAMP CLEANER — Toyota Parts Diagram with OEM Numbers & Prices | EPC Data