E
EPC Data

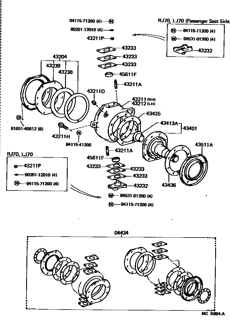
FRONT AXLE ARM & STEERING KNUCKLE

Parts diagram
04434GASKET KIT, FRONT AXLE OVERHAUL
main04434-60020i198411-199001
43204SEAL SUB-ASSY, STEERING KNUCKLE OIL
main43204-60020×2i198411-199001
43211KNUCKLE, STEERING, RH
main43211-35050i198411-199001
FR DRUM BRAKE
main43211-35090i198411-199001
FR DISC BRAKE
main43211-60040i198411-199001
FR DRUM BRAKE
main43211-60050i198411-199001
FR DISC BRAKE
43211ABOLT, STUD (FOR STEERING SET)
main90116-12007×16i198411-199001
43211DPLUG (FOR STEERING KNUCKLE)
main90345-53020×2i198411-199001
43211HBOLT, ROUND HEXAGON
main90106-12022×4i198411-199001
43211PWASHER, CONE (FOR STEERING KNUCKLE)
main42323-60020×12i198411-199001
43212KNUCKLE, STEERING, LH
main43212-35020i198411-199001
FR DRUM BRAKE
main43212-35050i198411-199001
FR DISC BRAKE
main43212-60040i198411-199001
FR DRUM BRAKE
main43212-60050i198411-199001
FR DISC BRAKE
43232CAP, STEERING KNUCKLE BEARING
main43232-35010×2i198411-199001
43233SHIM, STEERING KNUCKLE ADJUST, NO.1
main43233-60011i198411-199001
T=0.20,T=0.2
main43234-60011i198411-199001
T=0.50,T=0.5
main43235-60010i198411-199001
T=1.0,T=1.0
main43236-60010i198411-199001
T=0.1,T=0.1
main43237-60030i198411-199001
T=0.30,T=0.3
43238SEAL, STEERING KNUCKLE OIL, INNER
main43238-60010×2i198411-199001
43239SEAL, STEERING KNUCKLE OIL, OUTER
main43239-60020×2i198411-199001
43401SPINDLE SUB-ASSY, STEERING KNUCKLE
main43401-60012×2i198411-199001
43413ABUSH, SOLID (FOR DRIVE SHAFT)
main90999-70067×2i198411-199001
43435GASKET, KNUCKLE SPINDLE
main43435-60011×2i198411-199001
43436GASKET, KNUCKLE SPINDLE OIL RETAINER
main43436-60011×2i198411-199001
43511ASEAL, DUST (FOR FRONT AXLE HUB)
main90313-93011×2i198411-199001
45611FBEARING(FOR STEERING KNUCKLE ARM)
main90366-17001×4i198411-199001
9020112019
9165140612
9411541200
9411571200
9453101200

23 parts on this diagram · 2 diagrams in section

FRONT AXLE ARM & STEERING KNUCKLE — Toyota Parts Diagram with OEM Numbers & Prices | EPC Data