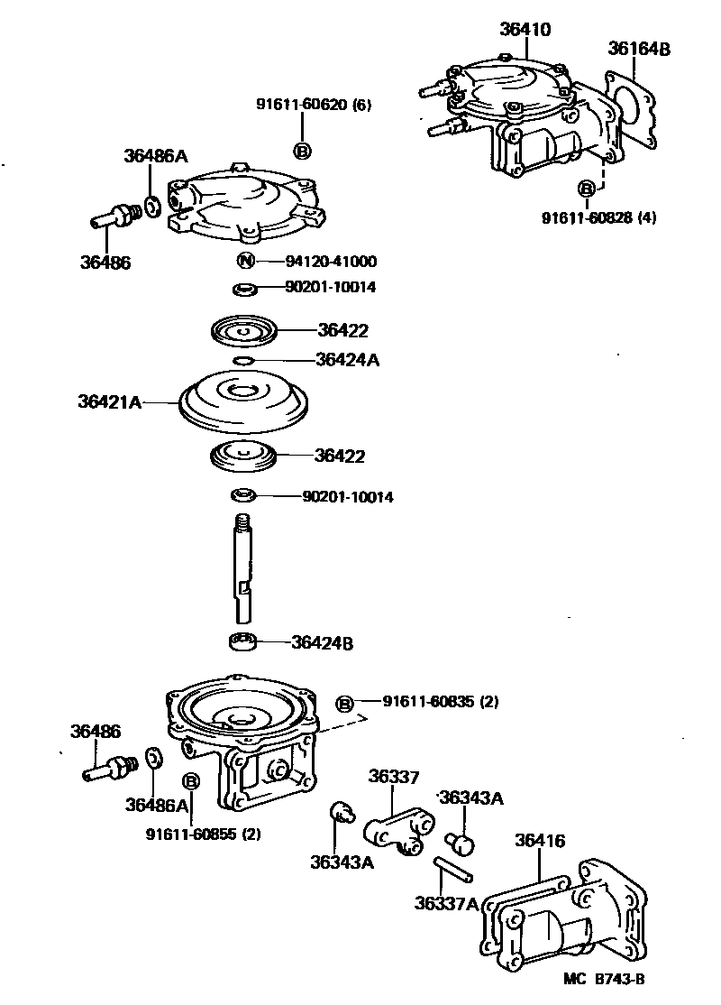
DIAPHRAGM CYLINDER & TRANSFER VACUUM ACTUATOR

36164BGASKET, TRANSFER SHIFT SHAFT GUIDE
36337LEVER, FRONT DRIVE SHIFT LINK
36337APIN, STRAIGHT (FOR FRONT DRIVE SHIFT LINK LEVER)
36343ASHOE, FR DRIVE SHIFT LINK LEVER (FOR VACUUM MAGNET TYPE)
OD=18
OD=12
36410CYLINDER ASSY, DIAPHRAGM
36416GASKET, DIAPHRAGM CYLINDER
36421ADIAPHRAGM (FOR DIAPHRAGM CYLINDER)
36422PLATE, TRANSFER DIAPHRAGM
36424ARING, O (FOR DIAPHRAGM PUSH ROD)
36424BSEAL, TYPE T, OIL (FOR DIAPHRAGM PUSH ROD)
36486TUBE, SUCTION
36486AGASKET (FOR SUCTION TUBE)
9020110014
main90201-10014
9161160620
main91611-60620
9161160828
main91611-60828
9161160835
main91611-60835
9161160855
main91611-60855
9412041000
main94120-41000
18 parts on this diagram · 1 diagram in section