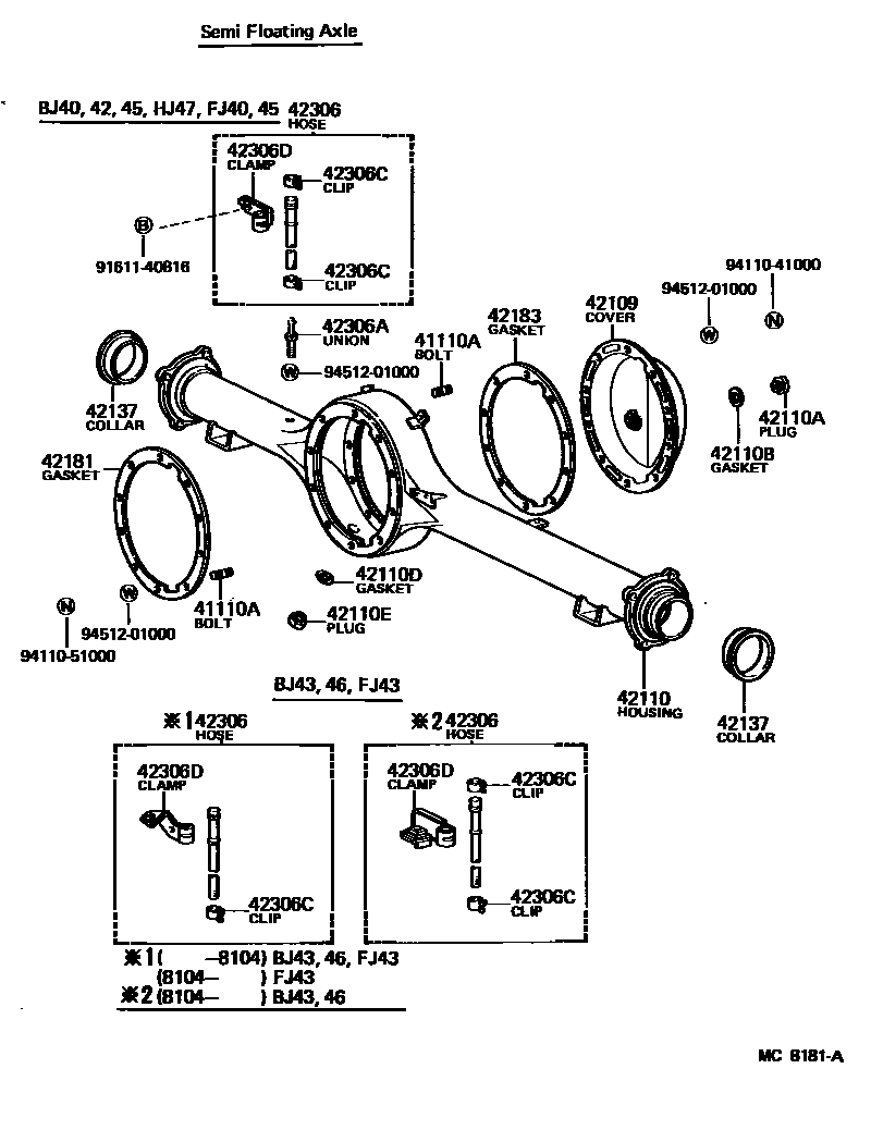
REAR AXLE HOUSING & DIFFERENTIAL

41110CARRIER ASSY, DIFFERENTIAL, REAR
*AXC=K082,*FGR=37:9,*AXC=K082,*FGR=37:9
*AXC=K082,*FGR=37:9,R=37:9=4.111
*AXC=K082,*FGR=37:9
*AXC=K052,*FGR=37:10
*AXC=K052,*FGR=37:10
*AXC=K052,*FGR=37:10
*AXC=K055,*FGR=37:10
*AXC=K055,*FGR=37:10
*AXC=K085,*FGR=37:9,*AXC=K082,*FGR=37:9,W(LSD & FFA)
*AXC=K085,*FGR=37:9,*AXC=K082,*FGR=37:9
*FGR=37:10=3.700,*AXC=K055,*FGR=37:10
*FGR=37:9=4.111,*AXC=K085,*FGR=37:9
41110ABOLT, NO.1 (FOR REAR DIFFERENTIAL CARRIER SET)
S=16 & 12.5,L=40.5,CARIER,L=40.5,S=12.5 & 16
S=18 & 12.5,L=53.5,CARIER,L=53.5,S=12.5 & 18
S=15 & 12.5,L=35.5,COVER,L=35.5,S=12.5 & 15
L=37,S=12 & 25,CARIER,L=37,S=12 & 16
L=50,S=12 & 18,CARIER,L=50,S=12 & 18
L=32,S=12 & 20,COVER,COVER,L=32,S=12 & 15
42109COVER SUB-ASSY, REAR AXLE HOUSING
42110HOUSING ASSY, REAR AXLE
SEMI FLOATING AXLE
SEMI FLOATING AXLE
SEMI FLOATING AXLE
SEMI FLOATING AXLE
FULL FLOATING AXLE
FULL FLOATING AXLE
FULL FLOATING AXLE
FULL FLOATING AXLE
SEMI FLOATING AXLE
FULL FLOATING AXLE
SEMI FLOATING AXLE,W/*RWPB
42110APLUG (FOR REAR AXLE HOUSING FILLER)
42110BGASKET (FOR REAR AXLE HOUSING FILLER PLUG)
42110DGASKET (FOR REAR AXLE HOUSING DRAIN PLUG)
42110EPLUG (FOR REAR AXLE HOUSING DRAIN)
42137COLLAR, REAR AXLE HOUSING SIDE
42181GASKET, REAR DIFFERENTIAL CARRIER
42183GASKET, REAR AXLE HOUSING COVER
42306HOSE SUB-ASSY, REAR AXLE BREATHER
42306AUNION (FOR REAR AXLE BREATHER HOUSE)
42306CCLIP, HOSE (FOR REAR AXLE BREATHER HOSE)
42306DCLAMP (FOR REAR AXLE BRATHER HOSE)
9161140816
main91611-40816
9411041000
main94110-41000
9411051000
main94110-51000
9451201000
main94512-01000
19 parts on this diagram · 6 diagrams in section