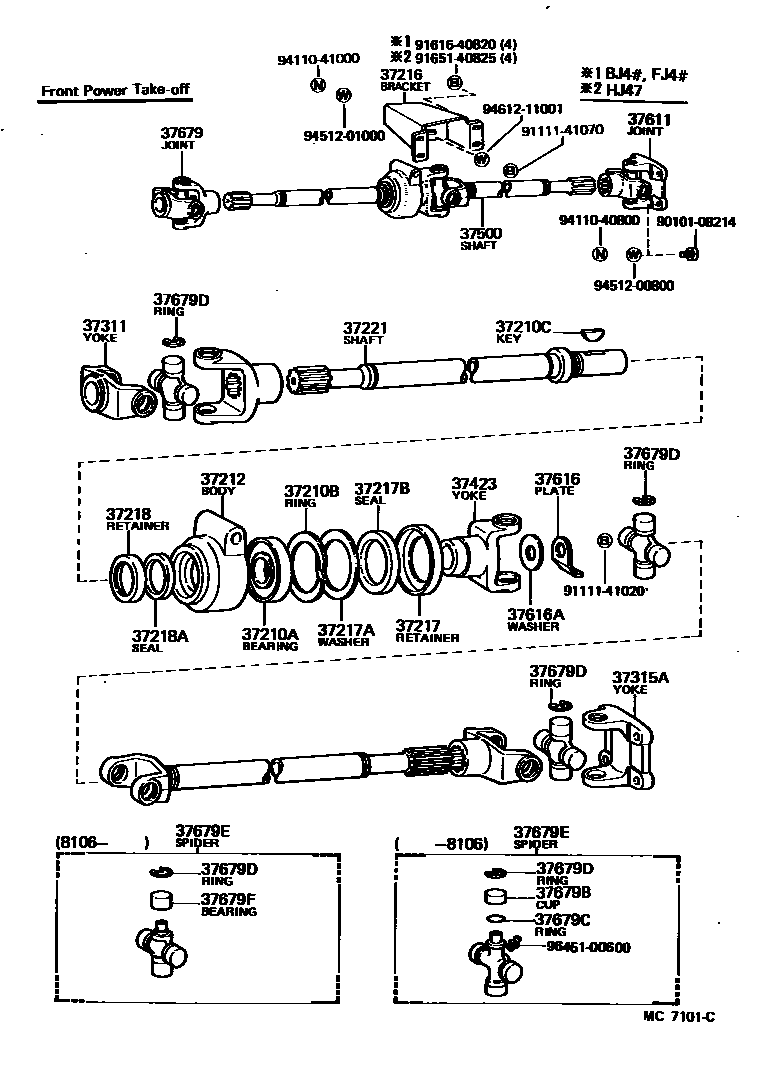
DRIVE SHAFT

37210ABEARING (FOR PILLOW BLOCK)
37210BRING, HOLE SNAP (FOR PILLOW BLOCK BEARING)
37210CKEY, WOODRUFF (FOR PILLOW BLOCK)
37212BODY, PILLOW BLOCK, NO.2
37216BRACKET, PILLOW BLOCK
FR
RR
37217RETAINER, DUST SEAL, NO.1
37217AWASHER, PLATE (FOR PILLOW BLOCK RETAINER)
37217BSEAL, DUST (FOR PILLOW BLOCK RETAINER)
37218RETAINER, DUST SEAL, NO.2
37218ASEAL, DUST (FOR NO.2 PILLOW BLOCK RETAINER)
37221SHAFT, PILLOW BLOCK, NO.1
37311YOKE, UNIVERSAL JOINT, NO.1 (FOR WINCH DRIVE SHAFT)
37315AYOKE, UNIVERSAL JOINT FLANGE (FOR WINCH DRIVE SHAFT)
37423YOKE, UNIVERSAL JOINT FLANGE(FOR POWER TAKE-OFF DRIVE SHAFT)
37500SHAFT ASSY, DRIVE, FRONT W/PILLOW BLOCK
37611JOINT ASSY, UNIVERSAL, W/YOKE (FOR WINCH)
37616PLATE, DRIVE SHAFT LOCK
37616AWASHER (FOR DRIVE SHAFT LOCK PLATE)
37679JOINT ASSY, UNIVERSAL (FOR WINCH DRIVE SHAFT)
37679BCUP, UNIVERSAL JOINT (FOR WINCH DRIVE SHAFT)
37679CRING, O (FOR WINCH DRIVE SHAFT)
37679DRING, HOLE SNAP (FOR WINCH DRIVE SHAFT)
T=1.2,T=1.2
T=1.25,T=1.25
T=1.30,T=1.30
37679ESPIDER (FOR WINCH DRIVE SHAFT)
37679FBEARING, UNIVERSAL JOINT (FOR WINCH DRIVE SHAFT)
9010108214
main90101-08214
9111141020
main91111-41020
9111141070
main91111-41070
9161640820
main91616-40820
9165140825
main91651-40825
9411040800
main94110-40800
9411041000
main94110-41000
9451200800
main94512-00800
9451201000
main94512-01000
9461211001
main94612-11001
9645100600
main96451-00600
35 parts on this diagram · 2 diagrams in section