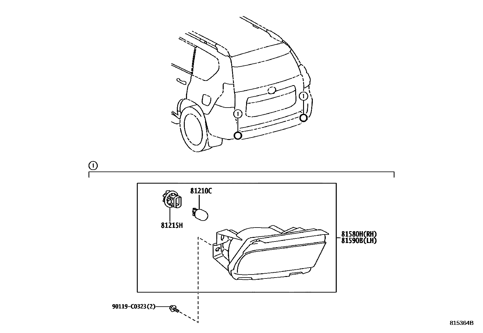
REAR FOG LAMP

81210CBULB, REAR FOG LAMP
12V 21W
81215HSOCKET, REAR FOG LAMP
81580HLAMP ASSY, REAR FOG, RH
81590BLAMP ASSY, REAR FOG, LH
90119C0323
main90119-C0323
5 parts on this diagram · 1 diagram in section

5 parts on this diagram · 1 diagram in section