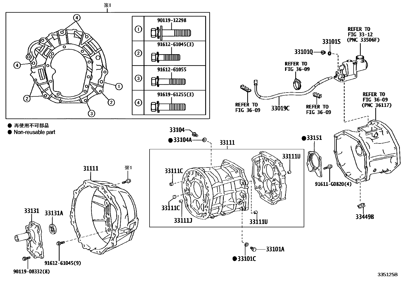
CLUTCH HOUSING & TRANSMISSION CASE (MTM)

31111HOUSING, CLUTCH
33019CBREATHER SUB-ASSY, TRANSMISSION
33101APLUG(FOR MANUAL TRANSMISSION FILLER)
33101CGASKET(FOR MANUAL TRANSMISSION FILLER PLUG)
33101QPLUG, NO.1(FOR TRANSMISSION CASE)
33101SGASKET(FOR TRANSMISSION CASE PLUG NO.1)
33104PLUG SUB-ASSY, DRAIN(MTM)
33104AGASKET, DRAIN PLUG(MTM)
33111CASE, MANUAL TRANSMISSION
33111CPLUG(FOR TRANSMISSION CASE)
OD=14
OD=18
33111JPIN, STRAIGHT(FOR MANUAL TRANSMISSION CASE)
L=16,OD=12
33111UPIN, RING(FOR MANUAL TRANSMISSION CASE)
L=14,OD=15
3312
33131RETAINER, BEARING, FRONT(MTM)
sub33131-35032
33131ASEAL, OIL(FOR TRANSMISSION FRONT BEARING RETAINER)
33151RETAINER, OUTPUT SHAFT REAR BEARING(MTM)
33449BMAGNET, TRANSMISSION
3609
9011908332
main90119-08332
9011912298
main90119-12298
91611G0820
main91611-G0820
9161261045
main91612-61045
9161261055
main91612-61055
9161961255
main91619-61255
24 parts on this diagram · 1 diagram in section