E
EPC Data

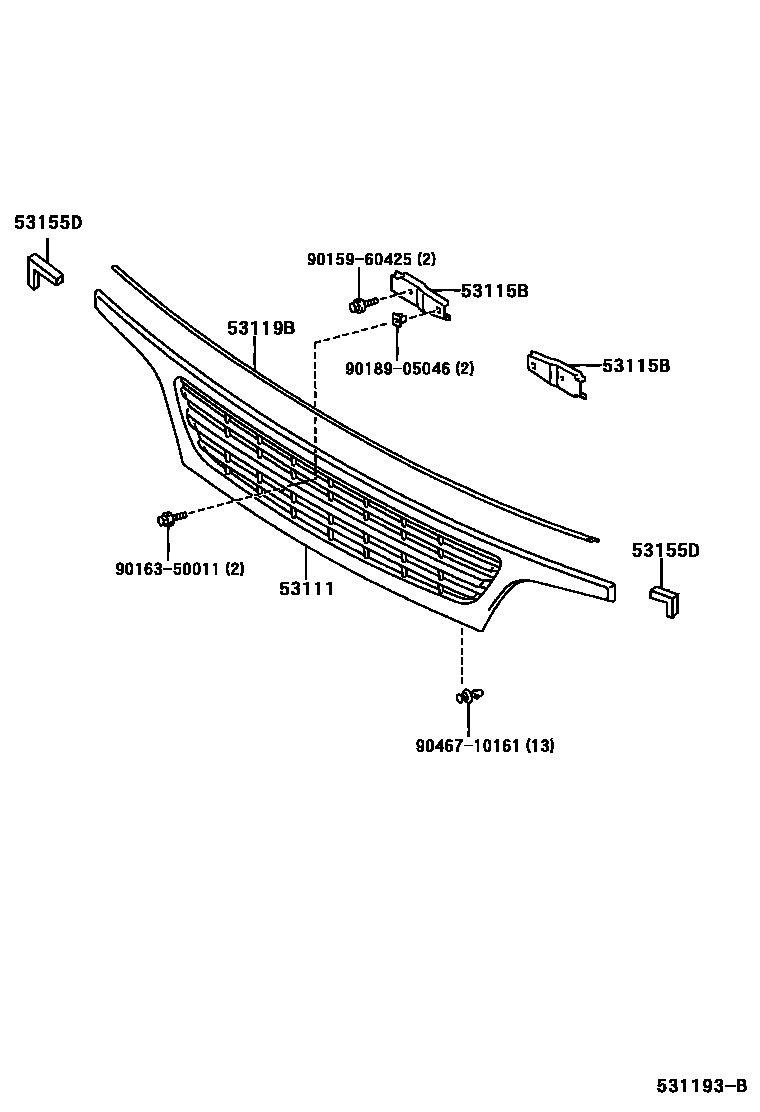
RADIATOR GRILLE

Parts diagram
53111GRILLE, RADIATOR
main53111-37241-A0i200110-200212
WHITE,058
main53111-37470i200212-200610
UNPAINTED
main53111-37480-A0i200212-200610
WHITE,058
main53111-37730i200610-201208
UNPAINTED
53115BBRACKET, RADIATOR GRILLE
main53115-37050×2i200401-200608
main53115-37070×2i200610-201208
53119BPROTECTOR, RADIATOR GRILLE
main53119-37040i200110-200212
main53119-37050i200401-200608
main53119-37110-C0i200701-201208
BLACK,058
53155DSEAL, RADIATOR GRILLE, NO.1
main53155-37010×2i200110-200212
9015960425
9016350011
9018905046
9046710161

8 parts on this diagram · 3 diagrams in section

RADIATOR GRILLE — Toyota Parts Diagram with OEM Numbers & Prices | EPC Data