E
EPC Data
Pricing
Sign In
Home
›
GR
›
771240
›
CLUTCH BOOSTER
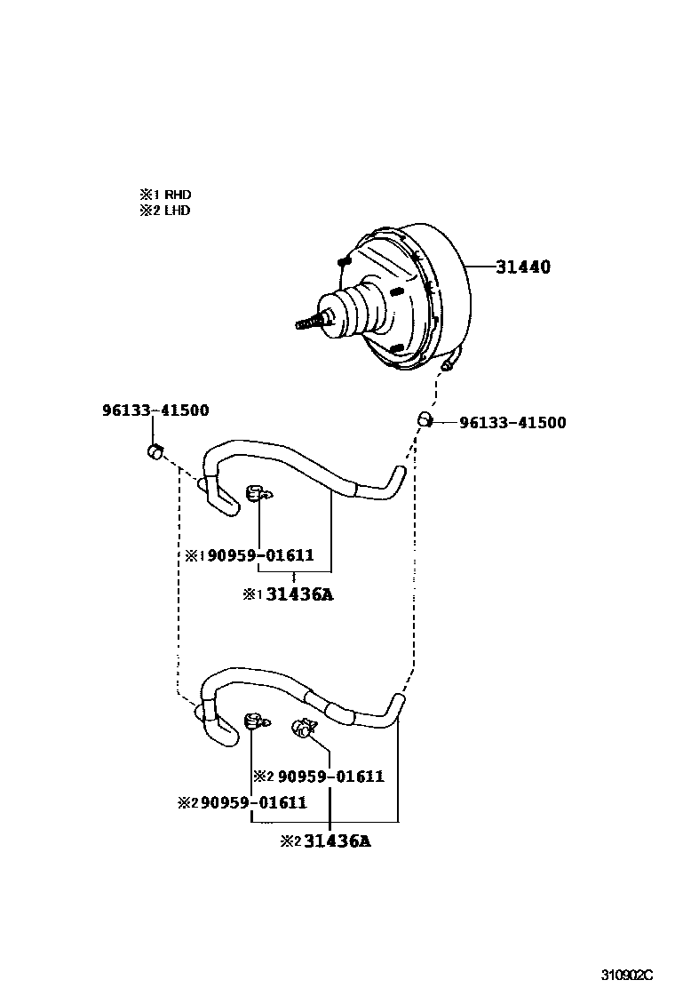
CLUTCH BOOSTER
0001 1
0002 1
31436A
HOSE, NO.1(FOR CLUTCH BOOSTER VACUUM)
main
31436-37030
i
XZU404,414,424,434..RHD
200110-200610
main
31436-37060
i
BU410,420
200110-201208
31440
BOOSTER ASSY, CLUTCH W/AIR CLEANER
main
31440-37030
i
XZU417,427
200701-200901
main
31440-37041
i
BU410,420
200411-200701
main
31440-37080
i
XZU415,419,425,429,435,439
200110-201208
main
31440-37100
i
XZU404,414,424,434..ARL
200212-200610
9095901611
main
90959-01611
9613341500
main
96133-41500
4 parts on this diagram · 2 diagrams in section
CLUTCH BOOSTER — Toyota Parts Diagram with OEM Numbers & Prices | EPC Data