E
EPC Data

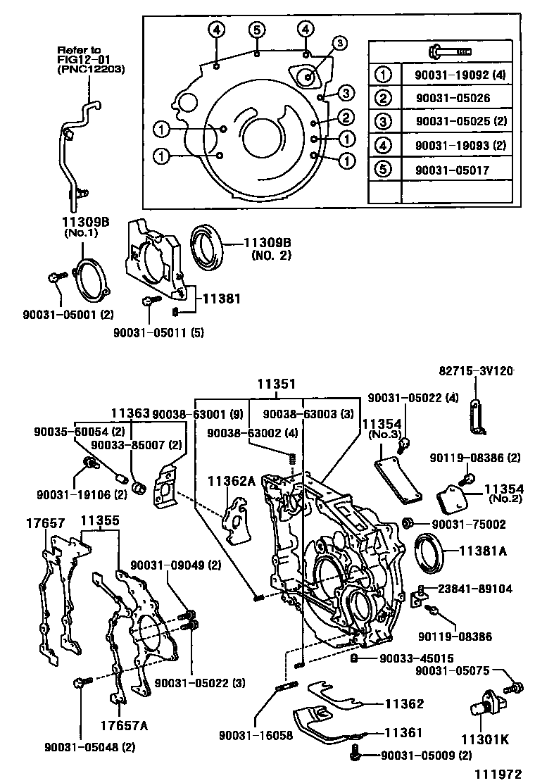
TIMING GEAR COVER & REAR END PLATE

Parts diagram
11301KSENSOR, CRANK POSITION
main19311-78010i200010-200206
main19311-78020i200010-200206
11309BSEAL(FOR OIL SEAL RETAINER)
main11551-89101i200010-200206
NO.1
main90033-19008i200010-200206
NO.2
11351HOUSING, FLYWHEEL
main11308-78120i200010-200206
main11308-78130i200010-200206
main11308-78140i200010-200206
11354SEAL, FLYWHEEL HOUSING DUST
main11354-78030i200010-200206
NO.1
main11354-89101i200010-200206
NO.2
main11354-89102i200010-200206
NO.3
11355PLATE, REAR END
main11305-78010i200010-200206
main11355-78010i200010-200206
11361COVER, FLYWHEEL HOUSING UNDER
main11361-78010i200010-200206
11362INSULATOR, FLYWHEEL HOUSING(FOR UNDER COVER)
main11362-78010i200010-200206
11362AINSULATOR, FLYWHEEL HOUSING(FOR SIDE COVER)
main11362-78030i200010-200206
11363COVER, FLYWHEEL SIDE
main11360-78020i200010-200206
11381RETAINER, ENGINE REAR OIL SEAL
main11309-89101i200010-200206
11381ASEAL, ENGINE REAR OIL
main90033-19007i200010-200206
1201VENTILATION HOSE
17657GASKET, REAR PLATE
main17657-78040i200010-200206
main17657-89101i200010-200206
17657AGASKET, REAR PLATE, NO.2
main17657-78030i200010-200206
main17657-89102i200010-200206
2384189104CLAMP, FUEL PIPE(HOSE), NO.1
827153V120BRACKET,WIRING HARNESS CLAMP
9003105001
9003105009
9003105011
9003105017
9003105022
9003105025
9003105026
9003105048
9003105075
9003109049
9003116058
9003119092
9003119093
9003119106
9003175002
9003345015
9003385007
9003560054
9003863001
9003863002
9003863003
9011908386

38 parts on this diagram · 3 diagrams in section

TIMING GEAR COVER & REAR END PLATE — Toyota Parts Diagram with OEM Numbers & Prices | EPC Data