E
EPC Data

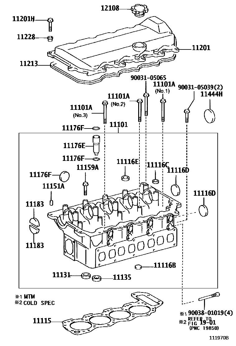
CYLINDER HEAD

Parts diagram
11101HEAD SUB-ASSY, CYLINDER
main11101-78050i200010-200112
main11101-78051i200112-200206
main11101-78060i200010-200112
main11101-78061i200112-200206
11101ABOLT(FOR CYLINDER HEAD SET)
main90031-09051×9i200010-200206
NO.1
main90038-01023×4i200010-200206
NO.2
main90038-01024×5i200010-200206
NO.3
11115GASKET, CYLINDER HEAD
main11115-78021i200010-200112
main11115-78030i200112-200206
11116BPLUG, TIGHT, NO.2
main90033-31024×4i200010-200206
11116CPLUG, TIGHT, NO.3
main90033-31020×4i200010-200206
11116DPLUG, TIGHT, NO.4
main90033-31023×5i200010-200206
11116EPLUG, TIGHT, NO.5
main90033-31022×8i200010-200206
11131SEAT, INTAKE VALVE
main11131-78030×8i200010-200112
STD
main11131-78040×8i200112-200206
STD
11135SEAT, EXHAUST VALVE
main11135-78030×8i200112-200206
STD
main11135-89101×8i200010-200112
STD
11151APIN, RING(FOR CAMSHAFT BEARING CAP SETTING)
main90032-50046×10i200010-200206
11159ABOLT(FOR HEAD TO CAMSHAFT BEARING CAP)
main90031-05045×10i200010-200206
11176ESEAT, INJECTION NOZZLE
main11176-89101×4i200010-200206
11176FGASKET (FOR INJECTION NOZZLE SEAT)
main90034-30039×8i200010-200206
11183PLUG, SEMICIRCULAR
main11183-78012×2i200010-200206
11201COVER SUB-ASSY, CYLINDER HEAD
main11211-78020i200010-200112
main11211-78021i200112-200206
11201HBOLT(FOR CYLINDER HEAD COVER)
main90031-05013×13i200010-200206
11213GASKET, CYLINDER HEAD COVER
main11213-78020i200010-200206
11228CUSHION, CYLINDER HEAD COVER
main11228-78010×13i200010-200206
11444HPLUG, HOLE(FOR CYLINDER HEAD)
main11444-78010i200010-200206
12108CAP SUB-ASSY, OIL FILLER
main12108-78010i200010-200206
1901IGNITION COIL & SPARK PLUG / GLOW PLUG
9003105039
9003105065
9003801019

24 parts on this diagram · 1 diagram in section

CYLINDER HEAD — Toyota Parts Diagram with OEM Numbers & Prices | EPC Data