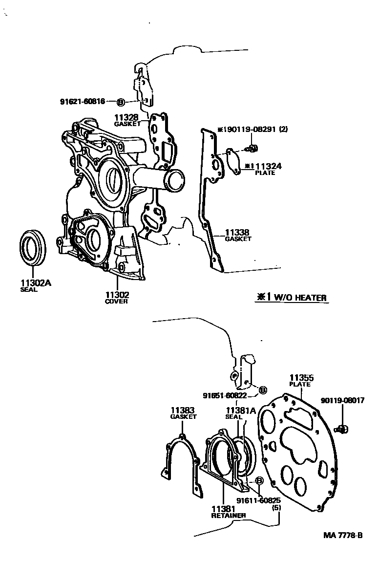
TIMING GEAR COVER & REAR END PLATE

11302COVER SUB-ASSY, TIMING CHAIN OR BELT
NO.2
NO.2
NO.1
NO.1
11302ASEAL, OIL(FOR TIMING CHAIN OR BELT COVER)
11324PLATE, TIMING CHAIN COVER
11328GASKET, TIMING GEAR OR CHAIN COVER
11338GASKET, TIMING CHAIN COVER, NO.2
11355PLATE, REAR END
11381RETAINER, ENGINE REAR OIL SEAL
11381ASEAL, ENGINE REAR OIL
11383GASKET, ENGINE REAR OIL SEAL RETAINER
9011908017
main90119-08017
9011908291
main90119-08291
9161160825
main91611-60825
9162160816
main91621-60816
9165160822
main91651-60822
14 parts on this diagram · 5 diagrams in section