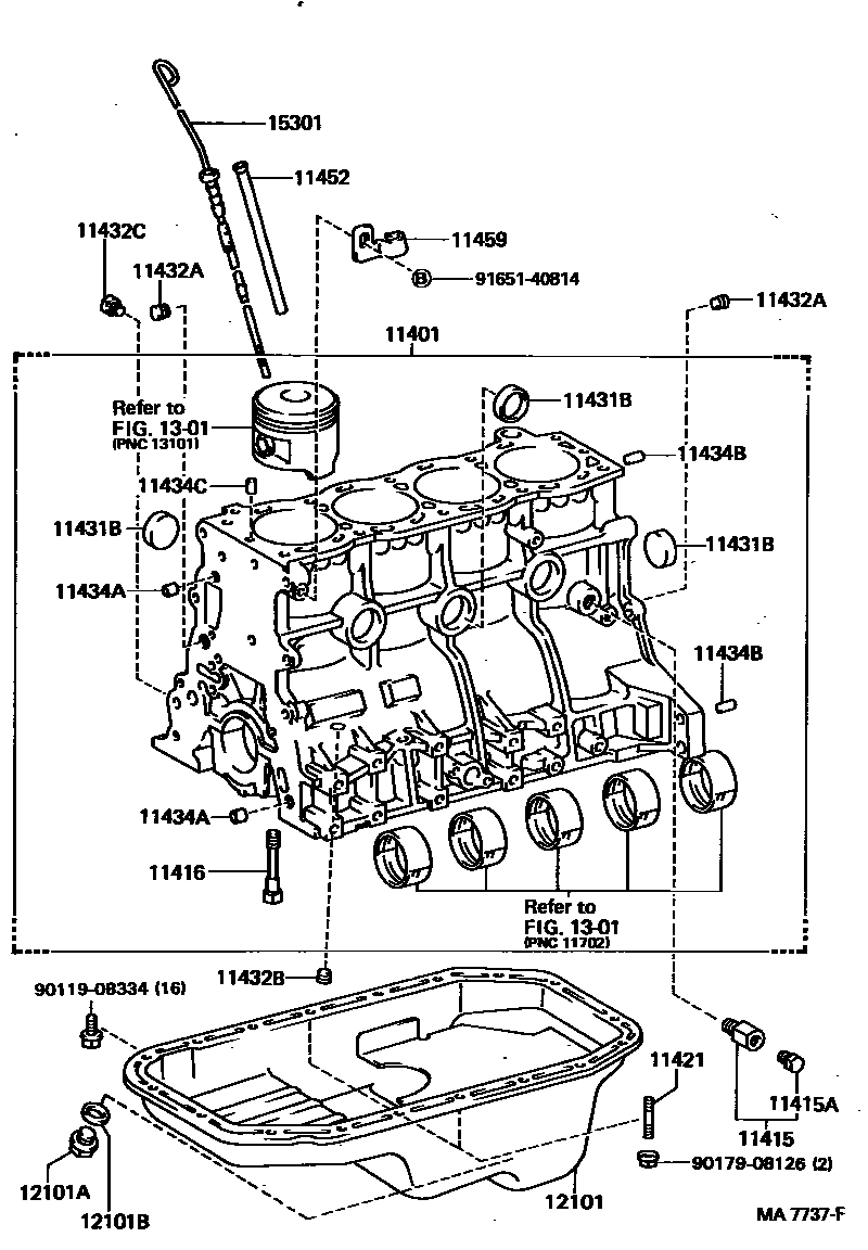
CYLINDER BLOCK

11415COCK SUB-ASSY, WATER DRAIN(FOR CYLINDER BLOCK)
11415APLUG, WATER DRAIN COCK(FOR CYLINDER BLOCK)
11421BOLT, STUD(FOR OIL PAN)
11432APLUG, W/HEAD TAPER SCREW, NO.1
RR
FR
RR
11432BPLUG, W/HEAD TAPER SCREW, NO.2
11432CPLUG, W/HEAD TAPER SCREW, NO.3
11434APIN, STRAIGHT(FOR TIMING GEAR COVER SET)
L=24,OD=8
L=18,OD=8
L=8,OD=11
11434BPIN, STRAIGHT(FOR CLUTCH HOUSING SET)
L=18,OD=8
L=22,OD=10
11434CPIN, STRAIGHT (FOR CYLINDER HEAD SET)
L=16,OD=8
L=18,OD=8
11459SUPPORT, OIL LEVEL GAGE GUIDE
12101BGASKET(FOR OIL PAN DRAIN PLUG)
sub90202-18002
sub90034-30046
sub90430-12028
sub90430-12028
sub90430-12031
1301
9011908334
main90119-08334
9017908126
main90179-08126
9165140814
main91651-40814
22 parts on this diagram · 3 diagrams in section