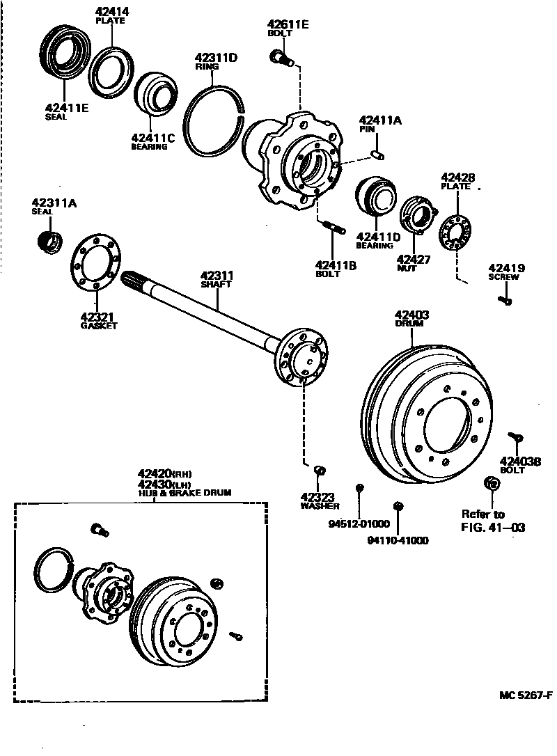
REAR AXLE SHAFT & HUB

4103DISC WHEEL & WHEEL CAP
42311SHAFT, REAR AXLE
*AXC=Q194
S.ARABIA SPEC
W/7.00-16 TIRE
TAIWAN WIDE CAB
42311ASEAL, OIL(FOR REAR AXLE SHAFT)
*AXC=Q194
42311DRING, SNAP(FOR REAR AXLE SHAFT)
42321GASKET, REAR AXLE SHAFT
TAIWAN WIDE CAB
42323WASHER, CONE (FOR REAR AXLE SHAFT)
TAIWAN WIDE CAB
42403DRUM SUB-ASSY, REAR BRAKE
TAIWAN WIDE CAB
42403BBOLT, SET (FOR REAR BRAKE DRUM SETTING)
42411HUB, REAR AXLE
42411APIN, STRAIGHT (FOR REAR AXLE HUB)
TAIWAN WIDE CAB
42411BBOLT, STUD (FOR REAR AXLE HUB)
TAIWAN WIDE CAB
42411CBEARING, TAPERED ROLLER (FOR REAR AXLE INNER BEARING)
42411DBEARING, TAPERED ROLLER (FOR REAR AXLE OUTER BEARING)
*AXC=Q194
42411ESEAL, OIL (FOR REAR AXLE HUB)
42414PLATE, REAR AXLE HUB
42419SCREW, REAR AXLE BEARING LOCK NUT
42420HUB (OR SHAFT) & BRAKE DRUM REAR AXLE, RH
TAIWAN WIDE CAB
42427NUT, REAR AXLE BEARING LOCK
*AXC=Q194
42428PLATE, REAR AXLE LOCK NUT
*AXC=Q194
42430HUB (OR SHAFT) & BRAKE DRUM REAR AXLE, LH
TAIWAN WIDE CAB
42611EBOLT, HUB (FOR REAR AXLE)
RH
LH
RH
LH
RH
LH
RH
LH
9411041000
main94110-41000
9451201000
main94512-01000
23 parts on this diagram · 5 diagrams in section