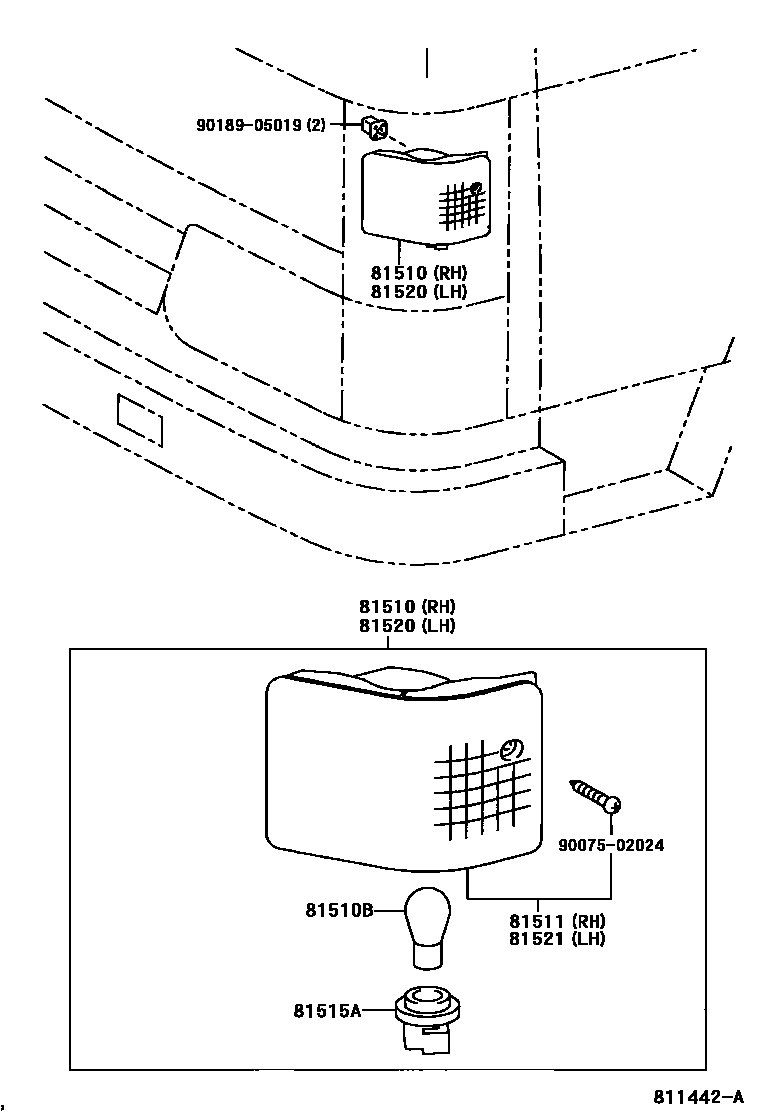
FRONT TURN SIGNAL LAMP

81510LAMP ASSY, FRONT TURN SIGNAL, RH
main81510-37050iRZU100;BU212..TD..CBU;BU102,212..TAIW;BU142,212..LHD..(25T,40T)..TD..GEN;BU100,101,111,112,140,141,211,221,222..(DM1,T1,T3,TW1,TW2)..DSL..(GEN,TAIW)..(CBU,IV3)199505
HONG KONG SPEC
ALGERIA SPEC; CHINA SPEC
81510BBULB (FOR FRONT TURN SIGNAL LAMP)
main90981-16014×2iBU211..40T..GEN..IV3;BU211..LHD..40T..CBU;BU100,111,222..WT..GEN;BU101,221..RHD..WT..GEN..IV3;BU100,140,141,21#..LHD..(T3,TW2)..(175T,25T,30T)..GEN199505-199703
24V 21W
main99132-11210×2iRZU100;BU212..CBU;BU142..20T,25T;BU212..LHD..40T..TD;BU102,212,222..ARL,EUR,SA,TAIW;BU100,101,11#,140,141,211,221,YU210..(DM1,T1,T2,T3,TW1,TW2)..(CBU,IV3)199505-200008
12V 21W
81511LENS, FRONT TURN SIGNAL LAMP, RH
main81511-37050iBU222..RHD..GEN;BU212..30T..TD..CBU;BU102,212,222..TAIW;BU102,RZU100..EFI,TD;BU212..(25T,40T)..TD;BU100,101,111,112,14#,211,213,221,223..(DM1,T1,T3,TW1,TW2)..(GEN,TAIW)199505
main81511-37070iBU111..LHD; BU141,221..LHD;BU101,211..LHD..WT..(20T,40T)..IV3; BU212..DSL;BU101,14#,211,222,YU210..ARL,SA200111
ALGERIA SPEC; CHINA SPEC
81515APLUG ASSY, FRONT TURN SIGNAL LAMP
main90075-99092×2iBU212..TD..CBU;BU212..(GEN,TAIW)..IV3;BU10#,111,112,14#,211,213,22#,RZU100..GEN,TAIW199505
81520LAMP ASSY, FRONT TURN SIGNAL, LH
main81520-37050iRZU100;BU212..TD..CBU;BU102,212..TAIW;BU142,212..LHD..(25T,40T)..TD..GEN;BU100,101,111,112,140,141,211,221,222..(DM1,T1,T3,TW1,TW2)..DSL..(GEN,TAIW)..(CBU,IV3)199505
RUSSIA SPEC & COLD SPEC
ALGERIA SPEC; CHINA SPEC
81521LENS, FRONT TURN SIGNAL LAMP, LH
main81521-37050iBU222..RHD..GEN;BU212..30T..TD..CBU;BU102,212,222..TAIW;BU102,RZU100..EFI,TD;BU212..(25T,40T)..TD;BU100,101,111,112,14#,211,213,221,223..(DM1,T1,T3,TW1,TW2)..(GEN,TAIW)199505
main81521-37070iBU222..LHD..GEN;BU212..30T..TD..IV3;BU100,101,110,14#,211,221,222,YU210..ARL,EUR,SA;BU102,111,112,212..(DM6,DM7,T2,T3,T4,TW1)..DSL..(ARL,GEN,SA)199505-200008
9007502024
main90075-02024
9018905019
main90189-05019
8 parts on this diagram · 1 diagram in section