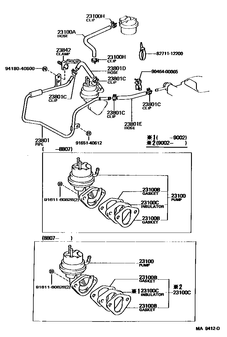
FUEL PUMP & PIPE

23100PUMP ASSY, FUEL
23100AHOSE, FUEL
23100BGASKET, FUEL PUMP
23100CINSULATOR, FUEL PUMP
23100HCLIP(FOR FUEL HOSE)
23801PIPE OR HOSE SUB-ASSY, CARBURETOR FUEL, NO.1
23801CCLIP(FOR CARBURETOR FUEL HOSE)
23801DHOSE, FUEL PIPE, NO.1
L=100
23801EHOSE, FUEL PIPE, NO.2
23842CLAMP, FUEL PIPE(HOSE), NO.2
8271112200WIRE, FUSE TO FUSE(FOR COMBUSTION HEATER)
main82711-12200
9046400065
main90464-00065
9161160828
main91611-60828
9165140612
main91651-40612
9418040600
main94180-40600
15 parts on this diagram · 1 diagram in section