E
EPC Data

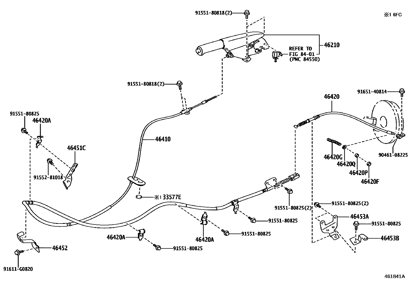
PARKING BRAKE & CABLE

Parts diagram
33577EGROMMET, SHIFT CABLE
main33577-37050i202108-202305
46210LEVER ASSY, PARKING BRAKE
main46210-37130-C0i202108-202503
BLACK,TRIM1#
main46210-37180-C0i202202-202503
BLACK,TRIM1#
46410CABLE ASSY, PARKING BRAKE, NO.1
main46410-25270i202202-202503
main46410-25280i202108-202503
46420CABLE ASSY, PARKING BRAKE, NO.2
main46420-25521i202108-202503
main46420-25530i202108-202305
46420ACLAMP, NO.1(FOR PARKING BRAKE CABLE)
main46411-25010i202108-202503
46420FSEAL, DUST(FOR PARKING BRAKE CABLE)
main90303-10001i202108-202503
46420GSPRING(FOR PARKING CABLE INNER WIRE SET)
main90501-14164i202108-202503
46420PSPACER, PARKING BRAKE
main90560-09045i202108-202503
46420QRING, E(FOR PARKING BRAKE CABLE)
main96160-00700i202108-202503
46451CBRACKET, PARKING BRAKE CABLE SUPPORT, NO.1
main46451-25050i202108-202503
main46451-25090i202202-202503
46452BRACKET, PARKING BRAKE CABLE SUPPORT, NO.2
main33826-37210i202108-202503
46453ABRACKET, CABLE SUPPORT, NO.3
main46453-25110i202108-202503
46453BBRACKET, CABLE SUPPORT, NO.3
main46453-25130i202108-202503
8401
9046108225
9155180818
9155180825
9155281018
91611G0820
9165140814

20 parts on this diagram · 3 diagrams in section

PARKING BRAKE & CABLE — Toyota Parts Diagram with OEM Numbers & Prices | EPC Data