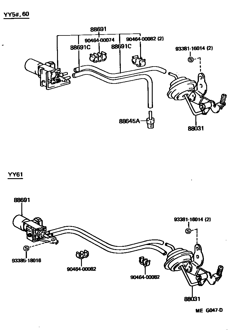
HEATING & AIR CONDITIONING - VACUUM PIPING

88031ACTUATOR SET, IDLE-UP
DEALER OPTION
MAKER OPTION
88645AUNION (FOR IDLE UP DEVICE)
88691VALVE, MAGNET (FOR IDLE UP DEVICE)
MAKER OPTION
MAKER OPTION
DEALER OPTION
DEALER OPTION
88691CHOSE, VACUUM (FOR IDLE UP DEVICE), NO.1
*H,L=280,MARK=#0,MAKER OPTION
*H,L=540,MARK=#0,MAKER OPTION
*H,L=240,MARK=#*,MAKER OPTION
*H,L=480,MARK=#*,MAKER OPTION
9046400074
main90464-00074
9046400082
main90464-00082
9338116014
main93381-16014
9338518016
main93385-18016
8 parts on this diagram · 2 diagrams in section