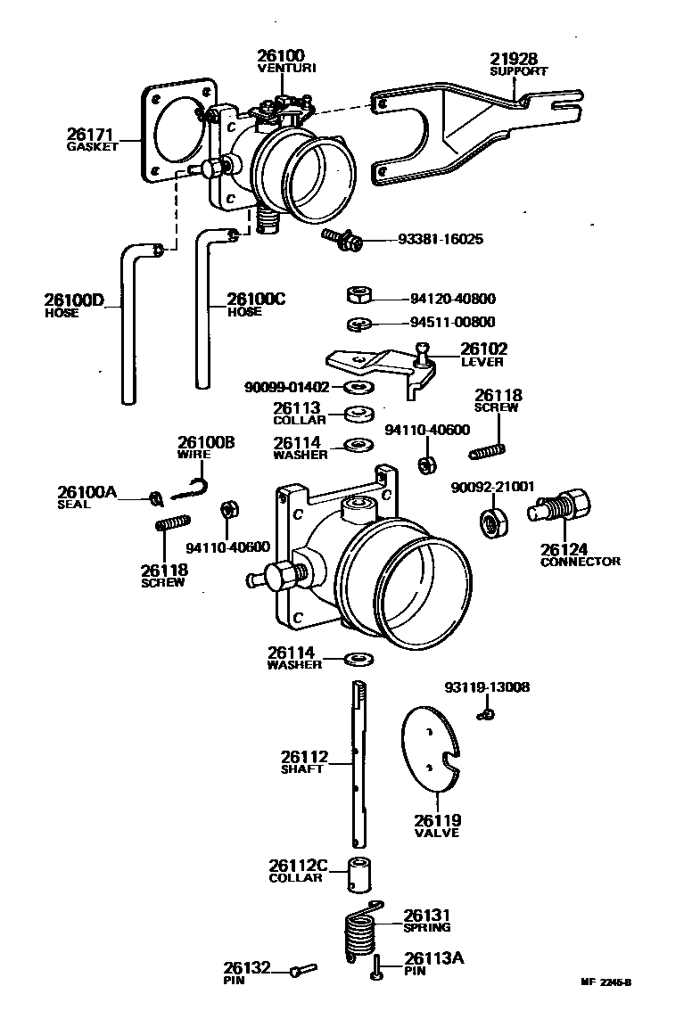
VENTURI

21928SUPPORT, THROTTLE WIRE
26100VENTURI ASSY
26100ASEAL, LEAD
26100BWIRE, SEAL
26100CHOSE, VACCUM, NO.1(VENTURI TO GOVERNOR)
26100DHOSE, VACCUM, NO.2(VENTURI TO GOVERNOR)
26102LEVER SUB-ASSY, THROTTLE SHAFT ADJUSTING
26112SHAFT, VENTURI THROTTLE VALVE
26113COLLAR, THROTTLE VALVE SHAFT
26113APIN, THROTTLE VALVE SHAFT
26114WASHER, THROTTLE VALVE SHAFT ADJUSTING
T=0.1,T=0.1
T=0.2,T=0.2
T=0.5,T=0.5
26118SCREW, STOP PLATE ADJUSTING
26119VALVE, VENTURI THROTTLE
26124CONNECTOR, VENTURI PIPE
26131SPRING, RETURN
26132PIN
26171GASKET, VENTURI
9009221001
main90092-21001
9009901402
main90099-01402
9311913008
main93119-13008
9338116025
main93381-16025
9411040600
main94110-40600
9412040800
main94120-40800
9451100800
main94511-00800
25 parts on this diagram · 1 diagram in section