E
EPC Data

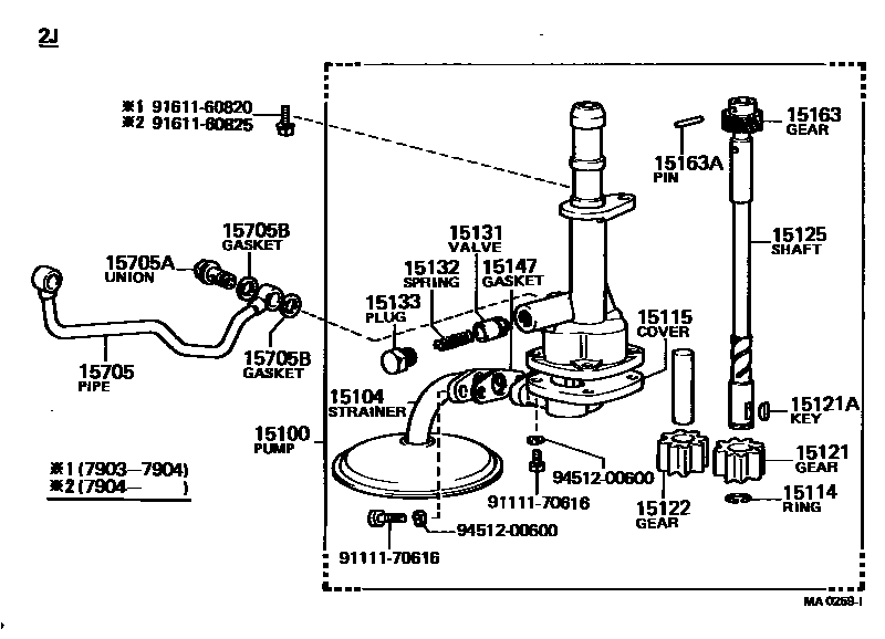
ENGINE OIL PUMP

Parts diagram
15100PUMP ASSY, OIL
main15100-31040i197903-198507
main15100-44030i197903-198507
main15100-48020i197903-197904
main15100-48021i197904-198308
15104STRAINER SUB-ASSY, OIL
main15104-44011i197903-198507
main15104-47020i197903-198308
main15104-54020i197903-198111
main15104-54021i198111-198202
main15104-54022i198202-198507
15114RING, SHAFT SNAP
main15114-46011i197903-198308
15115COVER, OIL PUMP
main15012-31040i197903-198507
main15012-44030i197903-198507
main15115-48020i197903-198308
main15115-54010i197903-198202
main15115-54011i198202-198504
main15115-54012i198504-198507
15121GEAR, OIL PUMP DRIVE
main15121-38020i197903-198202
N=42
main15121-46011i197903-198308
main15121-54010i198202-198507
15121AKEY, OIL PUMP DRIVE SHAFT
main90280-03009i197903-198308
15122GEAR, OIL PUMP DRIVEN
main15122-38020i197903-198202
N=31
main15122-54010i198202-198507
N=31
main15122-60010i197903-198308
N=7
15125SHAFT, OIL PUMP
main15125-46011i197903-198308
15131VALVE, OIL PUMP RELIEF
main15131-24010i197903-198507
15132SPRING, OIL PUMP RELIEF VALVE
main15132-40010i197903-198507
main15132-46010i197903-198308
15133PLUG, OIL PUMP RELIEF VALVE
main15133-24010i197903-198308
15147GASKET, OIL STRAINER
main15147-47010i197903-198308
15163GEAR, OIL PUMP DRIVE SHAFT
main15163-39410i197903-198308
15163APIN, STRAIGHT(FOR OIL PUMP DRIVE SHAFT GEAR)
main90250-05089i197903-198308
15705PIPE SUB-ASSY, OIL, INJECTION PUMP INLET
main15707-48010i197903-198308
15705AUNION(FOR INJECTION PUMP INLET PIPE)
main90401-10006i197903-198308
15705BGASKET(FOR INJECTION PUMP INLET PIPE)
main90430-10035×2i197903-198308
9111170616
9161160820
9161160825
9451200600

21 parts on this diagram · 4 diagrams in section

ENGINE OIL PUMP — Toyota Parts Diagram with OEM Numbers & Prices | EPC Data