E
EPC Data

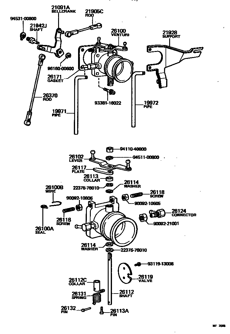
VENTURI

Parts diagram
19971PIPE, VACUUM(FOR VENTURI)
main90446-10331i197207-197209
main90447-14029i197209-197708
19972PIPE, AIR CLEANER VENT
main90446-10331i197207-197902
21091ABELLCRANK, CHOKE ROD(FOR VENTURI)
main21971-48011i197207-197708
21905CROD, ACCELERATOR CONNECTING(FOR VENTURI)
main21905-48011i197207-197708
21928SUPPORT, THROTTLE WIRE
main21928-48011i197207-197708
main21928-48020i197708-197902
21942JSHAFT, ACCELERATOR LINK(FOR VENTURI)
main21941-47010i197207-197708
26100VENTURI ASSY
main26100-48014i197207-197708
main26100-48020i197708-197902
26100ASEAL, LEAD
main22354-76010i197207-197708
main22354-77050i197708-197902
26100BWIRE, SEAL
main22355-36010i197708-197902
main22355-76010i197207-197708
26102LEVER SUB-ASSY, THROTTLE SHAFT ADJUSTING
main26102-48014i197207-197708
main26102-48020i197708-197902
26112SHAFT, VENTURI THROTTLE VALVE
main26112-56010i197207-197902
26112CCOLLAR, ADJUSTING
main26113-56010i197207-197902
26113COLLAR, THROTTLE VALVE SHAFT
main26113-47020i197207-197902
26113APIN, THROTTLE VALVE SHAFT
main26132-56011i197207-197902
26114WASHER, THROTTLE VALVE SHAFT ADJUSTING
main26114-76010i197207-197902
T=0.1,T=0.10
main26115-76010i197207-197902
T=0.2,T=0.20
main26116-76010i197207-197902
T=0.5,T=0.50
26117PLATE, THROTTLE VALVE SHAFT STOP
main26117-56010i197207-197902
26118SCREW, STOP PLATE ADJUSTING
main26118-48014×2i197207-197902
26119VALVE, VENTURI THROTTLE
main26119-48010i197207-197902
26124CONNECTOR, VENTURI PIPE
main26124-48014i197207-197708
main26124-48020i197708-197902
26131SPRING, RETURN
main26131-48014i197207-197902
26132PIN
main26132-56010i197207-197902
26171GASKET, VENTURI
main26171-46010i197207-197902
26370ROD SUB-ASSY, PNEUMATIC GOVERNOR CONNECTING
main26370-48012i197207-197708
2237576010WASHER, STOP LEVER SHAFT
9009210605
9009221001
9311913008
9338116022
9411040800
9451100800
9453100800
9616000600

32 parts on this diagram · 2 diagrams in section

VENTURI — Toyota Parts Diagram with OEM Numbers & Prices | EPC Data