E
EPC Data

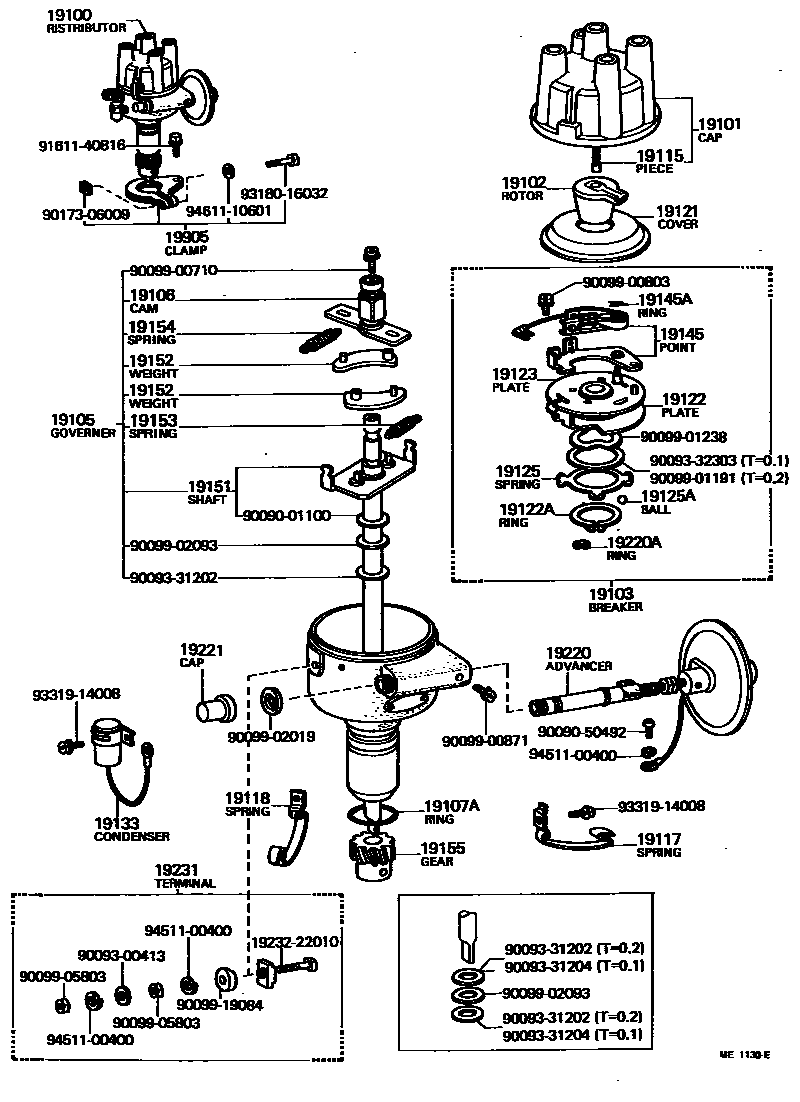
DISTRIBUTOR

Parts diagram
19100DISTRIBUTOR ASSY
main19100-31020i197109-197511
main19100-31021i197511-197902
main19100-44012i197207-197309
main19100-44020i197309-197708
main19100-44043i197507-197902
CHINA SPEC.
main19100-44120i197708-197902
19101CAP SUB-ASSY, DISTRIBUTOR
main19101-21011i197109-197511
main19101-31013i197511-197902
main19101-33012i197207-197708
main19101-33013i197311-197902
19102ROTOR SUB-ASSY, DISTRIBUTOR
main19102-22010i197109-197902
main19102-33012i197207-197902
19103BREAKER SUB-ASSY, DISTRIBUTOR
main19103-21013i197109-197502
main19103-22011i197502-197902
main19103-33011i197207-197209
main19103-33012i197209-197311
main19103-33013i197311-197902
19105GOVERNOR SUB-ASSY
main19105-31013i197109-197511
main19105-31021i197511-197902
main19105-44011i197207-197902
19106CAM SUB-ASSY, DISTRIBUTOR
main19106-31010i197109-197902
main19106-33011i197306-197902
main19106-33013i197507-197902
CHINA SPEC.
main19106-44011i197207-197306
19107ARING, O, DISTRIBUTOR HOUSING
main90099-14020i197109-197902
19115PIECE, DISTRIBUTOR CAP, CENTER
main19115-50010i197109-197902
19117SPRING, DISTRIBUTOR CAP, A
main19117-30030i197109-197902
main19117-33011i197207-197902
19118SPRING, DISTRIBUTOR CAP, B
main19118-30030i197109-197902
main19118-33011i197207-197902
19121COVER, DUST PROOF
main19121-10010i197109-197902
main19121-33011i197207-197902
19122PLATE, STATIONARY, DISTRIBUTOR
main19122-29021i197109-197902
main19122-33011i197207-197209
main19122-33012i197209-197311
main19122-33013i197311-197902
19122ARING, SNAP(FOR DISTRIBUTOR STATIONARY PLATE)
main90099-07081i197109-197902
19123PLATE, DISTRIBUTOR BREAKER
main19123-29023i197109-197502
main19123-41011i197502-197902
19125SPRING(FOR DISTRIBUTOR STATIONARY PLATE)
main19125-30010i197109-197902
19125ABALL, DISTRIBUTOR STATIONARY PLATE
main90099-12003i197109-197902
19133CONDENSER, DISTRIBUTOR
main19133-10010i197109-197301
main90099-52002i197301-197511
main90099-52050i197207-197510
main90099-52059i197510-197902
main90099-52060i197511-197902
19145POINT, DISTRIBUTOR
main04191-40010i197109-197502
main19145-26060i197502-197902
main19145-41010i197207-197502
19145ARING, SNAP(FOR DISTRIBUTOR KIT)
main90099-07042i197109-197502
19151SHAFT, GOVERNOR
main19151-22031i197511-197902
main19151-23010i197109-197511
main19151-33011i197207-197902
19152WEIGHT, GOVERNOR
main19152-32010i197109-197701
main19152-33011i197207-197405
main19152-45060i197405-197902
main19152-87104i197701-197902
19153SPRING, GOVERNOR, A
main19153-31013i197109-197511
main19153-31021i197511-197902
main19153-44011i197207-197902
19154SPRING, GOVERNOR, B
main19153-31013i197109-197511
main19154-31021i197511-197902
main19154-44011i197207-197708
main19154-44012i197708-197902
19155GEAR, SPIRAL, DISTRIBUTOR
main19195-31020i197511-197902
main19195-33011i197207-197902
main19195-40025i197109-197511
19220ADVANCER ASSY, VACUUM, DISTRIBUTOR
main19220-31014i197109-197511
main19220-31020i197511-197902
main19220-44011i197207-197309
main19220-44020i197309-197708
main19220-44042i197507-197902
CHINA SPEC.
main19220-44111i197708-197902
19220ARING, SNAP(FOR DISTRIBUTOR VACUUM ADVANCER)
main90099-07011i197109-197301
main90099-07104i197301-197902
19221CAP, ADJUSTER, DISTRIBUTOR
main19221-30030i197109-197902
19231TERMINAL, DISTRIBUTOR
main19231-22010i197109-197902
main19231-33011i197207-197902
19905CLAMP SUB-ASSY, DISTRIBUTOR
main19905-40010i197109-197902
main19955-33010i197207-197902
1923222010TERMINAL, DISTRIBUTOR, NO.2
9009001100
9009050492
9009300413
9009331202
9009331204
9009332303
9009900710
9009900803
9009900871
9009901191
9009901238
9009902019
9009902093
9009905803
9009919084
9017306009
9161140816
9318016032
9331914008
9451100400
9461110601

51 parts on this diagram · 2 diagrams in section

DISTRIBUTOR — Toyota Parts Diagram with OEM Numbers & Prices | EPC Data