E
EPC Data

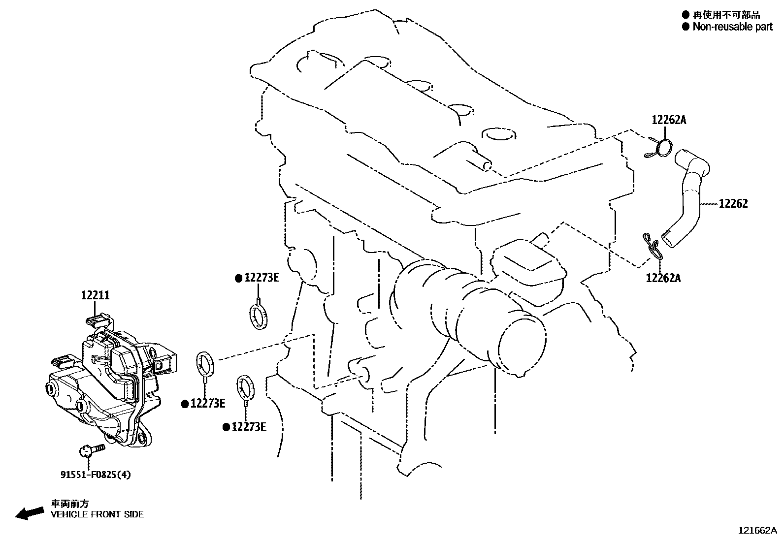
VENTILATION HOSE

Parts diagram
12211CASE, VENTILATION, NO.1
main12211-25011i202306
INDIA SPEC
12262HOSE, VENTILATION, NO.2
main12260-25020i202311
main12262-25070i202311
main12262-25080i202306
12262ACLIP(FOR VENTILATION HOSE NO.2)
main90467-21004×2i202306
main90467-23002×2i202311
12273EGASKET(FOR VENTILATION CASE)
main12273-24010×3i202306
INDIA SPEC
91551F0825

5 parts on this diagram · 2 diagrams in section

VENTILATION HOSE — Toyota Parts Diagram with OEM Numbers & Prices | EPC Data