E
EPC Data

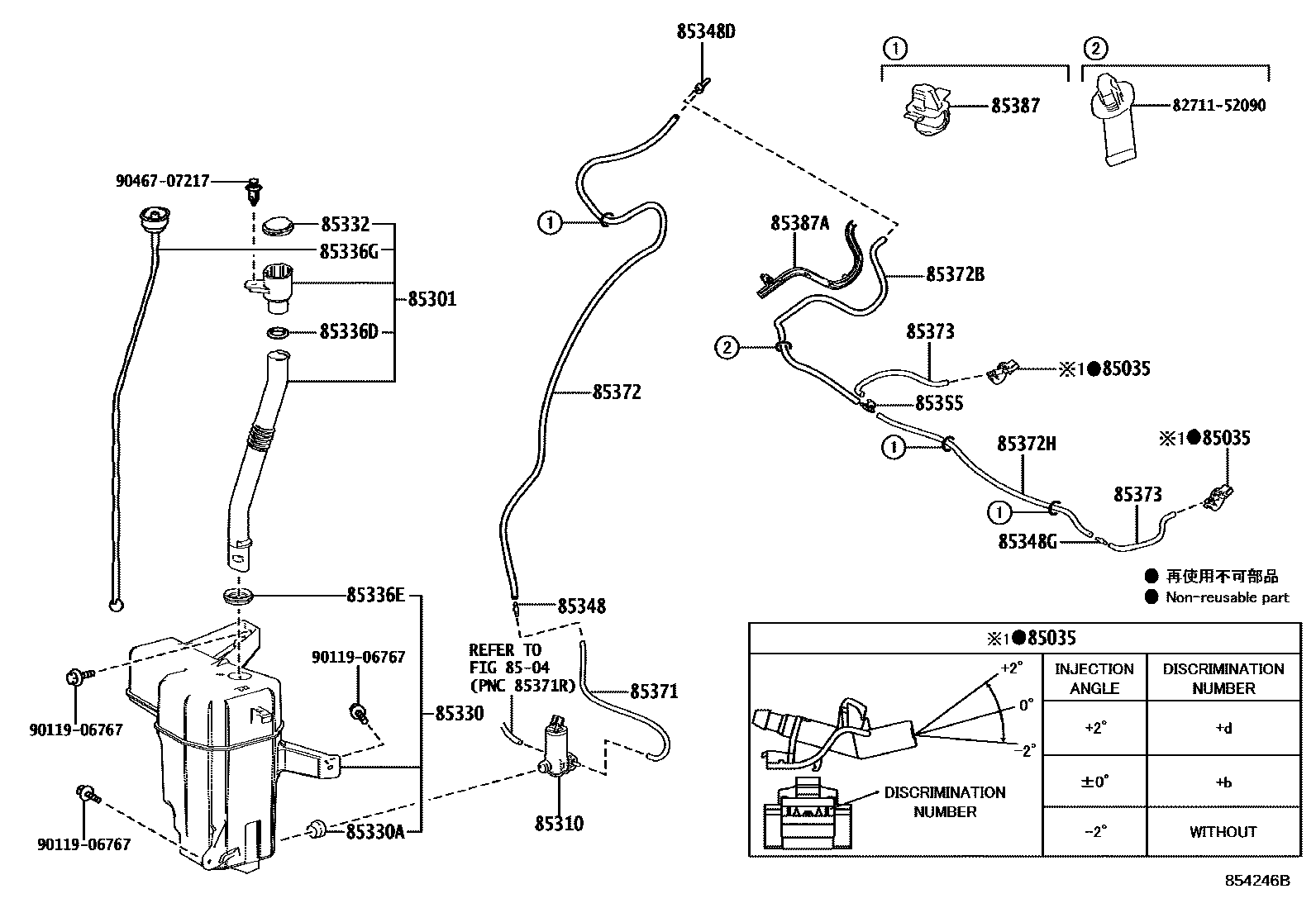
WINDSHIELD WASHER

Parts diagram
85035NOZZLE SUB-ASSY, WASHER
main85381-30220×2i202001
ANGLE 0
main85381-30230×2i202001
ANGLE -2
main85381-30240×2i202001
ANGLE +2
8504REAR WASHER
85301INLET SUB-ASSY, WASHER
main85319-58030i202001
TAIWAN SPEC
main85319-58050i202001-202111
main85319-58051i202111
85310MOTOR AND PUMP ASSY, WINDSHIELD WASHER
main85330-47100i202001
85330JAR ASSY, WINDSHIELD WASHER
main85315-58030i202001
TAIWAN SPEC
main85315-58050i202001
85330ABUSH, WINDSHIELD WASHER JAR
main90099-32089i202001
85332CAP, WINDSHIELD WASHER JAR
main85316-26030i202001
TAIWAN SPEC
main85316-58050i202001-202111
main85316-58051i202111
85336DPACKING, WINDSHIELD WASHER JAR
main85336-42320i202001
85336EPACKING, WINDSHIELD WASHER INLET HOSE
main85336-30160i202001
85336GGAGE, WATER LEVEL
main85312-28010i202001
85348JOINT, WINDSHIELD WASHER HOSE, NO.1
main85349-89122i202001
85348DJOINT, WINDSHIELD WASHER ELBOW, NO.1
main85355-20200i202001
85348GJOINT, WINDSHIELD WASHER HOSE, NO.2
main85349-89122i202001
85355VALVE, WINDSHIELD WASHER HOSE
main85321-28020i202001
85371HOSE, WINDSHIELD WASHER (FROM MOTOR TO JOINT)
main90099-33080i202001
L=1450(*H,L=300); L=1450(*H,L=300),TAIWAN SPEC
85372HOSE, WINDSHIELD WASHER (FROM JOINT TO JOINT), NO.1
main90099-33080i202001
L=1450(*H,L=1000)
85372BHOSE, WINDSHIELD WASHER (FROM JOINT TO JOINT), NO.2
main90099-33080i202001
L=1450(*H,L=730)
85372HHOSE, WINDSHIELD WASHER (FROM JOINT TO JOINT), NO.3
main90099-33080i202001
L=1450(*H,L=590)
85373HOSE, WINDSHIELD WASHER (FROM JOINT TO NOZZLE)
main90099-33080×2i202001
L=1450(*H,L=180)
85387CLAMP NO.1 (FOR WINDSEIELD WASHER)
main85371-12040×3i202001
85387ACLAMP, WASHER, NO.2
main85387-58220i202001
8271152090WIRE, FUSE TO FUSE(FOR COMBUSTION HEATER)
9011906767
9046707217

24 parts on this diagram · 1 diagram in section

WINDSHIELD WASHER — Toyota Parts Diagram with OEM Numbers & Prices | EPC Data