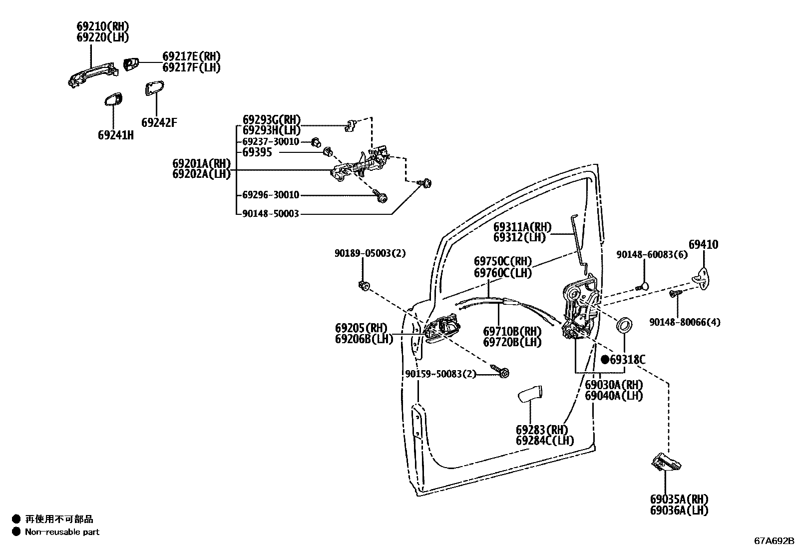
FRONT DOOR LOCK & HANDLE

69030ALOCK ASSY, FRONT DOOR W/MOTOR, RH
69035ACOVER SUB-ASSY, FRONT DOOR LOCK, RH
69036ACOVER SUB-ASSY, FRONT DOOR LOCK, LH
69040ALOCK ASSY, FRONT DOOR W/MOTOR, LH
69201AFRAME SUB-ASSY, FRONT DOOR OUTSIDE HANDLE, RH
69202AFRAME SUB-ASSY, FRONT DOOR OUTSIDE HANDLE, LH
69205HANDLE SUB-ASSY, FRONT DOOR INSIDE, RH
BLACK,TRIM0#,2#
69206BHANDLE SUB-ASSY, FRONT DOOR INSIDE, LH
BLACK,TRIM0#,2#
69210HANDLE ASSY, FRONT DOOR, OUTSIDE RH
PLATED
69217ECOVER, FRONT DOOR OUTSIDE HANDLE, RH
*CR
69217FCOVER, FRONT DOOR OUTSIDE HANDLE, LH
*CR
69220HANDLE ASSY, FRONT DOOR OUTSIDE, LH
PLATED
69241HPAD, FRONT DOOR OUTSIDE HANDLE, FRONT
69242FPAD, FRONT DOOR OUTSIDE HANDLE, REAR
69283PLUG, FRONT DOOR INSIDE HANDLE BEZEL, RH
BLACK,TRIM0#,2#
69284CPLUG, FRONT DOOR INSIDE HANDLE BEZEL, LH
BLACK,TRIM0#,2#
69293GSNAP, FRONT DOOR OUTSIDE HANDLE, RH
69293HSNAP, FRONT DOOR OUTSIDE HANDLE, LH
69311AROD, FRONT DOOR LOCK OPEN, RH
69312ROD, FRONT DOOR LOCK OPEN, LH
69318CSEAL, DOOR LOCK WIRING HARNESS
69395BUSH(FOR DOOR OUTSIDE HANDLE)
69410PLATE ASSY, FRONT DOOR LOCK STRIKER
69710BCABLE ASSY, FRONT DOOR LOCK REMOTE CONTROL, RH
69720BCABLE ASSY, FRONT DOOR LOCK REMOTE CONTROL, LH
69750CCABLE ASSY, FRONT DOOR INSIDE LOCKING, RH
69760CCABLE ASSY, FRONT DOOR INSIDE LOCKING LH
6923730010RETAINER, DOOR OUTSIDE HANDLE
main69237-30010
6929630010SCREW, DOOR INSIDE HANDLE
main69296-30010
9014850003
main90148-50003
9014860083
main90148-60083
9014880066
main90148-80066
9015950083
main90159-50083
9018905003
main90189-05003
34 parts on this diagram · 1 diagram in section