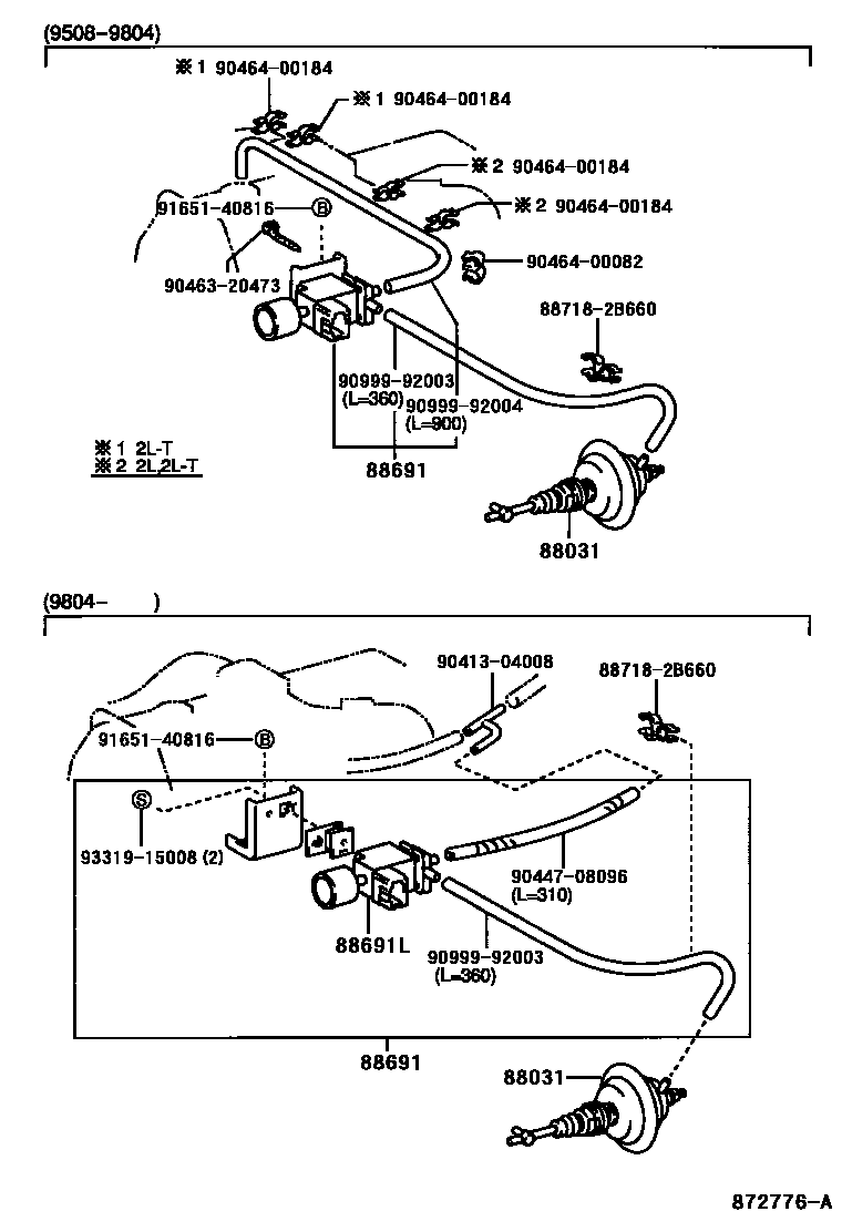
HEATING & AIR CONDITIONING - VACUUM PIPING

88031ACTUATOR SET, IDLE-UP
88691VALVE, MAGNET (FOR IDLE UP DEVICE)
88691LVALVE, MAGNET (FOR IDLE UP DEVICE)
887182B660PIPE, COOLER REFRIGERANT SUCTION, NO.2
main88718-2B660
9041304008
main90413-04008
9044708096
main90447-08096
9046320473
main90463-20473
9046400082
main90464-00082
9046400184
main90464-00184
9099992003
main90999-92003
9099992004
main90999-92004
9165140816
main91651-40816
9331915008
main93319-15008
13 parts on this diagram · 2 diagrams in section