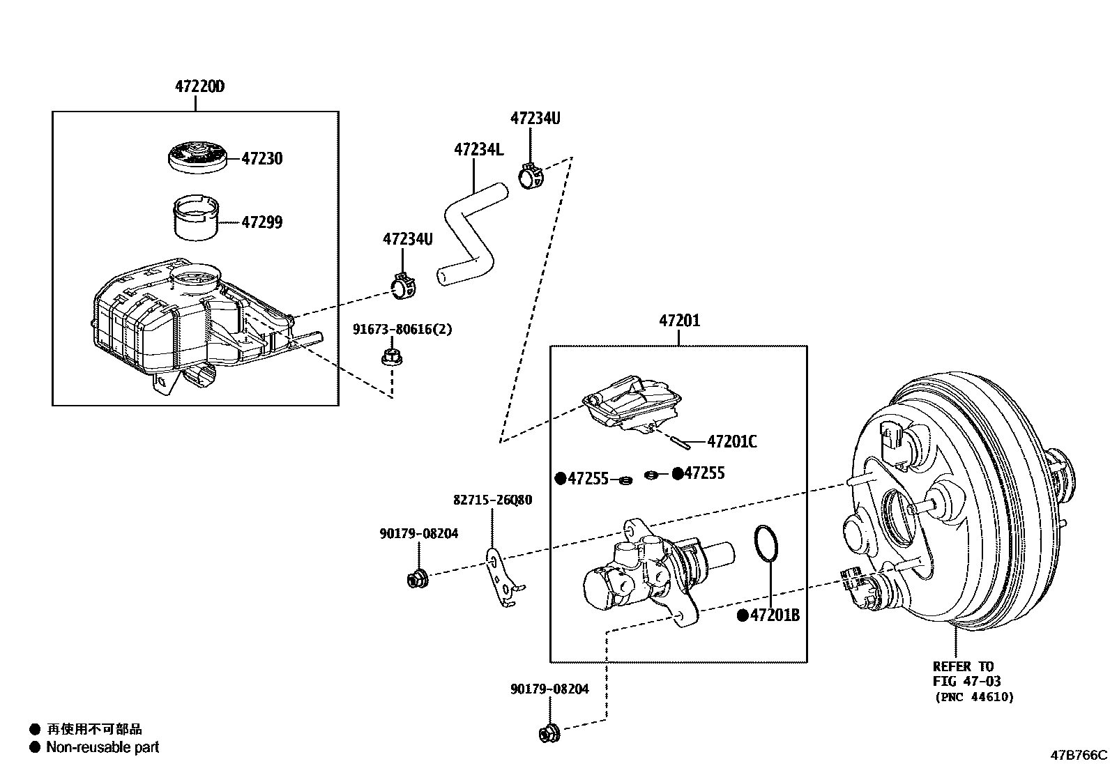
BRAKE MASTER CYLINDER

4703BRAKE BOOSTER & VACUUM TUBE
47201CYLINDER SUB-ASSY, BRAKE MASTER
main47201-26860iGDH301..LHD..SG..6F..N;GDH320..PSOB..6FC..GEN;GDH300,301..LHD..D..GEN;GDH320,GRH301..LHD..6F..D..GEN201902-202505
VEHICLE STABILITY CONTROL-WITH
VEHICLE STABILITY CONTROL-WITHOUT
47201BRING, O(FOR BRAKE MASTER CYLINDER)
47201CRING PIN, BRAKE MASTER CYLINDER
main90015-AE401iGDH320..BZ;GRH300..ARL;GRH301..6F..N;GDH320..6F..ARL;GDH300..4D..6F..ARL;GDH322..RHD..GSOB..N;GRH320..LHD..SP..GEN;GDH306,321,GRH320..RHD;GDH322..LHD..GSOB..6FC;GDH322..LHD..SG..P..GEN;GDH322..P..(ARL,GCC,NZ);GDH322,GRH300..(GSOB,SP)..6F..(D,P)..GEN;GDH322..SG..(D,N,Q)..(AGT,ARL,GCC,GEN,TH);GDH306,320,GRH301..LHD..(SG,SP)..6FC..(D,J,N)..GEN;GDH303,328,GRH300,303,321,322..(GSOB,SG)..(D,G,J,N,P,Q)201902
47220DRESERVOIR ASSY, BRAKE MASTER CYLINDER
47230CAP ASSY, BRAKE MASTER CYLINDER RESERVOIR FILLER
47234LHOSE, RESERVOIR, NO.1
main47234-26240iGDH300..RHD..5D;GDH322..RHD..6FC..P;GDH322..RHD..GSOB..N;GDH301..RHD..GSOB..6FC;GDH300..4D..SP..(ARL,TH);GDH300,322..RHD..4D..(GSOB,SP)..6F..GEN;GDH300,322..RHD..4D..(PSOB,SG)..(D,N,Q);GDH301,303,304,306,320,321,GRH30#,32#..RHD..(PSOB,SG,SP)201902
47234UCLIP(FOR RESERVOIR HOSE NO.1)
47255GROMMET, MASTER CYLINDER RESERVOIR
main90015-AT001×2iGDH301..SG;GRH320..LHD..SG;GRH301..RHD..6FC..N;GDH322..GSOB..6F..N;GDH301..LHD..GSOB..6F;GDH300..4D..6F..(GEN,TH);GDH320,GRH301..LHD..6F..D;GDH320..6FC..(AGT,ARL,GCC);GDH320,GRH300,301..RHD..D..GEN;GDH300,303,304,GRH304..5D..(D,H);GDH300,301..4D..(GSOB,PSOB,SP)..6FC;GRH300,320..(HPSOB,PSOB,SHP,SP)..GCC;GDH306,320..LHD..5D..(PSOB,SG)..6FC..(D,G)..GEN201902-202505
47299STRAINER, BRAKE MASTER CYLINDER RESERVOIR
8271526Q80BRACKET,WIRING HARNESS CLAMP
main82715-26Q80
9017908204
main90179-08204
9167380616
main91673-80616
13 parts on this diagram · 2 diagrams in section