E
EPC Data

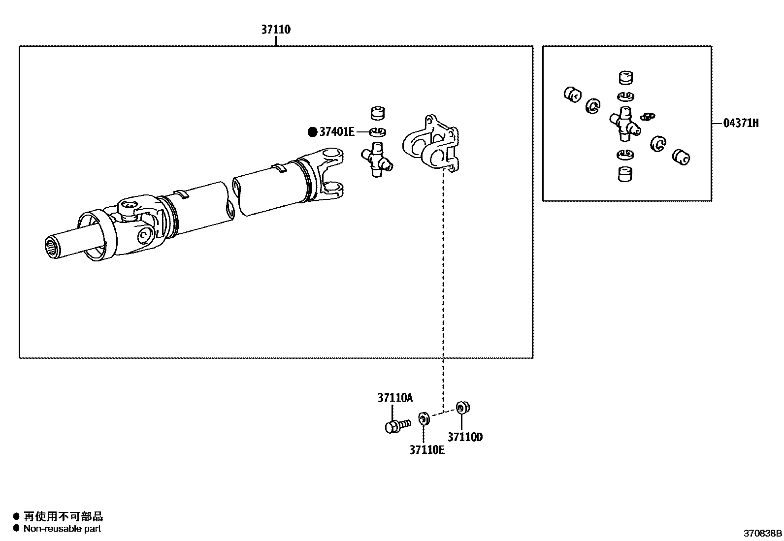
PROPELLER SHAFT & UNIVERSAL JOINT

Parts diagram
04371HSPIDER KIT, REAR PROPELLER SHAFT UNIVERSAL JOINT
main04371-60070×2i201312-201901
main04371-60100×2i201911-202107
37110SHAFT ASSY, PROPELLER
main37110-25580i201908-202506
main37110-26880i202302-202506
main37110-26890i201312-201501
main37110-26A00i201312-202301
main37110-26A10i201312-202301
main37110-26A50i201501-202107
main37110-26A70i201701
37110ABOLT (FOR PROPELLER SHAFT)
main90105-10466×4i201909
*10-1.00PX29-15
37110DNUT (FOR PROPELLER SHAFT)
main90178-10007×4i201909
37110EWASHER (FOR PROPELLER SHAFT)
main90560-10102×4i201312-201901
37401ERING, SNAP (FOR REAR PROPELLER SHAFT JOINT SPIDER BEARING)
main90520-25039×8i201312-201902
T=2.29,MARK 1
main90520-25040×8i201312-201902
T=2.31,MARK 2
main90520-25041×8i201908
T=2.33,NO MARK
main90520-25042×8i201312-202301
T=2.35,BROWN
main90520-25043×8i201312-202506
T=2.37,BLUE
main90520-25044×8i201312-202507
T=2.39,MARK 6
main90520-25045×8i201312-202212
T=2.41,MARK 7
main90520-25046×8i201911-202107
T=2.43,MARK 8
main90520-25047×8i201911
T=2.45,MARK 9
main90520-25048×8i201908
T=2.47,MARK 10
main90520-25049×8i201911-202107
T=2.49,MARK A
main90520-25050×8i201909
T=2.51,MARK B
main90520-25051×8i201312-201904
T=2.53,MARK C
main90520-25052×8i201312-202507
T=2.55,MARK D
main90520-25053×8i201312-202506
T=2.57,MARK E
main90520-25054×8i201911
T=2.19,MARK D
main90520-25055×8i201908-202312
T=2.21,MARK E
main90520-25056×8i201312-201904
T=2.23,MARK F
main90520-25057×8i201908-202312
T=2.25,MARK G
main90520-25058×8i201909
T=2.27,MARK H

6 parts on this diagram · 2 diagrams in section

PROPELLER SHAFT & UNIVERSAL JOINT — Toyota Parts Diagram with OEM Numbers & Prices | EPC Data