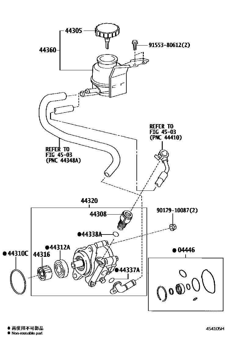
VANE PUMP & RESERVOIR (POWER STEERING)

04446GASKET KIT, POWER STEERING PUMP
44305CAP SUB-ASSY, VANE PUMP OIL RESERVOIR
44308UNION SUB-ASSY, PRESSURE PORT
44310CRING, O(FOR VANE PUMP)
44312ABEARING(FOR VANE PUMP SHAFT)
44316GEAR, VANE PUMP
44320PUMP ASSY, VANE
44337ARING, O(FOR POWER STEERING SUCTION PORT)
44338ARING, O(FOR PRESSURE PORT UNION)
OD=22,ID=18.6
44360RESERVOIR ASSY, VANE PUMP OIL
4503
9017910087
main90179-10087
9155380612
main91553-80612
13 parts on this diagram · 3 diagrams in section