E
EPC Data

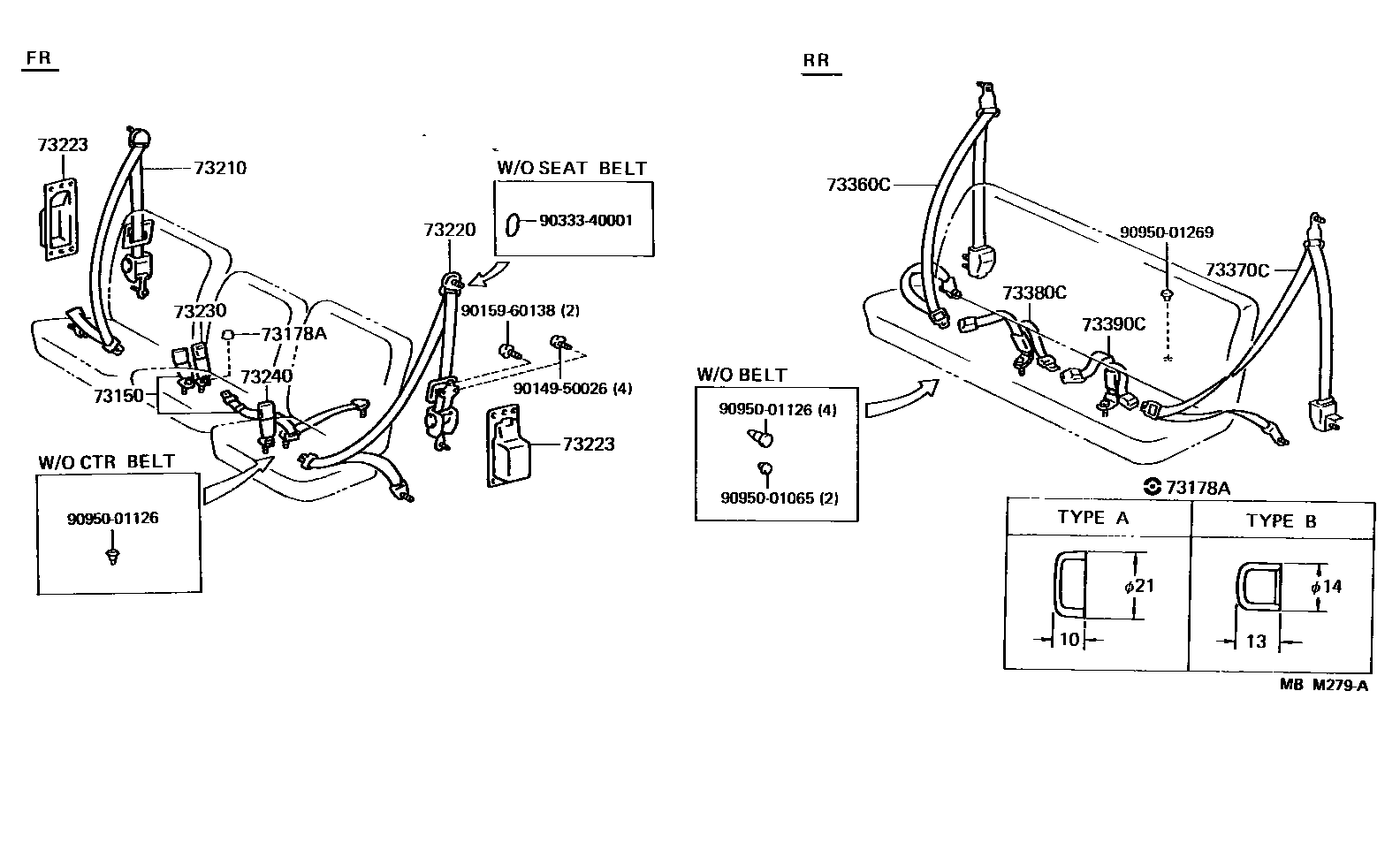
SEAT BELT

Parts diagram
73150BELT ASSY, FRONT SEAT LAP TYPE, CENTER
main73150-95J09-06i198708-198908
THAILAND SPEC,BROWN,TRIM4#
main73150-95J10i199608
main73150-95J10-06i198712-198908
BROWN,TRIM4#
main73150-95J10-B0i199206-199608
GRAY,TRIM1#
main73150-95J11-06i198708-198801
IVORY COAST SPEC,BROWN,TRIM4#
main73150-95J13-06i198708-198908
CKD SPEC,BROWN,TRIM4#
main73150-95J16-06i198708-198908
BROWN,TRIM4#
73178ACAP, SEAT BELT ANCHOR COVER
main73178-95J00×2i198712-198908
73210BELT ASSY, FRONT SEAT OUTER, RH
main73210-95J16-06i198708-198908
CKD SPEC OR W(3P ELRX2),BROWN,TRIM4#
main73210-95J20i199608
main73210-95J20-06i198708-198908
*GUS,BROWN,TRIM4#
main73210-95J20-B0i199608
GRAY,TRIM1#
main73210-95J22-04i198708-198908
BLUE,TRIM8#
main73210-95J22-06i198708-198908
BROWN,TRIM4#
73220BELT ASSY, FRONT SEAT OUTER, LH
main73210-95J16-06i198712-198801
BROWN,TRIM4#
main73210-95J20i199206-199608
main73210-95J20-06i198708-198801
IVORY COAST SPEC,BROWN,TRIM4#
main73210-95J20-B0i199206-199608
GRAY,TRIM1#
main73210-95J22-04i198708-198908
BLUE,TRIM8#
main73210-95J22-06i198708-198908
BROWN,TRIM4#
73223COVER, SEAT BELT RETRACTOR
main73223-95J00×2i198801-198908
73230BELT ASSY, FRONT SEAT INNER, RH
main73230-95J09i198708-198709
W(3P ELRX2)
main73230-95J09-06i198709-198908
CKD SPEC OR W(3P ELRX2),BROWN,TRIM4#
main73230-95J10i199608
main73230-95J10-06i199203-199206
BROWN,TRIM4#
main73230-95J10-B0i199608
GRAY,TRIM1#
main73230-95J11-06i198801-198908
IVORY COAST SPEC,BROWN,TRIM4#
main73230-95J13-06i198708-198801
BROWN,TRIM4#
main73230-95J14-04i198708-198908
BLUE,TRIM8#
main73230-95J14-06i198708-198908
BROWN,TRIM4#
73240BELT ASSY, FRONT SEAT INNER, LH
main73240-95J13-06i198708-198712
BROWN,TRIM4#
main73240-95J15i199608
main73240-95J15-06i198712-198908
W(3P ELRX2 & 2P NRX1),BROWN,TRIM4#
main73240-95J15-B0i199608
GRAY,TRIM1#
main73240-95J16-06i198708-198801
IVORY COAST SPEC,BROWN,TRIM4#
main73240-95J19-06i198708-198908
*GUS,BROWN,TRIM4#
main73240-95J20-06i198708-198801
BROWN,TRIM4#
main73240-95J21-06i198708-198908
BROWN,TRIM4#
main73240-95J23-04i198708-198908
BLUE,TRIM8#
73360CBELT ASSY, REAR NO.1 SEAT, OUTER RH
main73360-95J06-04i198708-198908
BLUE,TRIM8#
main73360-95J07-06i198708-198908
BROWN,TRIM4#
73370CBELT ASSY, REAR NO.1 SEAT, OUTER LH
main73360-95J07-06i198708-198908
BROWN,TRIM4#
main73370-95J01-04i198708-198908
BLUE,TRIM8#
73380CBELT ASSY, REAR NO.1 SEAT, INNER RH
main73380-95J04-04i198708-198908
BLUE,TRIM8#
main73380-95J04-06i198708-198908
BROWN,TRIM4#
73390CBELT ASSY, REAR NO.1 SEAT, INNER LH
main73390-95J01-04i198708-198908
BLUE,TRIM8#
main73390-95J01-06i198708-198908
BROWN,TRIM4#
9014950026
9015960138
9033340001
9095001065
9095001126
9095001269

17 parts on this diagram · 2 diagrams in section

SEAT BELT — Toyota Parts Diagram with OEM Numbers & Prices | EPC Data