E
EPC Data

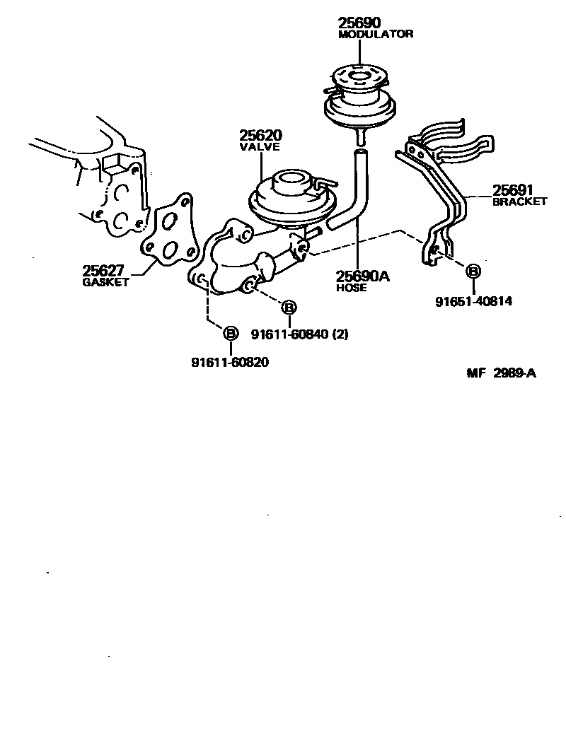
EXHAUST GAS RECIRCULATION SYSTEM

Parts diagram
25620VALVE ASSY, EGR
main25620-71040i198212-198401
main25620-71050i198212-198401
25627GASKET, EGR VALVE
main25627-71010i198212-198401
25690MODULATOR ASSY, EGR VACUUM
main25870-71010i198212-198401
main25870-71030i198212-198401
25690AHOSE(FOR EGR VACUUM MODULATOR)
main90910-06037i198212-198401
25691BRACKET, EGR VACUUM MODULATOR
main25691-71010i198212-198401
9161160820
9161160840
9165140814

8 parts on this diagram · 1 diagram in section

EXHAUST GAS RECIRCULATION SYSTEM — Toyota Parts Diagram with OEM Numbers & Prices | EPC Data