E
EPC Data

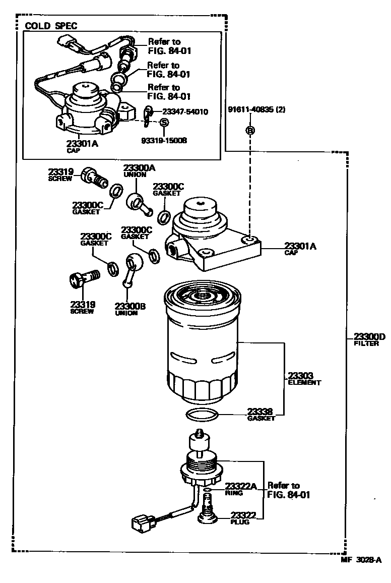
FUEL FILTER

Parts diagram
23300FILTER ASSY, FUEL
main23300-26060198212-198807
23300AUNION, NIPPLE(FOR FUEL FILTER INLET)
main90405-08016198212-198608
23300BUNION, NIPPLE(FOR FUEL FILTER OUTLET)
main90405-08016198212-198608
23300CGASKET, NIPPLE UNION(FOR FUEL)
main22447-47030198212-198608
23300DFILTER ASSY, FUEL(FOR DIESEL)
main23300-54130198212-198608
23301ACAP ASSY, FUEL FILTER
main23301-54130198508-198608
main23301-54190198608-198708
main23301-54250198608-198708
main23301-64010198212-198608
23303ELEMENT SUB-ASSY, FUEL FILTER
main23303-64010198212-198708
23319SCREW, FUEL PIPE FOLLOW
main90099-18011198212-198608
23322PLUG, DRAIN(FOR FUEL FILTER)
main23322-64020198212-198708
23322ARING, O(FOR DRAIN PLUG)
main23344-54010198212-198708
23338GASKET(FOR WARNING SWITCH)
main23344-64010198212-198708
8401SWITCH & RELAY & COMPUTER
2334754010CLIP, CORD
9161140835
9331915008

15 parts on this diagram · 3 diagrams in section

FUEL FILTER — Toyota Parts Diagram with OEM Numbers & Prices | EPC Data