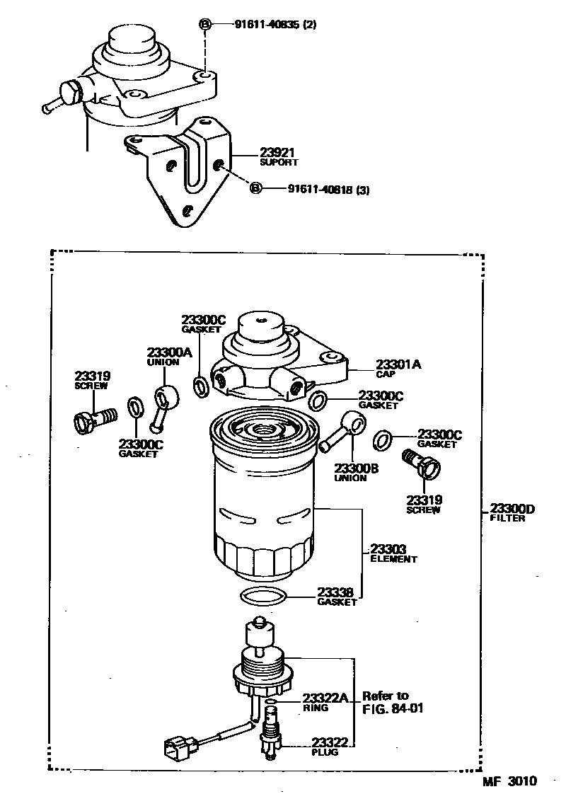
FUEL FILTER

23300FILTER ASSY, FUEL
23300AUNION, NIPPLE(FOR FUEL FILTER INLET)
23300BUNION, NIPPLE(FOR FUEL FILTER OUTLET)
23300CGASKET, NIPPLE UNION(FOR FUEL)
23300DFILTER ASSY, FUEL(FOR DIESEL)
23301ACAP ASSY, FUEL FILTER
23303ELEMENT SUB-ASSY, FUEL FILTER
23319SCREW, FUEL PIPE FOLLOW
23322PLUG, DRAIN(FOR FUEL FILTER)
23322ARING, O(FOR DRAIN PLUG)
23338GASKET(FOR WARNING SWITCH)
8401SWITCH & RELAY & COMPUTER
9161140818
main91611-40818
9161140835
main91611-40835
15 parts on this diagram · 2 diagrams in section