E
EPC Data

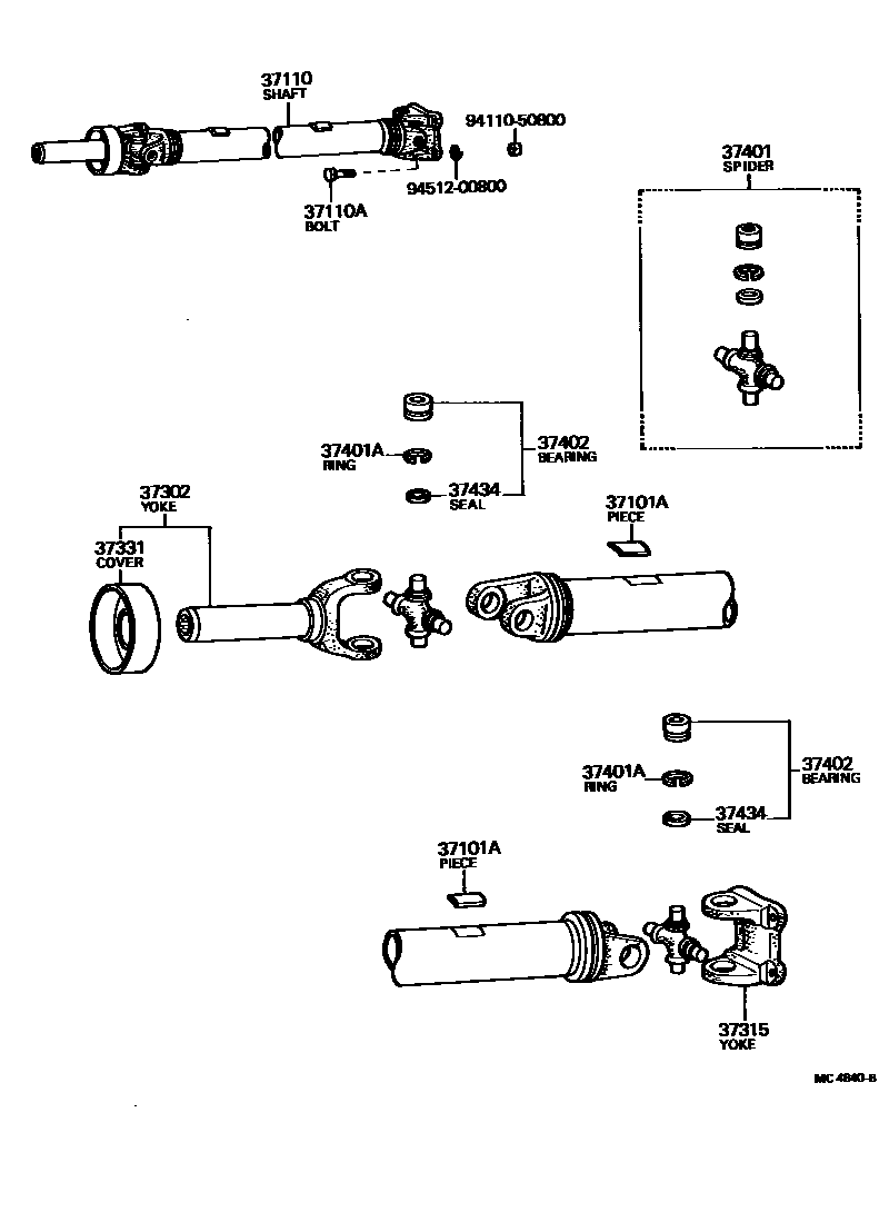
PROPELLER SHAFT & UNIVERSAL JOINT

Parts diagram
37101APIECE, BALANCE, NO.1 (FOR PROPELLER SHAFT)
main90937-01132i197702-198211
10G,L=20.7,10G
main90937-01136i197702-198211
20G,L=41.4,20G
main90937-01140i197702-198211
30G,L=62.2,30G
main90937-01147i197702-198211
2G,T=2.0,2G
main90937-01148i197702-198211
4G,T=2.0,4G
main90937-01149i197702-198211
6G,L=12.4,6G
main90937-01150i197702-198211
8G,L=16.6,8G
main90937-01151i197702-198211
12G,L=24.9,12G
main90937-01152i197702-198211
14G,L=29.0,14G
main90937-01153i197702-198211
16G,L=33.2,16G
main90937-01154i197702-198211
18G,L=37.3,18G
main90937-01155i197702-198211
22G,L=45.6,22G
main90937-01156i197702-198211
24G,L=49.7,24G
main90937-01157i197702-198211
26G,L=53.9,26G
main90937-01158i197702-198211
28G,L=58.1,28G
37110SHAFT ASSY, PROPELLER
main37100-26013i197702-197808
main37100-26014i197808-198211
main37100-26023i197702-197808
main37100-26024i197808-198211
main37110-26020i197702-197808
main37110-26021i197808-198211
main37110-26030i197702-197808
main37110-26031i197808-198211
main37110-26070i197912-198211
main37110-26090i197912-198211
main37110-26100i197912-198211
37110ABOLT (FOR PROPELLER SHAFT)
main90101-08214×4i197702-198211
*8-1.25PX25-12
37302YOKE SUB-ASSY, UNIVERSAL JOINT SLEEVE
main37302-35010i197702-198211
37315YOKE, UNIVERSAL JOINT FLANGE
main37315-35021i197702-198211
37331COVER, SLIDING SHAFT DUST
main37331-30010i197702-198211
37401SPIDER KIT, UNIVERSAL JOINT
main04371-25010×2i197808-198211
main04371-30011×2i197702-197808
37401ARING, HOLE SNAP (FOR SPIDER BEARING)
main90521-27001×8i197702-197808
T=1.175-1.225
main90521-27002×8i197702-197808
T=1.225-1.275
main90521-27003×8i197702-197808
T=1.275-1.325
main90521-27004×8i197702-197808
T=1.325-1.375
main90521-29070×8i197808-198211
T=2.375-2.425,T=2.375-2.425
main90521-29071×8i197808-198211
T=2.425-2.475,T=2.425-2.475
main90521-29072×8i197808-198211
T=2.475-2.525,T=2.475-2.525
37402BEARING SUB-ASSY, UNIVERSAL JOINT SPIDER
main37402-25020×8i197808-198211
OD=25.951-26.049
main37402-35021×8i197702-197808
OD=26.015-.028
main37402-35031×8i197702-197808
OD=26.036-.049
37434SEAL, UNIVERSAL JOINT SPIDER BEARING
main37343-25010×8i197702-197808
main37434-25010×8i197808-198211
9411050800
9451200800

12 parts on this diagram · 1 diagram in section

PROPELLER SHAFT & UNIVERSAL JOINT — Toyota Parts Diagram with OEM Numbers & Prices | EPC Data