E
EPC Data

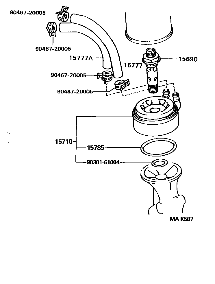
ENGINE OIL COOLER

Parts diagram
15690VALVE ASSY, OIL COOLER RELIEF
main15690-70010i198609-200002
15710COOLER ASSY, OIL
main15710-73010i198609-199012
main15710-73012i199403-200002
15777HOSE, OIL COOLER
main15777-73011i198702-200002
15777AHOSE, OIL COOLER
main15778-73010i198609-200002
15785GASKET, OIL COOLER
main15785-35010i198804-200002
9030161004
9046720005

7 parts on this diagram · 1 diagram in section

ENGINE OIL COOLER — Toyota Parts Diagram with OEM Numbers & Prices | EPC Data