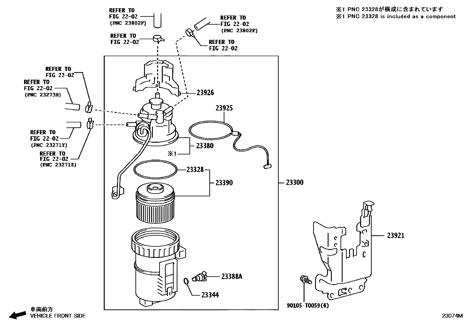
FUEL FILTER

2202INJECTION PUMP ASSEMBLY
23300FILTER ASSY, FUEL
BRAZIL SPEC&EXHAUST EMISSION CONTROL-L8; BRAZIL SPEC&EXHAUST EMISSION CONTROL-TIER 2.5
23328GASKET(FOR FUEL FILTER)
23344GASKET, CLAMPING NUT(FOR FUEL FILTER)
23380CAP ASSY, FUEL FILTER
main23380-0L091i1GDFTV..GUN136..6FC;1GDFTV..GUN126..S..IV3;1GDFTV..GUN126..H..BZAG;1GDFTV..GUN126..6F..S..BZAG;1GDFTV..GUN126..H..MHV..IV3;1GDFTV..GUN136..6F..(BZAG,SA);2GDFTV..GUN125..L..(ARL,BZAG,SA);1GDFTV..GUN126..(ARL,SA,TH)..CBU;2GDFTV..GUN125..(H,S)..(KEN,SA,TH);1GDFTV,2GDFTV..GUN120,121,122,135..ARL,BZAG,SA,TH; 2GDFTV..GUN125..LHD..(H,L)..GEN202408
ASIA COLD COUNTRY SPEC
BRAZIL SPEC&EXHAUST EMISSION CONTROL-L8; BRAZIL SPEC&EXHAUST EMISSION CONTROL-TIER 2.5
23388APLUG, FUEL FILTER DRAIN
23390ELEMENT ASSY, FUEL FILTER
main23390-0L070i1GDFTV..GUN136..6FC;1GDFTV..GUN126..S..IV3;1GDFTV..GUN126..H..BZAG;1GDFTV..GUN126..6F..S..BZAG;1GDFTV..GUN126..H..MHV..IV3;1GDFTV..GUN136..6F..(BZAG,SA);2GDFTV..GUN125..L..(ARL,BZAG,SA);1GDFTV..GUN126..(ARL,SA,TH)..CBU;2GDFTV..GUN125..(H,S)..(KEN,SA,TH);1GDFTV,2GDFTV..GUN120,121,122,135..ARL,BZAG,SA,TH; 2GDFTV..GUN125..LHD..(H,L)..GEN202408
ASIA COLD COUNTRY SPEC
BRAZIL SPEC&EXHAUST EMISSION CONTROL-L8; BRAZIL SPEC&EXHAUST EMISSION CONTROL-TIER 2.5
23921SUPPORT, FUEL FILTER
main23921-0E040i1GDFTV..GUN126..RHD..6F..H..GEN; 1GDFTV..GUN126..TWN;1GDFTV..GUN126..6F..L..BZAG;2GDFTV..GUN135..AGTP..L..LA;1GDFTV..GUN126..6FC..(L,S)..BZAG; 2GDFTV..GUN125,135..S..LA;1GDFTV..GUN126..6F..S..LA;2GDFTV..GUN135..THP..L..LA;1GDFTV..GUN126..THP..H..DCRL..LA;1GDFTV,2GDFTV..GUN125,126..AGTP..(H,L)..LA; 2GDFTV..GUN125..AGTP..S;2GDFTV..GUN125..RHD..L..GEN;1GDFTV..GUN126..AGTP..6FC..H..LA202408
BHUTAN SPEC; EXHAUST EMISSION CONTROL-EURO 6B WITH(ON BOARD DIAGNOSIS); EXHAUST EMISSION CONTROL-EURO 6C,EURO 6D WITH(ON BOARD DIAGNOSIS)
main23921-0E050i2GDFTV..GUN135..S..LA;1GDFTV..GUN126..H..BZAG;1GDFTV..GUN136..LHD..6F;2GDFTV..GUN135..THP..L..LA;1GDFTV..GUN126..6F..S..BZAG;1GDFTV..GUN126..S..DCRL..IV3;1GDFTV..GUN136..6FC..(ARL,BZAG);2GDFTV..GUN135..ARL,BZAG,GEN,PH,TH,VN;1GDFTV,2GDFTV..GUN120,121,122,125..AGTP,THP;1GDFTV..GUN126..DCRL..(ARL,GCC,GEN,LA,MMR,PH,TH,VN)..CBU202408
23925STAY, FUEL FILTER SUPPORT
23926STAY, FUEL FILTER SUPPORT, NO.2
90105T0059
main90105-T0059
11 parts on this diagram · 3 diagrams in section