E
EPC Data

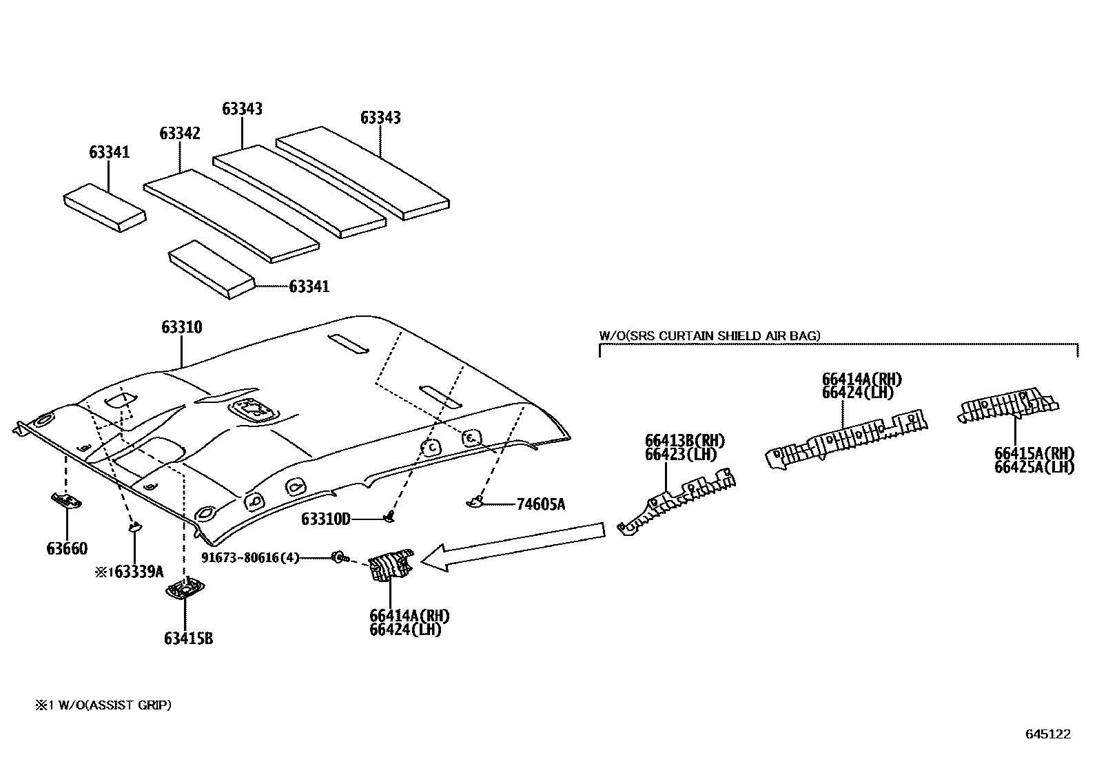
ROOF HEADLINING & SILENCER PAD

Parts diagram
63310HEADLINING ASSY, ROOF
main63310-0KB00-B0i202111-202210
ACTIVE SAFETY PACKAGE-WITHOUT,LT. GRAY,TRIM2#; ACTIVE SAFETY PACKAGE-WITHOUT,LT. GRAY,TRIM20; LT. GRAY,TRIM2#
main63310-0KB10-B0supersedes 63310-0KQ70-B0i202111-202210
ACTIVE SAFETY PACKAGE-WITHOUT&AUDIO-*DA(8INCH) & *BT,LT. GRAY,TRIM20; ACTIVE SAFETY PACKAGE-WITHOUT,LT. GRAY,TRIM2#; ACTIVE SAFETY PACKAGE-WITHOUT,LT. GRAY,TRIM20,22; LT. GRAY,TRIM2#
main63310-0KB40-B0i202202-202301
LT. GRAY,TRIM2#
main63310-0KL50-B0i202110-202208
ACTIVE SAFETY PACKAGE-WITHOUT,LT. GRAY,TRIM20; LT. GRAY,TRIM2#
main63310-0KQ30-B0i202111-202210
LT. GRAY,TRIM2#; LT. GRAY,TRIM20
main63310-F0160-B0supersedes 63310-F0170-B0i202109-202301
AUDIO-*DA(8INCH) & *BT,LT. GRAY,TRIM20; AUDIO-*DA(FOR EMERGING MARKET),LT. GRAY,TRIM2#; AUDIO-WITHOUT & WITH(AUDIO LESS COVER),LT. GRAY,TRIM2#; AUDIO-WITHOUT & WITH(AUDIO LESS COVER),LT. GRAY,TRIM20; LT. GRAY,TRIM20
main63310-F0160-C0i202109-202301
AUDIO-*DA(8INCH) & *BT,BLACK,TRIM21; AUDIO-*DA(8INCH) & *BT,BLACK,TRIM21,23; AUDIO-WITHOUT & WITH(AUDIO LESS COVER),BLACK,TRIM21; BLACK,TRIM21,23
main63310-F0170-B0i202109-202301
LT. GRAY,TRIM2#; LT. GRAY,TRIM20
main63310-F0170-C0i202109-202301
BLACK,TRIM21; BLACK,TRIM21,23
main63310-F0450-B0supersedes 63310-F0480-B0i202108-202207
ASIA COLD COUNTRY SPEC,LT. GRAY,TRIM2#; AUDIO-*DA(8INCH) & *BT & ENTUNE,LT. GRAY,TRIM2#; AUDIO-*DA(8INCH) & *BT & ENTUNE,LT. GRAY,TRIM20; LT. GRAY,TRIM2#; LT. GRAY,TRIM2#,3#; LT. GRAY,TRIM20; LT. GRAY,TRIM20,3#
main63310-F0450-C0supersedes 63310-0KW30-C0i202108-202207
AUDIO-*DA(8INCH) & *BT & ENTUNE,BLACK,TRIM21; BLACK,TRIM21; BLACK,TRIM21,23; GR SPORT&HIGH MOUNT STOP LAMP-WITH&AUDIO-*DA(8INCH) & *BT,BLACK,TRIM2#; GR SPORT&HIGH MOUNT STOP LAMP-WITH&AUDIO-*DA(FOR EMERGING MARKET),BLACK,TRIM2#; GR SPORT&HIGH MOUNT STOP LAMP-WITH&AUDIO-AVN(8INCH) & *BT,BLACK,TRIM2#; GR SPORT,BLACK,TRIM2#
main63310-F0460-B0i202108-202207
LT. GRAY,TRIM2#
main63310-0KB00-C0supersedes 63310-0KQ30-C0i202111-202210
ACTIVE SAFETY PACKAGE-WITHOUT,BLACK,TRIM23
main63310-0KB10-C0supersedes 63310-0KQ30-C0i202111-202210
ACTIVE SAFETY PACKAGE-WITHOUT&AUDIO-*DA(8INCH) & *BT,BLACK,TRIM23; ACTIVE SAFETY PACKAGE-WITHOUT,BLACK,TRIM23
main63310-0KB40-C0i202202-202301
GR SPORT,BLACK,TRIM2#
main63310-0KL50-C0i202110-202208
ACTIVE SAFETY PACKAGE-WITHOUT,BLACK,TRIM21
main63310-0KQ70-B0i202111-202210
ACTIVE SAFETY PACKAGE-WITH,LT. GRAY,TRIM2#; AUDIO-*DA(8INCH) & *BT,LT. GRAY,TRIM20; LT. GRAY,TRIM2#; LT. GRAY,TRIM20,22
main63310-0KQ70-C0supersedes 63310-0KQ30-C0i202111-202210
AUDIO-*DA(8INCH) & *BT,BLACK,TRIM23; BLACK,TRIM23
main63310-0KW30-C0i202110-202203
GR SPORT&ACTIVE SAFETY PACKAGE-WITHOUT,BLACK,TRIM2#; GR SPORT,BLACK,TRIM2#
main63310-F0240-B0i202109-202301
ACTIVE SAFETY PACKAGE-WITH,LT. GRAY,TRIM20
main63310-F0240-C0supersedes 63310-F0170-C0i202109-202301
ACTIVE SAFETY PACKAGE-WITH,BLACK,TRIM21; ACTIVE SAFETY PACKAGE-WITH,BLACK,TRIM21,23
main63310-F0390-B0supersedes 63310-F0380-B0i202110-202210
ACTIVE SAFETY PACKAGE-WITH,LT. GRAY,TRIM20
main63310-F0390-C0supersedes 63310-F0380-C0i202110-202210
ACTIVE SAFETY PACKAGE-WITH,BLACK,TRIM21
main63310-F0470-B0supersedes 63310-F0450-B0i202108-202207
AUDIO-*DA(8INCH) & *BT & DAB,LT. GRAY,TRIM2#,3#; AUDIO-*DA(8INCH) & *BT & DAB,LT. GRAY,TRIM20,3#; AUDIO-*DA(FOR EMERGING MARKET) & DAB,LT. GRAY,TRIM2#,3#; AUDIO-*DA(FOR EMERGING MARKET) & DAB,LT. GRAY,TRIM20,3#; AUDIO-AVN(8INCH) & *BT & DAB & ENTUNE,LT. GRAY,TRIM2#; AUDIO-AVN(8INCH) & *BT & DAB,LT. GRAY,TRIM2#,3#; AUDIO-AVN(8INCH) & *BT & DAB,LT. GRAY,TRIM20,3#; LT. GRAY,TRIM2#; LT. GRAY,TRIM20
main63310-F0470-C0i202108-202207
AUDIO-*DA(8INCH) & *BT & DAB,BLACK,TRIM21; AUDIO-*DA(8INCH) & *BT & DAB,BLACK,TRIM21,23; AUDIO-*DA(FOR EMERGING MARKET) & DAB,BLACK,TRIM21; AUDIO-*DA(FOR EMERGING MARKET) & DAB,BLACK,TRIM21,23; AUDIO-AVN(8INCH) & *BT & DAB,BLACK,TRIM21; AUDIO-AVN(8INCH) & *BT & DAB,BLACK,TRIM21,23; BLACK,TRIM21; GR SPORT&HIGH MOUNT STOP LAMP-WITH&AUDIO-*DA(8INCH) & *BT & DAB,BLACK,TRIM2#; GR SPORT&HIGH MOUNT STOP LAMP-WITH&AUDIO-AVN(8INCH) & *BT & DAB,BLACK,TRIM2#
63310DCLIP, ROOF HEADLINING
main90467-T0004-B0i202108-202207
LT.GRAY,TRIM2#; LT.GRAY,TRIM2#,3#; LT.GRAY,TRIM20; LT.GRAY,TRIM20,3#
main90467-T0004-C1i202108-202301
BLACK,TRIM21; BLACK,TRIM21,23; BLACK,TRIM23
63339ACOVER, ROOF HEADLINING SERVICE HOLE
main63339-0K030-B0×2i202108-202207
ASSIST GRIP-ROOF:3 & PILLAR(REAR):2,LT.GRAY,TRIM2#; LT.GRAY,TRIM2#; LT.GRAY,TRIM2#,3#; LT.GRAY,TRIM20; LT.GRAY,TRIM20,3#
main63339-0K030-C0×2i202108-202207
BLACK,TRIM21; BLACK,TRIM21,23; BLACK,TRIM23
63341PAD, ROOF SILENCER, NO.1
main63342-0K230×2i202108-202207
main63342-0K360×2i202203-202209
main63342-0K400×2i202111-202210
main63342-0K420×2i202109-202303
main63342-0K860×2i202110-202208
63342PAD, ROOF SILENCER, NO.2
main63342-0K240i202108-202301
main63342-0K430i202109-202303
main63342-0K870i202110-202208
63343PAD, ROOF SILENCER, NO.3
main63342-0K460×2i202108-202301
main63342-0K490×2i202111-202210
main63342-0K500×2i202109-202303
main63342-0K880×2i202110-202208
63415BGRILLE, ROOF SPEAKER, RH
main63415-0K010-B0i202108-202207
LT.GRAY,TRIM2#
63660COVER ASSY, ROOF HEADLINING TRIM, NO.1
main63359-0K040-B0i202108-202207
AUDIO-*DA(8INCH) & *BT & DAB,LT.GRAY,TRIM2#,3#; AUDIO-*DA(8INCH) & *BT & DAB,LT.GRAY,TRIM20,3#; AUDIO-*DA(FOR EMERGING MARKET) & DAB,LT.GRAY,TRIM2#,3#; AUDIO-*DA(FOR EMERGING MARKET) & DAB,LT.GRAY,TRIM20,3#; AUDIO-AVN(8INCH) & *BT & DAB & ENTUNE,LT.GRAY,TRIM2#; AUDIO-AVN(8INCH) & *BT & DAB,LT.GRAY,TRIM2#,3#; AUDIO-AVN(8INCH) & *BT & DAB,LT.GRAY,TRIM20,3#; LT.GRAY,TRIM2#; LT.GRAY,TRIM20
main63359-0K040-C0i202108-202207
AUDIO-*DA(8INCH) & *BT & DAB,BLACK,TRIM21; AUDIO-*DA(8INCH) & *BT & DAB,BLACK,TRIM21,23; AUDIO-*DA(FOR EMERGING MARKET) & DAB,BLACK,TRIM21; AUDIO-*DA(FOR EMERGING MARKET) & DAB,BLACK,TRIM21,23; AUDIO-AVN(8INCH) & *BT & DAB,BLACK,TRIM21; AUDIO-AVN(8INCH) & *BT & DAB,BLACK,TRIM21,23; BLACK,TRIM21; GR SPORT&HIGH MOUNT STOP LAMP-WITH&AUDIO-*DA(8INCH) & *BT & DAB,BLACK,TRIM2#; GR SPORT&HIGH MOUNT STOP LAMP-WITH&AUDIO-AVN(8INCH) & *BT & DAB,BLACK,TRIM2#
main63359-KK010-B0i202109-202210
LT.GRAY,TRIM2#; LT.GRAY,TRIM20
main63359-KK010-C0i202109-202301
BLACK,TRIM21; BLACK,TRIM21,23
66413BSPACER, SIDE RAIL, FRONT RH
main66413-0K080i202108-202207
SRS AIR BAG-WITH(*DRP)
main66413-KK020i202109-202303
66414ASPACER, SIDE RAIL, REAR RH
main66414-0K100i202108-202301
main66414-KK010i202108-202207
ASSIST GRIP-ROOF:4 & PILLAR(FRONT):2&SRS AIR BAG-WITH(*DRS & SIDE & CURTAIN); SRS AIR BAG-WITH(*DRS & SIDE & CURTAIN)
main66414-KK020i202109-202303
66415ASPACER, SIDE RAIL, REAR NO.2 RH
main66415-0K160i202108-202207
SRS AIR BAG-WITH(*DRP)
main66415-KK020i202109-202303
66423SPACER, SIDE RAIL, FRONT LH
main66423-0K080i202108-202207
SRS AIR BAG-WITH(*DRP)
main66423-KK020i202109-202303
66424SPACER, SIDE RAIL, REAR LH
main66424-0K100i202108-202301
main66424-KK010i202108-202207
ASSIST GRIP-ROOF:4 & PILLAR(FRONT):2&SRS AIR BAG-WITH(*DRS & SIDE & CURTAIN); SRS AIR BAG-WITH(*DRS & SIDE & CURTAIN)
main66424-KK020i202109-202303
66425ASPACER, SIDE RAIL, REAR NO.2 LH
main66425-0K160i202108-202207
SRS AIR BAG-WITH(*DRP)
main66425-KK020i202109-202303
74605AHOOK SUB-ASSY, COAT
main74631-0K040-B0×2i202108-202207
LT.GRAY,TRIM2#; LT.GRAY,TRIM2#,3#; LT.GRAY,TRIM20; LT.GRAY,TRIM20,3#
main74631-0K040-C0×2i202108-202207
BLACK,TRIM21; BLACK,TRIM21,23; BLACK,TRIM23
main74631-KK020-B0×2i202109-202301
LT.GRAY,TRIM20
main74631-KK020-C0×2i202109-202301
BLACK,TRIM21; BLACK,TRIM21,23
9167380616

16 parts on this diagram · 1 diagram in section

ROOF HEADLINING & SILENCER PAD — Toyota Parts Diagram with OEM Numbers & Prices | EPC Data