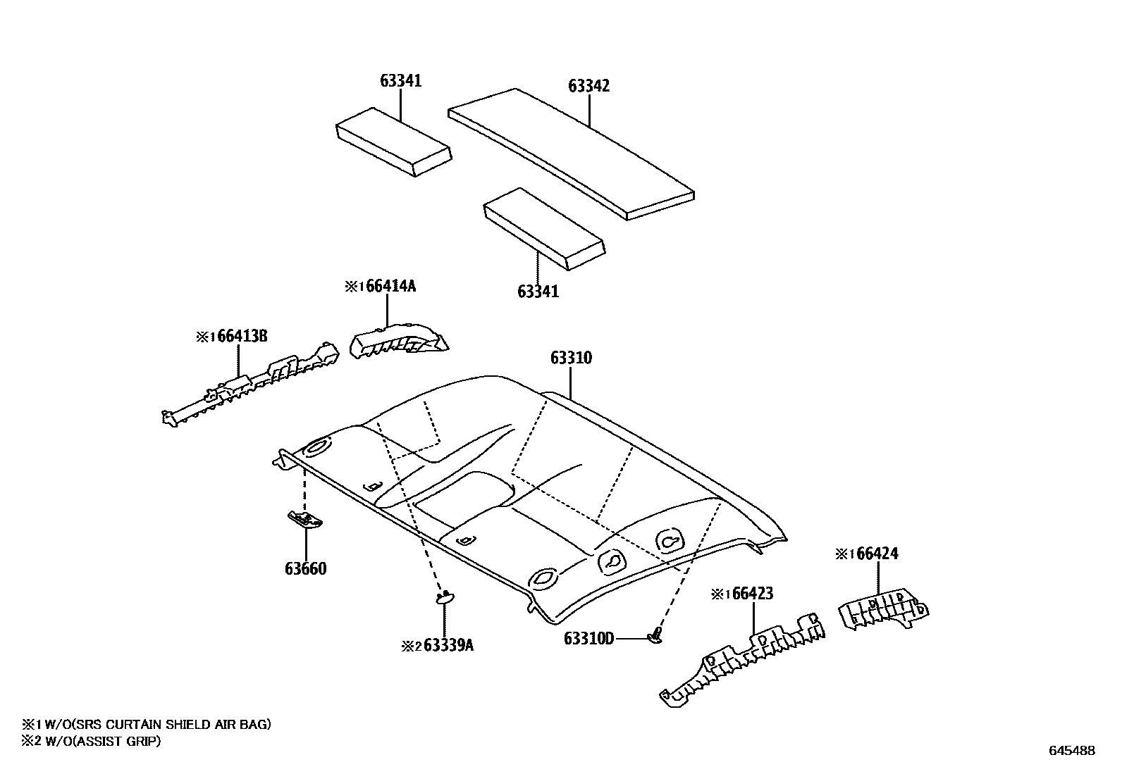
ROOF HEADLINING & SILENCER PAD

63310HEADLINING ASSY, ROOF
main63310-0KB21-B0supersedes 63310-0KA41-B0iGUN125..AGTP..LA; GUN135..AGTP..LA;GUN126,TGN126..AGTP; TGN136..L;GUN125,135..BZAG202211-202310
ACTIVE SAFETY PACKAGE-WITHOUT&FRONT PERSONAL LAMP-WITH(BULB TYPE) & WITH(ROOF CONSOLE BOX),LT. GRAY,TRIM2#; FRONT PERSONAL LAMP-WITH(BULB TYPE) & WITH(ROOF CONSOLE BOX),LT. GRAY,TRIM2#; LT. GRAY,TRIM2#
LT. GRAY,TRIM2#
LT. GRAY,TRIM2#
main63310-F0120-B0supersedes 63310-F0110-B0iGUN122..RHD..SA..CBU;GUN125..LHD..SCB..SA;GUN126,LAN125,TGN120..SCB..MTM..SA; GUN122..SA..IV3;GUN122,TGN121..LHD..SA;GUN125,135..RHD..SCB..L..SA; GUN125,135,TGN136..RHD..SCB..MTM..S..SA; GUN125..RHD..6F..S..SA; GUN125..RHD..6F..S..SA..CBU202301-202401
AUDIO-*DA(8INCH) & *BT,LT. GRAY,TRIM2#; AUDIO-*DA(FOR EMERGING MARKET),LT. GRAY,TRIM2#; AUDIO-WITHOUT & WITH(AUDIO LESS COVER),LT. GRAY,TRIM2#; FRONT PERSONAL LAMP-WITH(BULB TYPE) & WITH(ROOF CONSOLE BOX),LT. GRAY,TRIM2#; LT. GRAY,TRIM2#
main63310-F0130-B0iGUN122..SA..IV3; GUN126..SCB..H;GUN125,13#,TGN136..RHD..SCB..(H,S)..SA202301-202401
FRONT PERSONAL LAMP-WITH(BULB TYPE) & WITH(ROOF CONSOLE BOX)&AUDIO-*DA(FOR EMERGING MARKET) & DAB,LT. GRAY,TRIM2#; LT. GRAY,TRIM2#
EXPORT FROM SA,LT. GRAY,TRIM20; LT. GRAY,TRIM2#
LT. GRAY,TRIM2#; LT. GRAY,TRIM20
LT. GRAY,TRIM2#
LT. GRAY,TRIM2#
main63310-F0410-B0iGUN11#,122,125,126,TGN11#,12#..GCC; GUN122,125,135,TGN121,126..THP..MTM..L..(GEN,LA); GUN125..6FC..GEN;GUN112,12#,135,TGN110,121..SCB..(ARL,IDN,TH)202208-202307
FRONT PERSONAL LAMP-WITH(BULB TYPE) & WITH(ROOF CONSOLE BOX),LT. GRAY,TRIM2#; LT. GRAY,TRIM2#; LT. GRAY,TRIM2#,3#
main63310-F0430-B0iGUN126,135..6FC..H..TH; GUN126,135..XTR..THP..6F;GUN120,122,125,136..XTR..THP;GUN126,135..XTR..THP..6FC..(L,S)202208-202307
LT. GRAY,TRIM2#; LT. GRAY,TRIM20
BLACK,TRIM21
LT. GRAY,TRIM2#
main63310-0KA41-B0supersedes 63310-0KQ11-B0iGUN125..AGTP..LA; GUN135..AGTP..LA;GUN126,TGN126..AGTP202211-202310
ACTIVE SAFETY PACKAGE-WITHOUT,LT. GRAY,TRIM2#; LT. GRAY,TRIM2#
ACTIVE SAFETY PACKAGE-WITH,LT. GRAY,TRIM2#; LT. GRAY,TRIM2#
ACTIVE SAFETY PACKAGE-WITH&FRONT PERSONAL LAMP-WITH(BULB TYPE) & WITH(ROOF CONSOLEBOX),LT. GRAY,TRIM2#; FRONT PERSONAL LAMP-WITH(BULB TYPE) & WITH(ROOF CONSOLE BOX),LT. GRAY,TRIM2#
EXPORT FROM SA,BLACK,TRIM21
ACTIVE SAFETY PACKAGE-WITH,LT. GRAY,TRIM2#
ACTIVE SAFETY PACKAGE-WITH,LT. GRAY,TRIM20
ACTIVE SAFETY PACKAGE-WITH,BLACK,TRIM21
main63310-F0420-B0iTGN121..L..GCC;GUN122,TGN126..L..GCC..IV3; TGN126..S;TGN121..L..GCC;GUN122,TGN126..GCC..IV3202301-202307
AUDIO-*DA(8INCH) & *BT & DAB,LT. GRAY,TRIM2#,3#; AUDIO-*DA(FOR EMERGING MARKET) & DAB,LT. GRAY,TRIM2#,3#
63310DCLIP, ROOF HEADLINING
main90467-T0004-B0×3iGUN11#,122,125,126,TGN11#,12#..GCC; GUN126,135..6FC..H..TH; GUN135..THP..6F;GUN126..ARL..CBU;GUN126..6F..H..TH;GUN135..6FC..(L,S)..TH;GUN126..RHD..THP..(L,S);GUN112,120,121,122,125,136,TGN110,121,126..THP..(ARL,GEN,IDN,LA,PH,TH)202208-202307
LT.GRAY,TRIM2#; LT.GRAY,TRIM2#,3#; LT.GRAY,TRIM20
BLACK,TRIM21
63339ACOVER, ROOF HEADLINING SERVICE HOLE
LT.GRAY,TRIM2#
63341PAD, ROOF SILENCER, NO.1
63342PAD, ROOF SILENCER, NO.2
63660COVER ASSY, ROOF HEADLINING TRIM, NO.1
AUDIO-*DA(FOR EMERGING MARKET) & DAB,LT.GRAY,TRIM2#,3#; LT.GRAY,TRIM2#
main63359-KK010-B0iGUN122..SA..IV3; GUN126,136..XTR..SA; GUN135..S..SA;GUN126..SCB..H;GUN125,136,TGN136..RHD..SCB..(H,S)..SA202301-202401
FRONT PERSONAL LAMP-WITH(BULB TYPE) & WITH(ROOF CONSOLE BOX)&AUDIO-*DA(FOR EMERGING MARKET) & DAB,LT.GRAY,TRIM2#; LT.GRAY,TRIM2#; LT.GRAY,TRIM20
BLACK,TRIM21
66413BSPACER, SIDE RAIL, FRONT RH
66414ASPACER, SIDE RAIL, REAR RH
66423SPACER, SIDE RAIL, FRONT LH
66424SPACER, SIDE RAIL, REAR LH
10 parts on this diagram · 2 diagrams in section