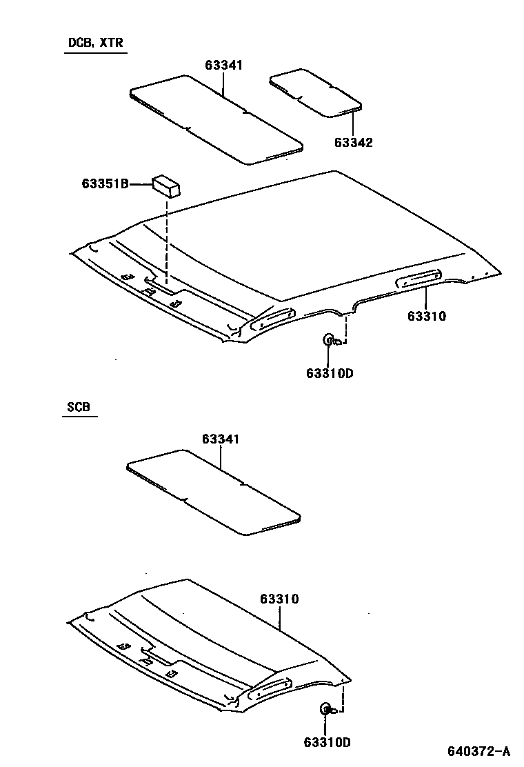
ROOF HEADLINING & SILENCER PAD

63310HEADLINING ASSY, ROOF
MOONMIST,TRIM1#
RED,TRIM3#
W(MAP LAMP),MOONMIST,TRIM1#
W(MAP LAMP),RED,TRIM3#
MOONMIST,TRIM1#
W(MOON ROOF),MOONMIST,TRIM1#
main63311-35210-B0iRZN149,169..DCB..CBR;LN166,RZN148,168..DCB..DLX;RZN169..(DCB,THDCB)..(ARL,SA);RZN149..(DCB,THDCB)..EFI..(ARL,GEN);KZN165,190,LN145,146,147,167,191,RZN147,19#..(DCB,THDCB)..(ARL,GCC,GEN,SA)200104-200109
MOONMIST,TRIM1#
RED,TRIM3#
W(MAP LAMP),MOONMIST,TRIM1#
W(MAP LAMP),RED,TRIM3#
W(MOON ROOF),MOONMIST,TRIM1#
63310DCLIP, ROOF HEADLINING
IVORY,TRIM40
MD.MOON MIST,TRIM10
MOON MIST,TRIM1#; W(MOON ROOF),MOON MIST,TRIM1#
main90467-05027-B3×7iKDN155,LN155; LN145..DCB..DLX..TH; LN145..SR;LN147,167,RZN149..THDCB..DLX; LN150..DLX; RZN149..THSCB;LN147,167..THSCB..IV3200108-200403
LT.BLUISH GRAY,TRIM1#; LT.BLUISH GRAY,TRIM10; W(MOON ROOF),LT.BLUISH GRAY,TRIM1#
main90467-05027-D0×7iLN141,RZN142,144,147,149,169..SCB..GCC; LN146,166,RZN147,149,169..DCB..GCC199708-200108
RED,TRIM3#
SANDAL WOOD,TRIM40
TYPE A:REFER ILLUST.
TYPE B:REFER ILLUST.
TYPE C:REFER ILLUST.
63341PAD, ROOF SILENCER, NO.1
main63341-35120iKZN165,190,LN14#,152,16#,17#,19#,RZN14#,154,16#,174,19#,YN140..ARL,GCC,GEN,SA200009-200103
63342PAD, ROOF SILENCER, NO.2
63351BPAD, ROOF HEADLINING
5 parts on this diagram · 3 diagrams in section