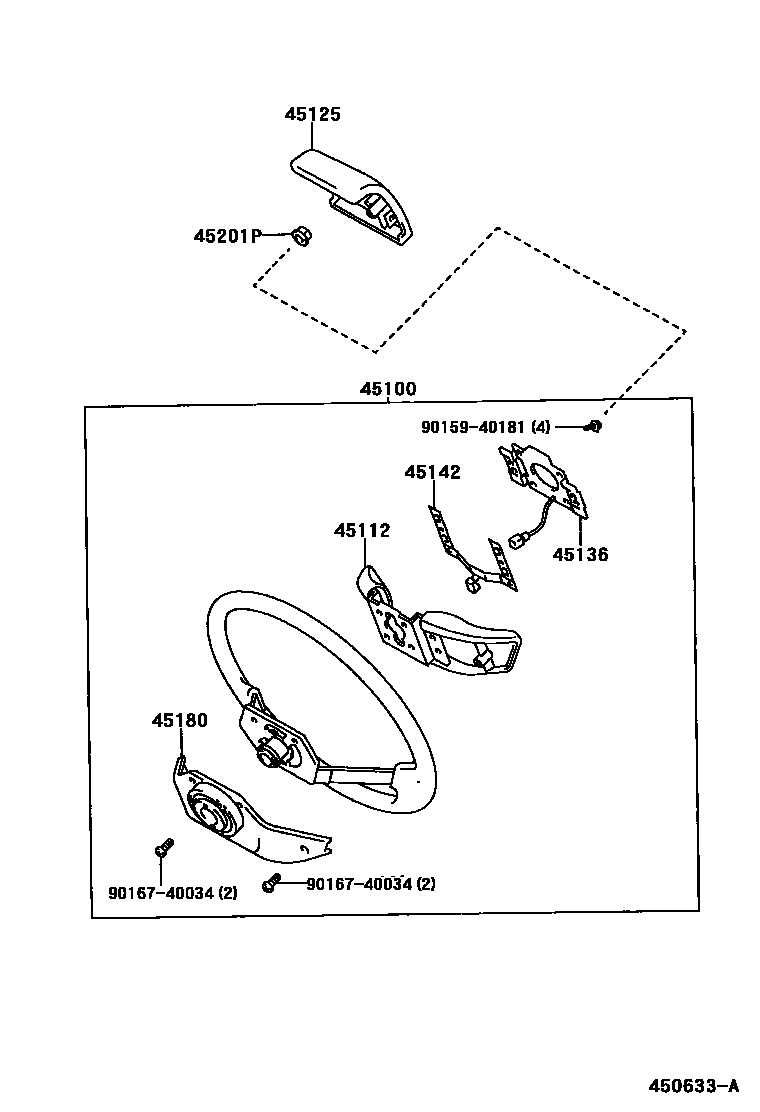
STEERING WHEEL

45100WHEEL ASSY, STEERING
4-SPOKE,URETHANE,MD.GRAY,TRIM1#
2SPOKE,POLYPROPYLENE,PERU SPEC,RED,TRIM3#
2SPOKE,POLYPROPYLENE,GRAY,TRIM1#
2SPOKE,POLYPROPYLENE,BLUE,TRIM8#
2SPOKE,POLYPROPYLENE,BROWN,TRIM4#
main45100-35270-B0iLN85..RHD;RN85..T1..GEN;LN85..LHD..GEN;RN85..LHD..TW1..(DLX,STD);YN80,85,86..STD..(GEN,TH,V);LN80,81,86,RN80,90,YN81,92..(DLX,STD)..(GEN,V)199308-199503
2SPOKE,POLYPROPYLENE,MEDIUM GRAY,TRIM1#
2SPOKE,POLYPROPYLENE,BROWN,TRIM4#
main45100-35270-J0iRN85..T1..GEN;LN85..LHD..GEN;LN85..RHD..STD;RN85..LHD..TW1..(DLX,STD);YN80,85,86..STD..(GEN,TH,V);LN80,81,86,RN125,80,90,YN81,92..(DLX,STD)..(GEN,V)199208-199308
2SPOKE,POLYPROPYLENE,MEDIUM BLUE,TRIM8#
3-SPOKE,URETHANE,GRAY,TRIM1#
3-SPOKE,URETHANE,BLUE,TRIM8#
3-SPOKE,URETHANE,BROWN,TRIM4#
3-SPOKE,URETHANE,MEDIUM GRAY,TRIM1#
main45100-35280-E0iYN85..ARL;LN85,YN87..RHD..TW1..GEN;LN8#,RN125,8#,YN86..(4D,T1)..(4FC,5F)..(DLX,STD)..(ARL,TH,V)198908-199007
3-SPOKE,URETHANE,BROWN,TRIM4#
main45100-35280-J0iLN90,YN92;YN85..ARL;LN85,YN87..RHD..TW1..GEN;LN8#,RN125,8#,90,YN86..(4FC,5F)..(ARL,TH,V)198908-199007
3-SPOKE,URETHANE,MEDIUM BLUE,TRIM8#
3-SPOKE,URETHANE,RED,TRIM3#; 3-SPOKE,URETHANE,W(STEEL WHEEL),RED,TRIM3#
3-SPOKE,URETHANE,MEDIUM GRAY,TRIM1#
main45100-35281-E0iYN85..ARL;LN90,YN86,92..DLX,SR5;LN85,YN87..RHD..TW1..GEN;LN80,85,RN125,8#,90..ARL,TH,V199008-199108
3-SPOKE,URETHANE,BROWN,TRIM4#
3-SPOKE,URETHANE,MEDIUM BLUE,TRIM8#
3-SPOKE,URETHANE,W(CRUISE CONTROL),GRAY,TRIM1#
3-SPOKE,URETHANE,W(CRUISE CONTROL),BLUE,TRIM8#
3-SPOKE,URETHANE,W(CRUISE CONTROL),BROWN,TRIM4#
45112PAD, STEERING WHEEL
GRAY,TRIM1#
BLUE,TRIM8#
BROWN,TRIM4#
MEDIUM GRAY,TRIM1#
PERU SPEC,2-SPOKE,BROWN,TRIM3#
PERU SPEC,2-SPOKE,MEDIUM BLUE,TRIM8#
45125MARK, STEERING WHEEL PAD
GRAY,TRIM1#
BLUE,TRIM8#
BROWN,TRIM4#
main45125-35171-B0iLN85..RHD;LN86..T1..DLX;RN85..T1..GEN;RN85..LHD..TW1..(DLX,STD);LN85,86,YN86..LHD..STD..(GEN,V);LN80,81,RN80,90,YN80,81,85,92..(DLX,STD)..(GEN,V)199503-199801
GRAY,TRIM1#
PERU SPEC,2-SPOKE,RED,TRIM3#
BLUE,TRIM8#
VW BRAND,MEDIUM GRAY,TRIM1#
VW BRAND,BROWN,TRIM4#
VW BRAND,MEDIUM BLUE,TRIM8#
45136PLATE, HORN BUTTON CONTACT
45142SEAT, HORN BUTTON CONTACT, NO.1
PERU SPEC,2-SPOKE
45180COVER SUB-ASSY, STEERING WHEEL
RED,TRIM3#
GRAY,TRIM1#
BLUE,TRIM8#
BROWN,TRIM4#
main45180-35040-B0iRN85..T1..GEN;RN85..LHD..TW1..(DLX,STD);YN80,85,86..STD..(GEN,TH,V);LN8#,RN125,80,YN81,92..(DLX,STD)..(GEN,V)199108-199208
MEDIUM GRAY,TRIM1#
BROWN,TRIM4#
main45180-35040-J0iRN85..T1..GEN;LN85..LHD..GEN;LN85..RHD..STD;RN85..LHD..TW1..(DLX,STD);YN80,85,86..STD..(GEN,TH,V);LN80,81,86,RN125,80,90,YN81,92..(DLX,STD)..(GEN,V)199208-199408
MEDIUM BLUE,TRIM8#
GRAY,TRIM1#; URETHANE,3-SPOKE,GRAY,TRIM1#
BLUE,TRIM8#; URETHANE,3-SPOKE,BLUE,TRIM8#
BROWN,TRIM4#; URETHANE,3-SPOKE,BROWN,TRIM4#
main45180-35050-B0iLN85,YN85..ARL;LN85,YN87..RHD..TW1..GEN;LN90,RN125,8#,YN92..(4FC,5F)..(DLX,STD); RN90;LN8#,90,YN86..5F..(TH,V)198908-199007
MEDIUM GRAY,TRIM1#; URETHANE,3-SPOKE,MEDIUM GRAY,TRIM1#
main45180-35050-E0iLN85,RN125,YN85..ARL,V;LN90,RN85,YN92..ARL,GEN; RN8#..V;RN90,YN86..DLX,SR5198901-198908
BROWN,TRIM4#; URETHANE,3-SPOKE,BROWN,TRIM4#
main45180-35050-J0iLN85,RN125,YN85..ARL,V;LN90,RN85,YN92..ARL,GEN; RN8#..V;RN90,YN86..DLX,SR5198901-198908
MEDIUM BLUE,TRIM8#; URETHANE,3-SPOKE,MEDIUM BLUE,TRIM8#
3-SPOKE URETHAN STEERIG WHEEL,RED,TRIM3#; RED,TRIM3#
main45180-35051-B0iYN86..DLX;LN85..LHD..TH;LN80,86..ARL,TH;RN85..RHD..GEN..CBU;RN90,YN85..(SR5,STD)..(ARL,V);LN85,90,RN8#..5F..SR5..(TH,V)199503-199812
MEDIUM GRAY,TRIM1#
BROWN,TRIM4#; URETHANE,3-SPOKE,BROWN,TRIM4#
MEDIUM BLUE,TRIM8#; URETHANE,3-SPOKE,MEDIUM BLUE,TRIM8#
URETHANE,3-SPOKE,W(CRUISE CONTROL),GRAY,TRIM1#
URETHANE,3-SPOKE,W(CRUISE CONTROL),BLUE,TRIM8#
URETHANE,3-SPOKE,W(CRUISE CONTROL),BROWN,TRIM4#
45201PNUT, STEERING WHEEL SET
9015940181
main90159-40181
9016740034
main90167-40034
9 parts on this diagram · 3 diagrams in section