E
EPC Data

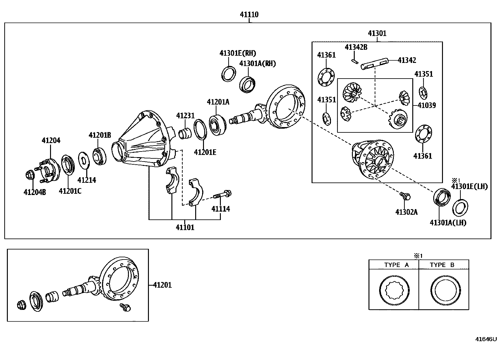
REAR AXLE HOUSING & DIFFERENTIAL

Parts diagram
41039GEAR KIT, DIFFERENTIAL, REAR
main41039-0K010i202408
DIFFERENTIAL LOCK-WITH
main41039-0K040i202409
main41039-71070i202408
41101CARRIER SUB-ASSY, DIFFERENTIAL, REAR
main41101-0K070i202408
main41101-0K080i202408
DIFFERENTIAL LOCK-WITH
main41101-0K120supersedes 41101-0K110i202411
DIFFERENTIAL LOCK-WITH
main41101-0K140i202409
main41101-0K110i202411
DIFFERENTIAL LOCK-WITHOUT
41110CARRIER ASSY, DIFFERENTIAL, REAR
main41110-0K540i202409
*FGR=41:9=4.555
main41110-0K570i202409
*FGR=43:12=3.583
main41110-0K580i202408
*FGR=43:11=3.909
main41110-0K590i202408
*FGR=41:10=4.100
main41110-0K610i202408
*FGR=41:9=4.555
main41110-0K630i202408
*FGR=43:11=3.909
main41110-0K640i202408
*FGR=41:10=4.100; *FGR=41:10=4.100,DIFFERENTIAL LOCK-WITH
main41110-0K660i202408
*FGR=41:9=4.555
main41110-0K731supersedes 41110-0K681i202411
*FGR=43:11=3.909; *FGR=43:11=3.909,DIFFERENTIAL LOCK-WITH
main41110-0K761i202411
*FGR=41:9=4.555
main41110-0K821i202411
*FGR=43:12=3.583
main41110-0K831i202411
*FGR=43:11=3.909
main41110-0K841i202411
*FGR=41:10=4.100
main41110-0K711i202411
*FGR=41:9=4.555,DIFFERENTIAL LOCK-WITHOUT
main41110-0K721supersedes 41110-0K671i202411
*FGR=43:12=3.583,DIFFERENTIAL LOCK-WITH
main41110-0K861supersedes 41110-0K811i202411
*FGR=41:9=4.555,DIFFERENTIAL LOCK-WITH
main41110-0K891supersedes 41110-0K881i202411
*FGR=41:10=4.100,DIFFERENTIAL LOCK-WITH
41114BOLT, REAR DIFFERENTIAL BEARING CAP
main90105-F0001×2i202411
TYPE A:REFER ILLUST.
main90105-T0345×4i202409
main90109-F0001×2i202411
TYPE B:REFER ILLUST.
main90109-T0030×4i202408
41201FINAL GEAR KIT, DIFFERENTIAL, REAR
main41201-09E42i202411
*FGR=43:12=3.583
main41201-09E82i202411
*FGR=41:9=4.555
main41201-09F00i202409
*FGR=41:9=4.555
main41201-09F51i202411
*FGR=43:11=3.909
main41201-09F71i202411
*FGR=43:11=3.909
main41201-09F81i202411
*FGR=41:10=4.100
main41201-09G01i202411
main41201-09G10i202409
*FGR=43:12=3.583
main41201-09G20i202408
*FGR=43:11=3.909
main41201-09G30i202408
*FGR=41:10=4.100
main41201-09G40i202408
*FGR=41:9=4.555
41201ABEARING (FOR REAR DRIVE PINION REAR)
main90366-S0016i202411
main90366-T0065i202408
main90366-T0109i202409
41201BBEARING (FOR REAR DRIVE PINION FRONT)
main90366-S0013i202411
main90366-T0062i202408
main90366-T0110i202409
41201CSEAL, OIL (FOR REAR DIFFERENTIAL CARRIER)
main90311-53001i202411
main90311-T0065i202408
main90311-T0089i202409
41201ESHIM (FOR REAR DIFF DRIVE PINION SPACER FRONT ADJUST)
main90564-78001i202408
T=1.72
main90564-78002i202408
T=1.74
main90564-78003i202408
T=1.76
main90564-78004i202408
T=1.78
main90564-78005i202408
T=1.80
main90564-78006i202408
T=1.82
main90564-78007i202408
T=1.84
main90564-78008i202408
T=1.86
main90564-78009i202408
T=1.88
main90564-78010i202408
T=1.90
main90564-78011i202408
T=1.92
main90564-78012i202408
T=1.94
main90564-78013i202408
T=1.96
main90564-78014i202408
T=1.98
main90564-78015i202408
T=2.00
main90564-78016i202408
T=2.02
main90564-78017i202408
T=2.04
main90564-78018i202408
T=2.06
main90564-78019i202408
T=2.08
main90564-78020i202408
T=2.10
main90564-78021i202408
T=2.12
main90564-78022i202408
T=2.14
main90564-78023i202408
T=2.16
main90564-78024i202408
T=2.18
main90564-S0001i202411
T=1.025
main90564-S0002i202411
T=1.050
main90564-S0003i202411
T=1.075
main90564-S0004i202411
T=1.100
main90564-S0005i202411
T=1.125
main90564-S0006i202411
T=1.150
main90564-S0007i202411
T=1.175
main90564-S0008i202411
T=1.200
main90564-S0009i202411
T=1.225
main90564-S0010i202411
T=1.250
main90564-S0011i202411
T=1.275
main90564-S0012i202411
T=1.300
main90564-S0013i202411
T=1.325
main90564-S0014i202411
T=1.350
main90564-S0015i202411
T=1.375
main90564-S0016i202411
T=1.400
main90564-S0017i202411
T=1.425
main90564-S0018i202411
T=1.450
main90564-S0019i202411
T=1.475
main90564-T0067i202409
T=1.70
main90564-T0068i202409
T=1.73
main90564-T0069i202409
T=1.76
main90564-T0070i202409
T=1.79
main90564-T0071i202409
T=1.82
main90564-T0072i202409
T=1.85
main90564-T0073i202409
T=1.88
main90564-T0074i202409
T=1.91
main90564-T0075i202409
T=1.94
main90564-T0076i202409
T=1.97
main90564-T0077i202409
T=2.00
main90564-T0078i202409
T=2.03
main90564-T0079i202409
T=2.06
main90564-T0080i202409
T=2.09
main90564-T0081i202409
T=2.12
main90564-T0082i202409
T=2.15
main90564-T0083i202409
T=2.18
main90564-T0084i202409
T=2.21
main90564-T0085i202409
T=2.24
main90564-T0086i202409
T=2.27
main90564-T0087i202409
T=2.30
main90564-T0088i202409
T=2.33
41204FLANGE SUB-ASSY, REAR DRIVE PINION COMPANION, REAR
main41204-0K110i202408
main41204-0K131i202411
main41204-0K140i202409
41204BNUT (FOR REAR DRIVE PINION)
main90177-T0023i202409
OD=39.5
main90178-F0001i202411
OD=43.5
main90179-22029i202408
OD=43
41214SLINGER, REAR DIFFERENTIAL DRIVE PINION OIL
main41214-0K040i202408
main41214-0K050i202411
main41214-0K060i202409
41231SPACER, REAR DIFFERENTIAL DRIVE PINION BEARING
main41231-0K030i202411
main41231-0K040i202409
main41231-71010i202408
41301CASE SUB-ASSY, REAR DIFFERENTIAL
main41301-0K100i202411
DIFFERENTIAL LOCK-WITHOUT
main41301-0K120i202408
main41301-0K230i202409
41301ABEARING(FOR REAR DIFFERENTIAL CASE)
main90366-S0019i202411
LH
main90366-S0022i202411
RH
main90366-T0068i202408
LH
main90366-T0071i202408
RH
main90366-T0108×2i202409
41301ESHIM(FOR DIFFERENTIAL CASE)
main90201-52001i202408
T=2.58,MARK 01,LH,TYPE A:REF.ILL.
main90201-52003i202408
T=2.64,MARK 03,LH,TYPE A:REF.ILL.
main90564-46014i202408
T=2.60,MARK 32,LH,TYPE A:REF.ILL.
main90564-46015i202408
T=2.62,MARK 33,LH,TYPE A:REF.ILL.
main90564-46016i202408
T=2.66,MARK 34,LH,TYPE A:REF.ILL.
main90564-46017i202408
T=2.68,MARK 35,LH,TYPE A:REF.ILL.
main90564-46044i202408
T=2.42,MARK 62,LH,TYPE A:REF.ILL.
main90564-46045i202408
T=2.44,MARK 63,LH,TYPE A:REF.ILL.
main90564-46046i202408
T=2.46,MARK 64,LH,TYPE A:REF.ILL.
main90564-46047i202408
T=2.48,MARK 65,LH,TYPE A:REF.ILL.
main90564-46048i202408
T=2.50,MARK 66,LH,TYPE A:REF.ILL.
main90564-46049i202408
T=2.52,MARK 67,LH,TYPE A:REF.ILL.
main90564-46050i202408
T=2.54,MARK 68,LH,TYPE A:REF.ILL.
main90564-46051i202408
T=2.56,MARK 69,LH,TYPE A:REF.ILL.
main90564-46053i202408
T=2.08,MARK 71,LH,TYPE A:REF.ILL.
main90564-46054i202408
T=2.10,MARK 72,LH,TYPE A:REF.ILL.
main90564-46055i202408
T=2.12,MARK 73,LH,TYPE A:REF.ILL.
main90564-46056i202408
T=2.14,MARK 74,LH,TYPE A:REF.ILL.
main90564-46057i202408
T=2.16,MARK 75,LH,TYPE A:REF.ILL.
main90564-46058i202408
T=2.18,MARK 76,LH,TYPE A:REF.ILL.
main90564-46059i202408
T=2.20,MARK 77,LH,TYPE A:REF.ILL.
main90564-46060i202408
T=2.22,MARK 78,LH,TYPE A:REF.ILL.
main90564-46061i202408
T=2.24,MARK 79,LH,TYPE A:REF.ILL.
main90564-46062i202408
T=2.26,MARK 80,LH,TYPE A:REF.ILL.
main90564-46063i202408
T=2.28,MARK 81,LH,TYPE A:REF.ILL.
main90564-46064i202408
T=2.30,MARK 82,LH,TYPE A:REF.ILL.
main90564-46065i202408
T=2.32,MARK 83,LH,TYPE A:REF.ILL.
main90564-46066i202408
T=2.34,MARK 84,LH,TYPE A:REF.ILL.
main90564-46067i202408
T=2.36,MARK 85,LH,TYPE A:REF.ILL.
main90564-46068i202408
T=2.38,MARK 86,LH,TYPE A:REF.ILL.
main90564-46069i202408
T=2.40,MARK 87,LH,TYPE A:REF.ILL.; T=2.40,MARK 87,LH,TYPE B:REF.ILL.
main90564-59044i202408
T=2.08,LH,TYPE B:REF.ILL.
main90564-59045i202408
T=2.10,LH,TYPE B:REF.ILL.
main90564-59046i202408
T=2.12,LH,TYPE B:REF.ILL.
main90564-59047i202408
T=2.14,LH,TYPE B:REF.ILL.
main90564-59048i202408
T=2.16,LH,TYPE B:REF.ILL.
main90564-59049i202408
T=2.18,LH,TYPE B:REF.ILL.
main90564-59050i202408
T=2.20,LH,TYPE B:REF.ILL.
main90564-59051i202408
T=2.22,LH,TYPE B:REF.ILL.
main90564-59052i202408
T=2.24,LH,TYPE B:REF.ILL.
main90564-59053i202408
T=2.26,LH,TYPE B:REF.ILL.
main90564-59054i202408
T=2.28,LH,TYPE B:REF.ILL.
main90564-59055i202408
T=2.30,LH,TYPE B:REF.ILL.
main90564-59056i202408
T=2.32,LH,TYPE B:REF.ILL.
main90564-59057i202408
T=2.34,LH,TYPE B:REF.ILL.
main90564-59058i202408
T=2.36,LH,TYPE B:REF.ILL.
main90564-59059i202408
T=2.38,LH,TYPE B:REF.ILL.
main90564-59060i202408
T=2.40,LH,TYPE B:REF.ILL.
main90564-59061i202408
T=2.42,LH,TYPE B:REF.ILL.
main90564-59062i202408
T=2.44,LH,TYPE B:REF.ILL.
main90564-59063i202408
T=2.46,LH,TYPE B:REF.ILL.
main90564-59064i202408
T=2.48,LH,TYPE B:REF.ILL.
main90564-59065i202408
T=2.50,LH,TYPE B:REF.ILL.
main90564-59066i202408
T=2.52,LH,TYPE B:REF.ILL.
main90564-59067i202408
T=2.54,LH,TYPE B:REF.ILL.
main90564-59068i202408
T=2.56,LH,TYPE B:REF.ILL.
main90564-59069i202408
T=2.58,LH,TYPE B:REF.ILL.
main90564-59070i202408
T=2.60,LH,TYPE B:REF.ILL.
main90564-59071i202408
T=2.62,LH,TYPE B:REF.ILL.
main90564-59072i202408
T=2.64,LH,TYPE B:REF.ILL.
main90564-59073i202408
T=2.66,LH,TYPE B:REF.ILL.
main90564-59074i202408
T=2.68,LH,TYPE B:REF.ILL.
main90564-59075i202408
T=2.06,RH
main90564-59076i202408
T=2.08,RH
main90564-59077i202408
T=2.10,RH
main90564-59078i202408
T=2.12,RH
main90564-59079i202408
T=2.14,RH
main90564-59080i202408
T=2.16,RH
main90564-59081i202408
T=2.18,RH
main90564-59082i202408
T=2.20,RH
main90564-59083i202408
T=2.22,RH
main90564-59084i202408
T=2.24,RH
main90564-59085i202408
T=2.26,RH
main90564-59086i202408
T=2.28,RH
main90564-59087i202408
T=2.30,RH
main90564-59088i202408
T=2.32,RH
main90564-59089i202408
T=2.34,RH
main90564-59090i202408
T=2.36,RH
main90564-59091i202408
T=2.38,RH
main90564-59092i202408
T=2.40,RH
main90564-59093i202408
T=2.42,RH
main90564-59094i202408
T=2.44,RH
main90564-59095i202408
T=2.46,RH
main90564-59096i202408
T=2.48,RH
main90564-59097i202408
T=2.50,RH
main90564-59098i202408
T=2.52,RH
main90564-59099i202408
T=2.54,RH
main90564-59100i202408
T=2.56,RH
main90564-59101i202408
T=2.58,RH
main90564-59102i202408
T=2.60,RH
main90564-59103i202408
T=2.62,RH
main90564-59104i202408
T=2.64,RH
main90564-59105i202408
T=2.66,RH
main90564-59106i202408
T=2.68,RH
main90564-S0025i202411
T=2.832,LH
main90564-S0026i202411
T=2.804,LH
main90564-S0027i202411
T=2.777,LH
main90564-S0028i202411
T=2.749,LH
main90564-S0029i202411
T=2.721,LH
main90564-S0030i202411
T=2.693,LH
main90564-S0031i202411
T=2.665,LH
main90564-S0032i202411
T=2.637,LH
main90564-S0033i202411
T=2.609,LH
main90564-S0034i202411
T=2.581,LH
main90564-S0035i202411
T=2.553,LH
main90564-S0036i202411
T=2.525,LH
main90564-S0037i202411
T=2.497,LH
main90564-S0038i202411
T=2.469,LH
main90564-S0039i202411
T=2.441,LH
main90564-S0040i202411
T=2.413,LH
main90564-S0041i202411
T=2.385,LH
main90564-S0042i202411
T=2.357,LH
main90564-S0043i202411
T=2.329,LH
main90564-S0044i202411
T=2.302,LH
main90564-S0045i202411
T=2.274,LH
main90564-S0046i202411
T=2.246,LH
main90564-S0047i202411
T=2.218,LH
main90564-S0048i202411
T=2.190,LH
main90564-S0049i202411
T=2.162,LH
main90564-S0050i202411
T=2.134,LH
main90564-S0051i202411
T=2.860,LH
main90564-S0052i202411
T=2.888,LH
main90564-S0053i202411
T=2.916,LH
main90564-S0054i202411
T=2.944,LH
main90564-S0055i202411
T=0.76,RH
main90564-S0056i202411
T=0.79,RH
main90564-S0057i202411
T=0.81,RH
main90564-S0058i202411
T=0.84,RH
main90564-S0059i202411
T=0.86,RH
main90564-S0060i202411
T=0.89,RH
main90564-S0061i202411
T=0.91,RH
main90564-S0062i202411
T=0.94,RH
main90564-S0063i202411
T=0.97,RH
main90564-S0064i202411
T=0.99,RH
main90564-S0065i202411
T=1.02,RH
main90564-S0066i202411
T=1.04,RH
main90564-S0067i202411
T=1.07,RH
main90564-S0068i202411
T=1.09,RH
main90564-S0069i202411
T=1.12,RH
main90564-S0070i202411
T=1.14,RH
main90564-S0071i202411
T=1.17,RH
main90564-S0072i202411
T=1.19,RH
main90564-S0073i202411
T=1.22,RH
main90564-S0074i202411
T=1.24,RH
main90564-S0075i202411
T=1.27,RH
main90564-S0076i202411
T=1.30,RH
main90564-S0077i202411
T=1.32,RH
main90564-S0078i202411
T=1.35,RH
main90564-S0079i202411
T=1.37,RH
main90564-S0080i202411
T=1.40,RH
main90564-S0081i202411
T=1.42,RH
main90564-S0082i202411
T=1.45,RH
main90564-S0083i202411
T=1.47,RH
main90564-S0084i202411
T=1.50,RH
main90564-S0085i202411
T=1.52,RH
main90564-S0086i202411
T=1.55,RH
main90564-S0087i202411
T=1.57,RH
main90564-S0088i202411
T=1.60,RH
main90564-S0089i202411
T=1.63,RH
main90564-S0090i202411
T=1.65,RH
main90564-S0091i202411
T=1.68,RH
main90564-S0092i202411
T=1.70,RH
main90564-S0093i202411
T=1.73,RH
main90564-S0094i202411
T=1.75,RH
main90564-S0095i202411
T=1.78,RH
main90564-S0096i202411
T=1.80,RH
main90564-S0097i202411
T=1.83,RH
main90564-S0098i202411
T=1.85,RH
main90564-S0099i202411
T=1.88,RH
main90564-S0100i202411
T=1.91,RH
main90564-S0101i202411
T=1.93,RH
main90564-S0102i202411
T=1.96,RH
main90564-S0103i202411
T=1.98,RH
main90564-S0104i202411
T=2.01,RH
main90564-S0105i202411
T=2.03,RH
main90564-S0106i202411
T=2.06,RH
main90564-S0107i202411
T=2.08,RH
main90564-S0108i202411
T=2.11,RH
main90564-S0109i202411
T=2.13,RH
main90564-S0110i202411
T=2.16,RH
main90564-S0111i202411
T=2.18,RH
main90564-S0112i202411
T=2.21,RH
main90564-S0113i202411
T=2.24,RH
main90564-S0114i202411
T=2.26,RH
main90564-S0115i202411
T=2.29,RH
main90564-S0116i202411
T=2.31,RH
main90564-S0117i202411
T=2.34,RH
main90564-S0118i202411
T=2.36,RH
main90564-S0119i202411
T=2.39,RH
main90564-S0120i202411
T=2.41,RH
main90564-S0121i202411
T=2.44,RH
main90564-S0122i202411
T=2.46,RH
main90564-S0123i202411
T=2.49,RH
main90564-S0124i202411
T=2.51,RH
main90564-S0125i202411
T=2.54,RH
41302CASE SUB-ASSY, REAR DIFFERENTIAL
main41302-0K020i202408
DIFFERENTIAL LOCK-WITH
main41302-0K030i202411
DIFFERENTIAL LOCK-WITH
41302ABOLT(FOR REAR DIFFERENTIAL CASE)
main90105-F0003×12i202411
main90105-T0268×12i202408
main90105-T0346×10i202409
41342SHAFT, REAR DIFFERENTIAL PINION
main41342-0K070i202408
main41342-0K080i202408
DIFFERENTIAL LOCK-WITH
main41342-0K130i202409
41342BPIN, STRAIGHT (FOR REAR DIFFERENTIAL PINION SHAFT)
main90250-T0006i202408
main90250-T0028i202409
41351WASHER, REAR DIFFERENTIAL PINION THRUST
main41351-0K040×2i202408
main41351-0K050×4i202408
DIFFERENTIAL LOCK-WITH
main41351-0K080×2i202409
main41351-60040×4i202411
DIFFERENTIAL LOCK-WITH
41361WASHER, REAR DIFFERENTIAL SIDE GEAR THRUST, NO.1
main41361-0K110×2i202408
T=1.45
main41361-0K300×2i202408
T=1.50
main41361-0K310×2i202408
T=1.55
main41361-0K320×2i202408
T=1.60
main41361-0K330×2i202408
T=1.65
main41361-0K340×2i202408
T=1.70
main41361-0K350×2i202408
T=1.75
main41361-0K360×2i202408
T=1.80
main41361-0K370×2i202408
T=1.85
main41361-0K380i202408
T=1.1; T=1.1,DIFFERENTIAL LOCK-WITH
main41361-0K390i202408
T=1.2; T=1.2,DIFFERENTIAL LOCK-WITH
main41361-0K400i202408
T=1.3; T=1.3,DIFFERENTIAL LOCK-WITH
main41361-0K410i202408
T=1.4; T=1.4,DIFFERENTIAL LOCK-WITH
main41361-0K460i202411
T=1.1; T=1.1,DIFFERENTIAL LOCK-WITH
main41361-0K470i202411
T=1.2; T=1.2,DIFFERENTIAL LOCK-WITH
main41361-0K480i202411
T=1.3; T=1.3,DIFFERENTIAL LOCK-WITH
main41361-0K490i202411
T=1.4; T=1.4,DIFFERENTIAL LOCK-WITH
main41361-0K550×2i202409
T=1.50
main41361-0K560×2i202409
T=1.55
main41361-0K570×2i202409
T=1.60
main41361-0K580×2i202409
T=1.65
main41361-0K590×2i202409
T=1.70
main41361-0K600×2i202409
T=1.75
main41361-0K610×2i202409
T=1.80
main41361-0K620×2i202409
T=1.85
main41361-0K630×2i202409
T=1.90

22 parts on this diagram · 8 diagrams in section

REAR AXLE HOUSING & DIFFERENTIAL — Toyota Parts Diagram with OEM Numbers & Prices | EPC Data